前几年许多人买了简单的录放机,由于这种机器很像砖头,人们都把它叫做“砖头机”。几年来它们的磁头已经磨损了,趁着更换磁头之机,不妨将它改成多功能录音机。题头上画出了更改之后的外型,从表面看面板上仅仅多了三个控制开关,侧面多了一个旋钮。图1是改进之后的控制电路图,下面结合图1谈谈这几种新增加的功能。

1.单面双次录音 一般简易录放机都是使用单声道录放磁头,由于这种磁头只有一条缝隙,所以磁带上每一面只能录一次音(如图2a)。如果将原来的单声道录放头换成双声道录放头,再用一个双刀双位开关控制(如图3),则录出的带子每面有两条磁迹(图2b)。也即当K\(_{2}\)置“1”时进行第一次录音,把磁带倒回再将K2置“2”进行第二次录音。这样,一盘C-60盒式磁带共可录制2小时,相当一盘当两盘用。由于此时K\(_{3}\)置于“快”位,磁带的速度为4.76厘米/秒(标准速度),所以这种功能并未改变原机的频响指标,既可录语言节目也可录音乐节目。它的特点是不但提高了磁带的使用率,而且适于快速比较同一面的两个节目。所以特别适合学生学习外语或演员练唱。这项功能的改装要点是:K2开关应尽量离录放磁头近些。由于各人的机器有别,安放位置不能一一列举。图4是在“丽声”机上改装的示意图。将K\(_{2}\)、K3的安装支架放在按键与磁头之间的空闲处,由于很近,磁头至K\(_{2}\)的接点可以不用屏蔽线联接。但若K2与磁头离得远时,必须用金属屏蔽线联接。




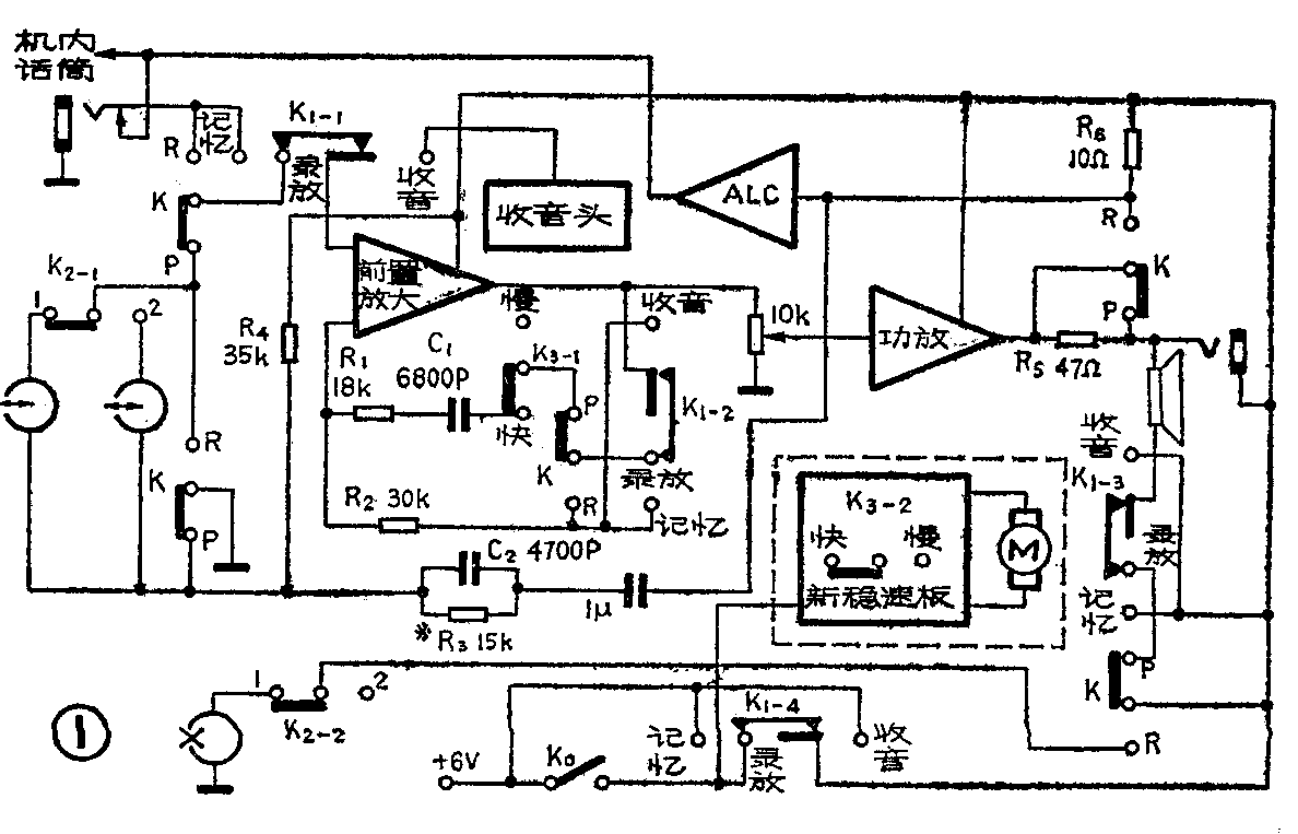
2.慢速录、放音 图5是一个集成稳速电路,图6是它的印刷版图。它能将盒式录音机的马达降速运转,并使磁带的速度从4.76厘米/秒降低到1.19厘米/秒。因此使磁带的走带时间延长至原来的4倍。也即一盘C-60盒带,每面的走带时间从30分钟延长到两小时。加上单面双次录音功能,即可实现一盘盒带当八盘用!这一改动的特点是:不但大量节约磁带,由于传动机构慢速运行,可使机芯的寿命延长。此外,由于走带时间延长了,因此可实现自动录制两小时以内的广播节目。应该说明,这种慢速录、放音只适于语言节目,例如录放外语、相声、评书、电话、报告等节目、均能获得较好效果。此项功能的装置要点是:将直流马达的正极(即接正电的一端)接到图6中的a点,将负极接b点;也可将马达后盖打开,将原来的稳速电路取出,把新的稳速板放进马达中去,两种方法前种效果好些。此外,在面板的适当位置安装一个K\(_{3}\)开关控制马达的转速。当K3-2置“快”位时仍按4.76厘米/秒的速度走带,与此同时K\(_{3}\)-1将前置放大器原来的均衡网络接入电路,因此保持了原机的录放性能。当K3-2置“慢”位时,磁带以1.19厘米/秒的速度走带,由于速度慢了,K\(_{3}\)-1应将新的均衡网络接入电路中,由于各人的机器不同,网络数据不能一一列举,但趋势是R1阻值应增大,C\(_{1}\)容量应减小。由于本机慢速放音时不接入均衡网络效果最好,所以K3-1就空着了。这项改动还有一个调整问题,方法是:在压带轮上点一个白点作为记号。改装之前,把放音时压带轮上的白点转10圈所需的时间作为T\(_{1}\)(通常是9秒左右),改装之后当K3置“快”位时,调整W(图5)使压带轮转10圈所需时间仍为T\(_{1}\)。当K3置“慢”位时,调整R\(_{2}\)阻值(图5)使压带轮转10圈所需的时间为T2=4T\(_{1}\)(约36秒)。这样带速就算调好了。最后在面板的适当位置打孔,安装一个双刀双位开关作为K3,参考图1、图5、图6进行联线。

3.磁感录音 在收音机、电视机、录音机、电话机等家用电器周围,除了有大家熟悉的声波外还存在着音频磁场。这种“磁波”是由音频变压器、扬声器音圈、及各种电感件产生的,因此我们可以利用这一现象进行“不接触”式检拾。图7是一只带有吸盘的磁感拾音器。吸盘是用橡胶制成的,内部空间装着一个有铁芯的线圈。线圈的两个头用引线接到一个插头上。将此插头插到盒式录音机的话筒插孔内,然后将吸盘吸附在上述各种电器外壳的适当位置上,即可检拾音频磁场,进行录音。其特点是使用方便,且不必考虑环境嘈杂声对录音的影响,因为磁感拾音器对声波毫无反映。这种录音方法除了用于家庭录音外,对工矿企业的调度指挥,电话增音,公安工作等均很有益。这项制作的要点是:选用的磁芯其磁通密度必须在2000~2500高斯以上,还应注意磁芯不要形成闭合磁路,例如图8中下面两种就是错误的。在上述磁芯条件下,一般绕1500~2500圈约能输出0.3~0.5mv而且高低音均能令人满意。


4.记忆增强 一般,人们说话时自己听到自己的声音是经过骨传导实现的。医学证明,如果自己的话声通过空气传导再进入耳中,将会增强记忆。我们在面板上增设了一个收音一录放一记忆转换开关。从图1中可见当K1置于“记忆”位时,马达不能供电,话筒被接到放大器输入端。再将耳塞插入耳机插孔,面对机内话筒讲话,即可从耳塞中听到自己的声音。由于我们将两只耳塞串联在一起接到同一个插头上,这样双耳可同时听到自己的声音、避免了外界的嘈杂声干扰。
5.内录广播节目 我们用SL-315做成一只收音头,印板面积仅50×50(mm)\(^{2}\),安装在机芯背面,双连电容安装在侧面内壁,旋钮露在外面,通过K\(_{1}\)(四刀三位)控制电源通断。当K1位于“收音”时,即可听广播。如果将录放开关K置于“录音”位,便可录制广播电台的节目了。爱好者可根据各人机器的具体情况灵活掌握,找一个合适的空间安装收音头。函购消息见第48页。(龙国安 高京君)