杠杆开关是滑动式开关中的一大门类。这一门类约占80个品种。在我国目前已有7个厂家生产这种开关,其中北京无线电元件九厂,年产量在60万支以上,即将形成全系列生产。
杠杆开关的外形见图1所示。这种开关扳动省力、定位清楚、构成位数较多,而且种类较多,选用方便。此开关触片的一端可直接焊在印刷线路板上,给整机结构设计带来方便。因此杠杆开关被广泛地运用在手提式、台式的中、高档收录机中。主要用途如下:

1.波段开关:如作为中波、短波Ⅰ、短波Ⅱ及调频等波段转换用。
2.功能开关:作为收音、录放及电唱等不同功能的转换用。
3.声道转换:作为单声道、双声道及声道扩展等转换用。
4.磁带选择:作为使用普通磁带、二氧化铬磁带及金属磁带等不同磁带时转换用。
5.杜比开关:用来接入或断开杜比降噪电路用。
构造
杠杆开关的结构见图2a,它有以下几个部分组成:

<1>定位部份:由手柄、杠杆压簧、限制件、外壳1及半空芯铆钉组成。
<2>接点部份;由安装板(酚醛纸板)及铆装在它上面的触片组成。这些触片的一端可直接焊在印刷线路板上,另一端在开关的内部构成开关的接点。
<3>转换部份:由滑块及动触片(磷青铜片复银的活动接点)组成。由滑块带动动触片停顿在不同位置上时,把不同的接点接通。
<4>结构部份:由外壳1及外壳2组成,把所有零件连接成整体。
工作原理
此开关的手柄是套在杠杆的右部,把短粗的杠杆接长成杆形。当向下或向上扳动手柄时,杠杆左端就以铆钉为支点上下活动,因此称杠杆开关。由于杠杆下部有一个小凸头,见图2b,正好嵌入滑块的凹槽中,当上、下扳动手柄时,杠杆下部的小凸头就带动滑块左、右移动。而滑块带动了动触片移动,使某些接点接通或断开。
KHG型号中文字的含义如下:K—表示开关;H—表示滑动式;G—表示操纵部位为杠杆式。
接点间的接触方式
进口收录机中滑动式开关接点的接触方式不外乎以下两种:
①Ⅰ型,又称短路型接触方式。下面以四刀三位杠杆开关为例来加以说明。在安装板上铆装两排触片,每排又分两组,如图3a所示,每组有一个动触片、一个刀触片(0)和三个位触片,四刀开关就有四组触片。把动触片、刀触片、位触片用图3b符号来表示,就可画出原理图如图3c所示。很明显,动触片在左边、中间、右边三个不同位置时,就可使0触片依次与3、2、1触片接通。

②Ⅱ型,又称非短路型接触方式。此种开关接点结构如图4a所示。下面以四刀三位开关为例,将四组触片取出一组,用原理图表示如图4b。

选用哪种接触方式的开关为好,这要根据线路的要求来决定。
目前国内生产的杠杆开关大多按照第Ⅰ种接触方式来设计的。
种类与选用
杠杆开关规格有多种,除刀数、位数、触片间距离及触片排距等方面各不相同外,还有如下区别:
(1)按手柄位置分,有前扳动式、背扳动式两种,如图5所示。

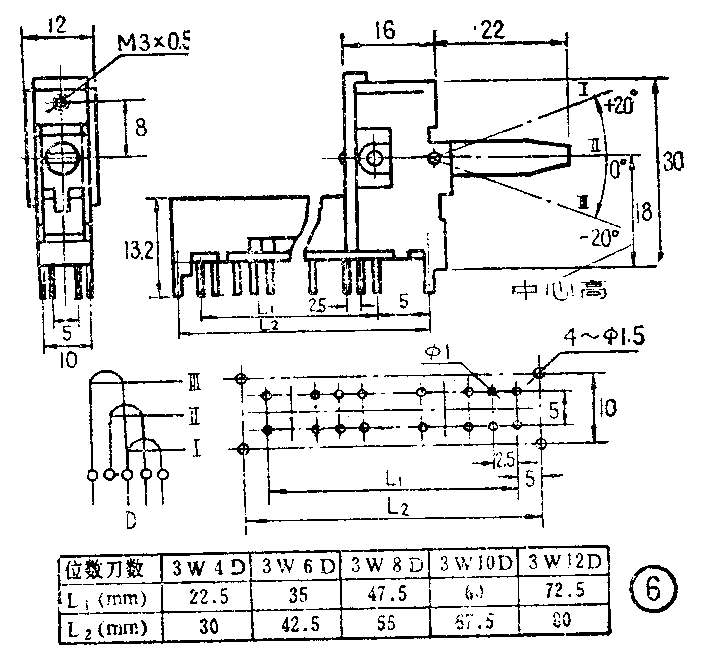
(2)按手柄中心高来分有12.5、18及23毫米几种,图6所示开关,它的中心高为18毫米。

(3)按手柄扳动角度(每位)来分,有15°、20°30°及40°。图6所示开关,手柄扳动角为20°。
在选用杠杆开关时应注意以下几点:
(1)为了使整机面板上开关及电位器轴柄高度一致,以增加美观,在选用开关时,手柄中心高应参照电位器而定。
(2)不同的开关,手柄扳动角度不一样。如需要在面板上标注文字或数字,应注意文字间的距离应与手柄位置相对应。
(3)有些开关尽管规格相同(刀数、位数、触片间距、排距相同),但由于生产厂不同,外壳上四个焊脚的位置不一定相同。进口机器上的开关更是如此,在更换时要仔细核对,挑选合适的换上。(北京无线电元件九厂 王志长)