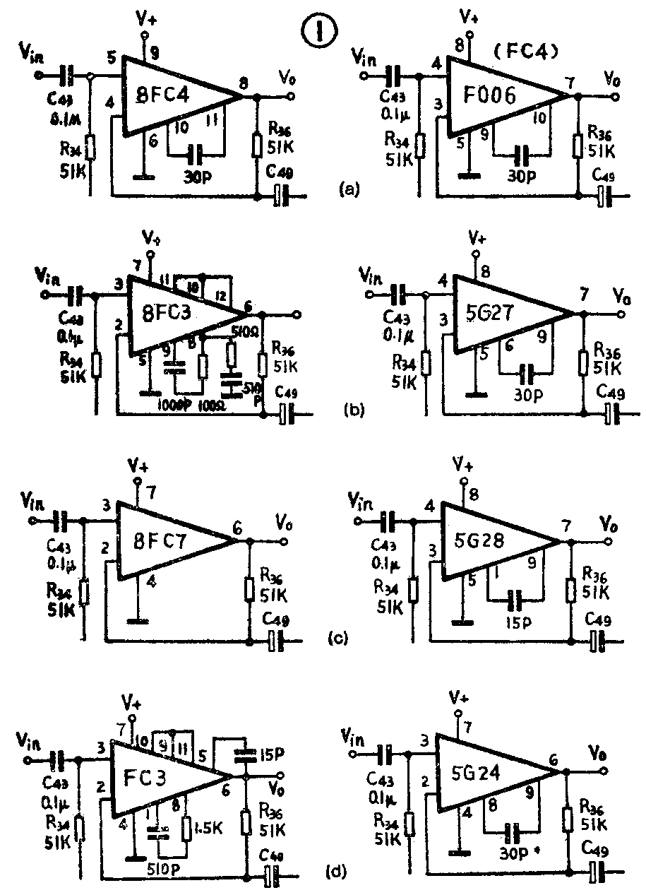
1.1982年11期第2页介绍的“适合业余制作的落地式收音机”中,末级用8FC2I作主放大器,能否用其他型号的运算放大器代替?应注意什么?
答:经实验,该电路除用8FC2I以外,还可以用8FC4、8FC3、8FC7、8FC1、FC3、F006(FC4)、5G27、5G28、5G24等运算放大器代替。使用这些运放块时应注意管脚排列不一定与8FC2I相同。另外这些运放块的防振网络也各不相同,图1是这些运放块的典型使用线路,供读者参考。

2.业余条件下怎样粗略估计运放块的性能优劣?
答:在功率放大器中使用运放电路,主要是关心它的耐压和放大能力。为达到输出6~10W音频功率,该机供电电压为24V~32V,因此选用的运放块耐压不应低于上述工作电压。无专用仪器测量时,可借助晶体管图示仪测量电源脚(8FC2I测5,7脚)的伏安特性。测量时应将图示仪的串联保护电阻旋于较大(2KΩ以上)位置,逐渐加大供电电压(即X轴横坐标)。起始段随电压增加,电流缓缓增加。到达某一电压值时,电流突然增高(图2)。这个电压即可认为是它的极限电压。如无图示仪,也可按图3接线,当电压增加到某一数值时,漏电流突然增加(8FC2I为4~8mA),此时的电压即可认为它的极限工作电压。


运放块的放大能力可按图4接线粗略测量。由小到大改变运放块的输入电压,输出电压应随着改变,并与输入电压值基本相等。而输入电压小于某一数值,或大于某一数值时,输出电压不随输入而变,这两个电压值的差即为该运放块的动态范围。如果输入电压不管怎么变输出均不变,这样的运放块不能上机使用。

3.怎样判断运放块是否有自激?怎样消除?
答:有条件最好用示波器监测输出波形,也可用万用表交流10V档监测8FC2I的输出。参照1982年11期第3页图。断开C\(_{43}\)此时8FC2I第6脚不应有输出,如看到有正弦或脉冲等杂波或万用表有指示,说明存在自激。此时可加大C46、C\(_{47}\)、C48及R\(_{4}\)0、R41的数值,直至消振为止。但是C\(_{46}\)、C47越大越容易影响频响指标。有时无输入信号时无自激,只要加上输入信号就出现自激,而且信号越大自激越严重。这种寄生振荡可加大C\(_{5}\)0或增减C48来解决。对于8FC3除在8、9脚串接阻容消振外,也可在8脚与地之间接入1000pF电容及510Ω电阻串联网络加强消振。运放块自激会使功放管BG\(_{9~12}\)的电流很大。因此在消除自激之前最好将BG9、10的基极断开。排除自激之后再接上。
4.运放块输入端直流电压正常,但输出端电压过高(或过低),如何解决?
答:输入端电压正常,输出端直流电压失常的主要原因是:①C\(_{49}\)漏电或耐压不足,会导致输出端电压偏高,可断开C49试试。②运放块耐压不足常造成输出电压低,可降低运放块供电电压试试。③BG\(_{9}\)或BG10不良或焊接有误,可将此两管基极断开试试。④R\(_{36}\)、R44阻值不对或BG\(_{8}\)有虚焊。⑤对于内有射极跟随器的运放块(如8FC2I、8FC3等)。由于所用的是射随器的两个输入端(2、3脚),其中一个PN结损坏,也会造成输出端电压失常。此时可以越过射随器直接接下一级的输入脚(1或4脚)。这样处理会使输入阻抗降低,平衡能力变差,但尚可勉强使用。
5.整机交流声、噪声均大,怎么办?
答:可从后往前逐级断开耦合电容C\(_{43}\)、C42、C\(_{39}\)等,判断交流声来自哪级。也可检查整流滤波元件D7~D\(_{1}\)0、C55及运放块偏置电路的滤波电容C\(_{44}\);此外运放块耐压不够也会产生交流声,可降低供电电压试试。如断开C43后交流声消失了,则故障出在前级。应检查各滤波电容C\(_{53}\)、C45、C\(_{41}\)、C13等,可用同容量电解电容代换试试。BG\(_{7}\)作为低放前级的稳压滤波器,对整机交流声级关系很大。应尽量用高β管。噪声的来源主要是运放块自激,BG5不良而造成。如BG\(_{5}\)自激,可加大C38(100~1000PF)来解决。BG\(_{6}\)的β不宜过高,否则易自激。可在集电极至基极并联一只100pF电容来解决。(刘永华)