这块万用表共有5档28个量程,采用插接的方式完成量程转换。由于用差分电路构成等效表头,这样就把原微型表头的灵敏度提高了数十倍。本表还配有高频探头,可测量150MHz以下的高频电压值。电源用3节R9型钮扣电池,耗电很省。整个仪器的体积为100×52×26(mm),重量只有150克。
该万用表的直流电压档为0.25、2.5、25、50、250、500(伏);直流电流档为25μA、250μA、2.5mA、25mA、250mA、2.5A;交流电压、交流电流档同直流档;直流电阻档为R×1、R×10、R×100、R×1K。
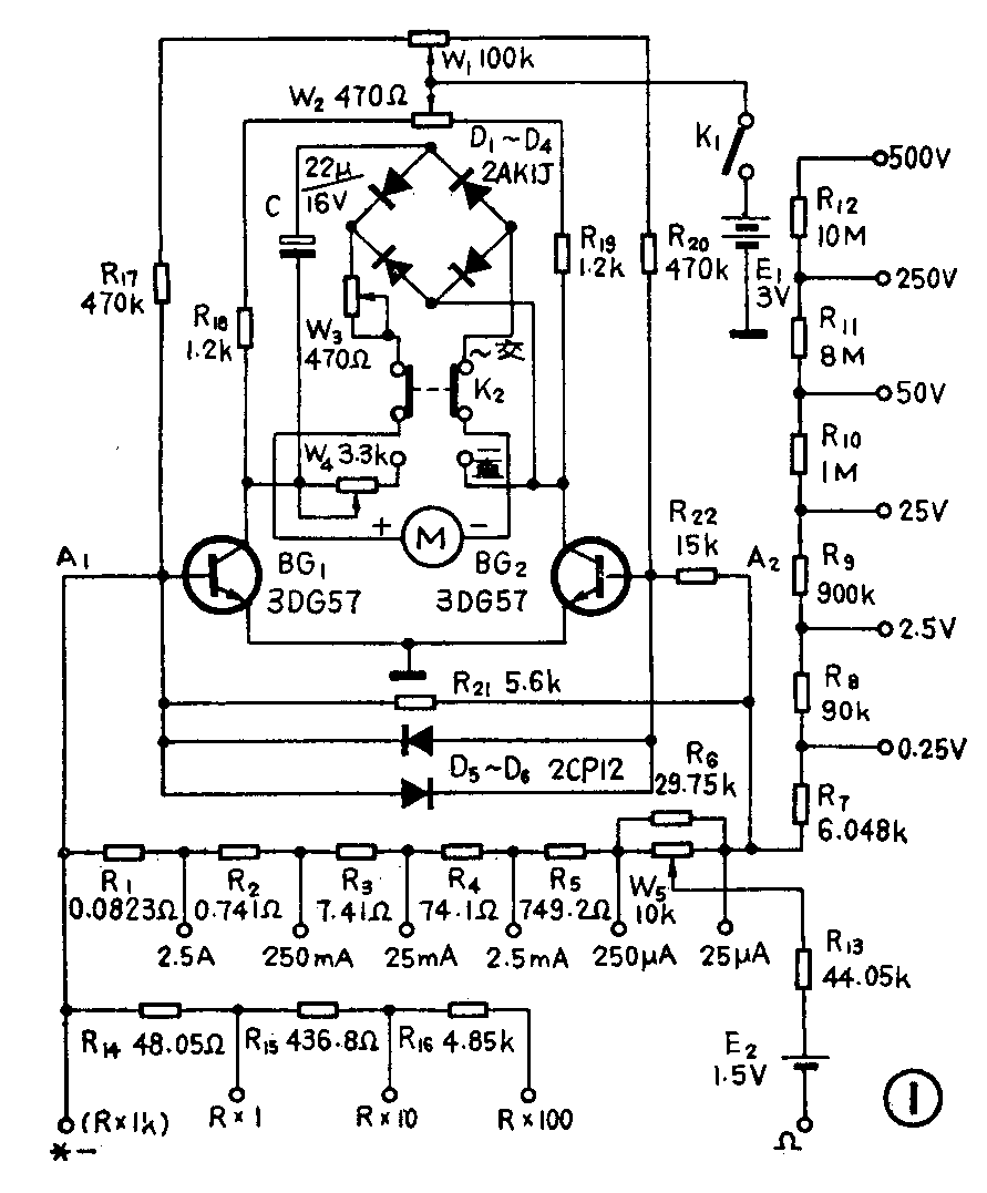
电路原理
电子万用表电路见图1。晶体管BG\(_{1}\)、BG2等组成差分放大器,由于差分管BG\(_{1}\)、BG2两侧电路基本对称,所以较好地抑制了零点漂移。BG\(_{1}\)、BG2集电极输出的差模信号经“交、直流转换开关”K\(_{2}\)送至表头。当K2置于“交流”位置时,放大的交流信号经D\(_{1}\)~D4桥式整流电路变成直流后,再加至表头。这样,电流档的测量变换电路R\(_{1}\)~R6、电压档变换电路R\(_{7}\)~R12等就可以交、直流共用,简化了电路结构。图中W\(_{1}\)为开路调零电位器,W2是闭路调零电位器,W\(_{3}\)为调交流灵敏度电位器,W4为调直流灵敏度电位器。如果从A\(_{1}\)2两端看进去,这部分电路就是一个等效的微安表头,二极管D\(_{5}\)、D6是等效表头的过压保护二极管。R\(_{21}\)、R22分别是等效表头的分流、分压电阻。在保证等效表头灵敏度的前提下,△I\(_{b}\)越小,差分管的输入特性就越接近于直线,表头的线性也就越好。因此,选取β值大的晶体管作差分管,以便取得良好的线性。通常我们通过增、减R21、R\(_{22}\)阻值的方法来改变△Ib。高频探头电路见图2,这是一种倍压整流电路。


元器件选择与安装
晶体管BG\(_{1}\)、BG2宜选用β≥50±2%的塑封管,最好把两管捆在一起,以抑制温漂。图1中的分流、分压电阻大都不是整数,但可用直流电桥从1/8瓦的系列电阻中挑选(普通电阻有10%的误差)。电阻R\(_{1}\)、R2分别用0.25和0.16mm的漆包线绕在1/8瓦、1兆欧的电阻上,R\(_{1}\)上约绕十几圈,R2上绕几十圈,用电桥测准其阻值就可以了。W\(_{1}\)~W4均用普通小微调电位器。W\(_{5}\)用1瓦有机实心电位器。K1、K\(_{2}\)均用KNX型双刀二位钮子开关。仪器用的插头、插座是半导体收音机上的天线插头、插座。表头M用录音机电平表(I0=260μA、R\(_{0}\)=866Ω),将原指针换掉,用线径为0.25mm的漆包线重作一个长指针按上,然后再调一下平衡。
印制电路板见图3(1:1)。分流、分压电阻直接焊在面板背面的插座焊片上。万用表的内部结构见图4(a)、(b)。图3(a)的电路板借用K\(_{1}\)、K2和W\(_{5}\)的固定螺丝被固定在面板背面。为了将三只钮扣电池固定在3(b)有铜箔的一面,先找一块宽为5mm的马口薄铁皮,剪成三段,分别弯成不闭合的圆环以免短路负板铜箔,正好能套住钮子电池。将三个圆环焊在图3(b)上,再将钮子电池放在圆环里。电池的“-”极朝下,由印刷线引出;电池的“+”极朝上,由于圆环裹着电池,将圆环焊在印制板上,正极就接到电路中。每一块电池旁有一螺钉,上面固定一铜片,用以把电池压住,取电池时将铜片向旁边一推即可。万用表的外壳与今年第一期“晶体管直流参数测试仪”相同,外壳及面板见图5。



调试与使用
调试工作分四步进行。1.调表头平衡:接通电源并将K\(_{2}\)置于“直流”位置,调W1使表头M回零。把BG\(_{1}\)、BG2的两基极短接,调W\(_{2}\)使表头回零。这样反复调W1、W\(_{2}\)几次,使表头无论在开路状态还是在闭路状态下,都为零。差分管BG1、BG\(_{2}\)的集电极电压应为1.5伏左右,否则应调R17、R\(_{2}\)0的阻值。2.校准25伏直流档满度值:将稳压电源输出的25伏直流电压加在该表的公共端(*)及“25V”插孔内,然后调W4使表头满度。3.校准25V交流电压档满度值:由调压器把市电降低至25V并加在“*”及“25”插孔,K\(_{2}\)置于“交”流位置,调W3使表头满度。校准交、直流满度值都是以原表头度盘为准的。4.逐点定刻度:由于等效表头的非线性,对于β值不同的差分管来说,表盘刻度有些差异。因此,该表的表盘刻度要逐点来定。定刻度时,先在原表盘上粘一张白纸,画好圆弧和始、末端,然后对25V直流电压档、25V交流档和R×1Ω档,分别作好刻度标记,再把表盘取下,用描图纸精描一张底图,用照片的方法复制一张表盘照片,并用专门染照片的“棕色调色剂”把表盘的黑色染成棕色,以便区别面板上的其它黑色底色,辨认刻度方便。
这块万用表的使用方法比较简单,测量时,都以“*”端为公共端,表笔另一端接不同的量程插孔即可。(张建民)