一、定时电路
定时电路是指电路启动后输出端立即变换输出状态,经过一定时间t后,恢复原输出状态的这类电路。输出端可以是原为低电平,启动后立即变为高电平,经一定时间t后,又由高电平恢复为低电平,以后就维持在这个低电平;也可以是输出端原为高电平,启动后立即变为低电平,经一定时间t后,又由低电平变为高电平,以后维持为高电平。定时时间t是个可调的不定常数,一般t可以是几秒、几分、几十分甚至更长的时间。
图1a是用一个CMOS D触发器组成的定时电路,只用了一片“CO43双D触发器”的一半。工作原理很简单,按一下启动按钮AN之后,D触发器的置位端S=“1”,使输出端Q=“1”、Q-=“0”,经非门F\(_{1}\)反相后,输出CP为高电平。二极管D因反偏而截止,电容C1通过电阻R\(_{1}\)、电位器RW充电,使D触发器的复位端R点的电压V\(_{R}\)按指数曲线上升。经时间t后,VR上升到足以使D触发器复位,立即使Q=“0”、Q-=“1”,输出端由高电平变为低电平。t=0.7(R\(_{1}\)+RW)·C\(_{1}\)。当R1=200KΩ、R\(_{W}\)=1MΩ、C=220μF时,定时控制时间t可以从30秒调到3分钟。图1b表示各点相应的波形。

去掉非门F\(_{1}\),就变成低电平定时电路。
图2是应用CMOS 555对基集成电路组成的定时电路。用这种集成电路组成定时电路更为简单,图2a是输出高电平定时电路,图2b是输出低电平定时电路。定时时间t=1.1R·C,它可以获得几十微秒到几十分钟之间的定时。

因为这类电路的定时时间都和电容的充放电曲线有关,所以定时时间t不可能很精确,重复性也不会太好,采用小电容大电阻的电路,比采用大电容小电阻的电路,t的重复性会较好些。
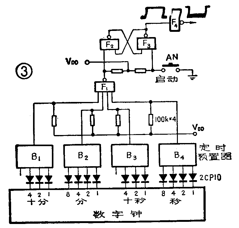
如果想得到精确定时电路,可以采用数字钟(例如本刊1983年第2期介绍的石英晶体钟)再加一组预置数字控制,如图3所示。与非门F\(_{2}\) 和F3组成RS触发器,与非门F\(_{1}\)是数字钟预置时间用的控制门。按一下启动按钮AN,F3 输出端由低电平变成高电平,使与非门F\(_{4}\)输出端变为低电平。当数字钟走到预置时间,使控制门F1的四个输入端都为高电平,门F\(_{1}\)输出端变为低电平,使门F2、F\(_{3}\)组成的RS触发器翻转,门F3输出端便恢复到低电平,门F\(_{4}\)输出端恢复高电平,门F4的输出可用以控制继电器等执行机构,这就实现了定时控制。图3中的B\(_{1}\)4是四个拨盘开关,用以预置时间,秒十位和分十位只有0~5六个数,所以从数字钟引出的秒十位和分十位的代码引出线只有三根,不需最高位。拨盘开关的输入端与输出端间,通过二极管2CP10和100KΩ电阻组成与门,只有当输入信号达到拨盘上预置的数字时,拨盘开关的输出端才为高电平。定时电路的应用相当广泛,例如理疗作红外线照射、针炙等时,需要定时控制;烤面包、糕点等时也需要定时;照片冲洗、洗衣机正反转等等都需要用到定时装置。

二、IC延时电路




在脉冲电路中,为了配合时序,经常要用到延时电路;此外,如继电器的延时吸合、延时释放,互锁与自锁的延时作用等方面也离不开延时电路。与定时电路相比,延时电路的时间常数一般比较短,可以是几十微秒、几毫秒或几秒、几十秒。图4和图5是两种用一片CMOS J210“两组单稳态电路”组成的延时电路。图4是用上升沿触发的延时电路,即输入端接收到一个脉冲上升沿,延迟时间τ后,从输出端(Q\(_{2}\))送出一个上升脉冲。图5是用下降沿触发的延时电路,即输入端接收到一个脉冲下降沿,延迟时间τ后,从输出端(Q2)送出一个上升脉冲。输出与输入的波形关系亦示于图中。延迟时间τ决定于时间常数R\(_{1}\)C1,延迟脉冲的宽度决定于时间常数R\(_{2}\)C2。图6和图7是用12片CMOS C40106“六施密特触发器”组成的延时电路。图6采用上升沿触发,图7采用下降沿触发。输出与输入的波形关系示于图中。图6中的延迟时间:
τ=R\(_{1}\)C1ln(\(\frac{V}{_{DD}}\)/VT-);
图7中的延迟时间:
τ=R\(_{1}\)C1ln(\(\frac{V}{_{DD}}\)/VDD-V\(_{T}\)+)。
式中V\(_{DD}\)为电源电压,VT-为施密特触发器的负向阈值电压,V\(_{T}\)+为施密特触发器的正向阈值电压。(凌肇元)