一、暗房曝光定时器
这种暗房曝光定时器仅使用了一个CMOS与非门和一个三极管,以一个双向可控硅作安全灯和曝光灯的换接开关,省去了继电器,因而元件少,结构小巧,重复精度高,定时分隔合理直观。
电路见图1。按一下按钮AN,与非门YF的输入为高电平,输出为低电平,晶体管BG导通,自双向可控硅KS的第二阳极T\(_{2}\)→门极G→晶体管BG的发射极→集电极有一股约15mA的电流流通,这股电流使KS开通,安全红灯被短路,曝光灯接通220V电源电压灯亮。

随着12V电源对电容器C的充电,与非门输入端A点电位U\(_{A}\)随时间延长而下降,当UA达到与非门的阈值电平时,与非门输出转换为高电平,晶体管BG截止,双向可控硅关断。这时曝光灯和安全灯串接后接到220V电源,因两灯泡功率相差悬殊,所以绝大部分电压降落在安全灯两端,安全灯亮、曝光灯熄(两端电压在15V左右)。如果不按动按钮AN,则U\(_{A}\)继续下降,而双向可控硅状态不变,灯的亮暗情况不变。
若要进行第二次印放,只需再按一下按钮AN。在按下AN时,电容C通过接点0—2放电,而按钮的常闭接点0—1断开,使双向可控硅因无门极电流而关断,只有当按钮弹起时,曝光灯才又开始点亮(安全灯熄)并计时。曝光时间通过改变电阻R设定,R与定时时间t的关系为:R=\(\frac{t}{C(l}\)\(_{n}\)VDD-l\(_{n}\)Vin)≈t;0.7C式中V\(_{in}\)为与非门的转移电平(阈值电平),一般在40%~60%VDD之间,上式中取V\(_{in}\)=0.5VDD。
R由两只1×11波段开关和20只串接电阻组成,各档定时值与面板定位的对应关系见图2。最短定时值0.2秒,最长1分钟。定时值为两只波段开关所对应的读数之和。例如两开关分别拨在10和3,则定时为13秒;如分别拨在0.4和4(如图2所示),定时4.4秒。

定时器的调整很简单,将定时开关拨在15秒钟处(定时长易调准),改变电容C,使延时时间为15秒即成。
装妥后接通电源,如曝光灯一直点亮,可能是电容C漏电较大,A点电位无法降至阈值电平之故,这种现象在定时较长时易发生,所以应注意选用漏电小的电容。若短定时较准确,而长定时达不到设定时间,则是波段开关潮湿漏电、使绝缘电阻降低所致,一般选用瓷板开关(KCX-11W1D型),可有效地防止这种现象。
电源变压器的容量有1VA已足够。在需要对光时,将开关K合上,曝光灯即亮,不受定时电路影响。
二、模拟天然风电子装置
为了使风扇吹出的风能像天然的风,国外已生产了具有微电脑控制的模拟天然风电子装置的电扇,它使电扇时而急骤、时而平缓、时而停息,使人们能感到像天然风一样舒适。本文介绍的模拟天然风电子装置,虽是用分立元件组装的,却也能收到这种效果。
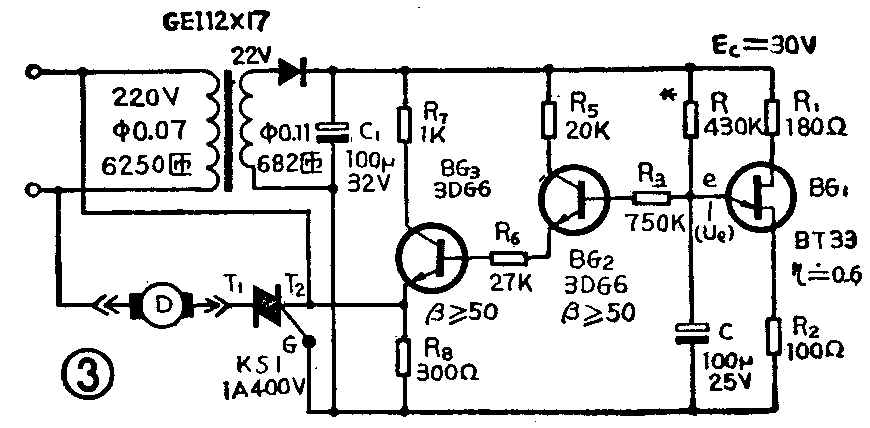
电路原理见图3,R、C和单结晶体管BG\(_{1}\)组成定时电路,控制电扇周期性地作“停止→慢速→快速→自由降速→停止”循环动作,一个周期约为30秒。在BG1发射极e的电位随电容C充电而达到峰点电压V\(_{P}\)时(VP=η.E\(_{c}\),η为BG1的分压比,这里V\(_{P}\)=18V),BG1进入负阻状态,e点电位迅速下降至谷点电压V\(_{V}\)约为4V),此时BG2发射极电位很低,通过双向可控硅KS1门极G的电流也很小,因而双向可控硅关断,电机端电压为“零”,电机静止不动。随着电容C的充电,e点电位上升,晶体管BG\(_{2}\)、BG3的基极电流都上升,可控硅门极电流也不断增加,当门极电流达到8mA时(正品的管子,在5mA以下即可开通),可控硅开始导通,此时在风扇两端约有100V电压,电扇开始慢速转动,且随两端电压的不断上升而转速不断提高。当可控硅门极电流达到12mA以上时,风扇端电压接近电源电压,风扇全速运转。数秒钟后,因e点电位又达到峰点电位V\(_{P}\)而急速下降,双向可控硅复又关断,电扇自由降速。而后,再开始第二个工作周期。

双向可控硅的门极电流、电扇端电压、转速(风力)、e点电位Ue的工作曲线如图4所示。

元件无误,按图装好后,即可按下述步骤调试:1.在风扇马达两端,并联一只220V灯泡,以便观察输出电压变化情况。2.将BC\(_{2}\)发射极断开,在EC和原BG\(_{2}\)射极处接上一只510KΩ电位器,在可控硅门极串入一只50mA量程的直流电流表(或万用表),当电位器阻值自高往下调时,灯泡应有“不亮→渐亮→亮”这一过程。若灯泡在门极电流很大时才亮,说明可控硅质量不佳,触发电流过大。3.接上BG2的发射极,撤消510KΩ电位器,此时,输出电压的变化将受e点电位影响。若灯由暗转亮后不再变化,可能是由于单结晶体管BG\(_{1}\)的分压比η太高,或电容C漏电太大。4.若输出电压已能周期性地变化(灯泡周期性地亮暗),可调整R和R6,以进一步满足使用要求。电阻R增大,周期T增大;反之,则减小。电阻R\(_{6}\)增大,图4中门极电流曲线的A点向下移动,则电扇端电压曲线的a、b点右移,且ab线段延长,升速平缓,高速运转时间减少;反之,则升速急骤,高速运转期延长。
整个装置可安装在一只塑料盒内,盒的背部有两只铜脚,可直接插入电源插座。在盒的底部有两个插孔,作为电扇的电源插座。塑料盒的外形可参看图5。

电扇的最高转速与电扇变速开关所选转速相同。(姚汉樑)