本文介绍的这种装置可以发出15种不同的音阶,这些音调可根据自己的需要调节。该装置可作音乐门铃用,也可以装在其它装饰物中。
电路原理
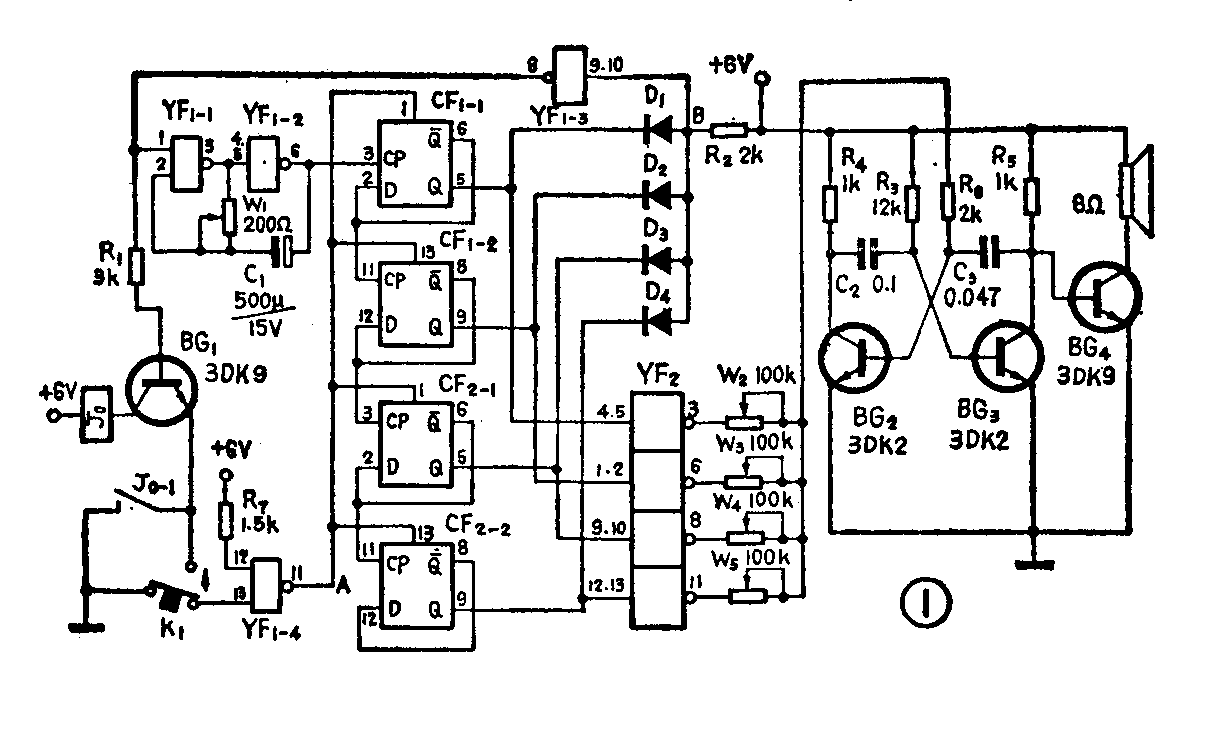
发生器的电路见图1。与非门YF\(_{1}\)-1、YF1-2、电位器W\(_{1}\)、电容C1等组成节拍振荡器;D触发器CF\(_{1}\)、CF2接成计数器;YF\(_{1}\)-3、D1~D\(_{4}\)组成符合门;YF2为控制器;晶体管BG\(_{1}\)等组成开关电路,BG2、BG\(_{3}\)等为音频振荡器,BG4为功率放大用的。

当按动开关K\(_{1}\)时,BG1的发射极接地。这时与非门YF\(_{1}\)-4的两个输入端为高电位,所以输出端为低电位,使计数器全部置零为“0000”状态。二极管D1~D\(_{4}\)全部导通,B点为低电位,YF1-3输出端变为高电位,于是节拍振荡器工作,同时晶体管BG\(_{1}\)也导通,它的集电极电流通过继电器J0的绕组,继电器吸动,其常开触点闭合,将BG\(_{1}\)的发射极接地,此时松开按钮开关K1,电路仍是接通的。
当节拍振荡器无脉冲输出时,计数器为“0000”状态,YF\(_{2}\)的4个输出端均为高电位,此高电位通过W2~W\(_{5}\)及R6加到BG\(_{2}\)的基极,于是音频振荡器工作,输出的某一频率的音频信号再经BG4放大后推动扬声器。这一音频频率主要取决于W\(_{2}\)~W5四个电阻的并联值。
当YF\(_{1}\)-1、YF1-2组成的节拍振荡器工作时,输出的第一个脉冲信号加到计数器上,计数器就变为“0001”状态。这时虽然D\(_{1}\)截止,但因D2~D\(_{4}\)仍导通,所以YF1-3、节拍振荡器、BG\(_{1}\)等仍维持工作状态。YF2的第一个非门输出为低电位,其余3个非门仍输出高电位,于是BG\(_{1}\)的偏流主要受电阻W3~W\(_{5}\)的影响,音频振荡器又输出另一频率的音频信号。这一音频频率主要取决于W3~W\(_{5}\)三个电阻的并联值。当节拍器输出第二个脉冲时,计数器翻转为“0010”状态,这时音频信号频率取决于W2、W\(_{4}\)、W5。余此类推,由于计数器从“0000”变到“1111”应有十六种状态,W\(_{2}\)~W5也应有16种排列组合的并联方式,所以音频振荡器应能有16种频率的音频信号输出。但是,由于计数器在“1111”状态时,YF\(_{2}\)输出端均为低电位,音频振荡器停振。同时,二极管D1~D\(_{4}\)均截止,YF1-3输入端为高电位,输出为低电位,节拍振荡器停振,而BG\(_{1}\)也截止,继电器释放,触点J0-1将BG\(_{1}\)的发射极与地断开,整个工作过程结束,所以该装置只能发出15个不同的音阶。调整W2~W\(_{5}\),选择自己所喜欢的音调。音调的时间长短取决于节拍振荡器的频率,调W1,可取得合适的音调延长时间。
元器件选择与安装
图中YF\(_{1}\)、YF2用T065两输入端四与非门,用其它TTL四与非门也可以,只是印刷板需重新设计。CF\(_{1}\)、CF2为T077双D触发器,也可以用其它型号的双D触发器或用2~16进制计数器。晶体管BG\(_{2}\)、BG3用3DK2或3DG6;BG\(_{1}\)、BG4用3DK9或3DG12;二极管D\(_{1}\)~D4用开关二极管。继电器可用JAG-2干簧继电器。该装置使用的电源电压为4.5~6伏之间均可。

元器件安装在图2所示的印制板上。如元器件、焊接均无误,整机一般都能正常工作。该装置的外形可根据自己的需要设计制作。(温晓明 李娅)