本刊1983年第2期介绍的,彩色电视机改制所用的PAL制解码器电路板(以下简称“P解码板”),用于其它型号NTSC制彩色电视机的改制时,可以根据被改电视机的实际电路、灵活运用。在不影响改制质量的情况下、应尽可能地充分利用机上的原有电路,以减少工作量和改制的费用。
下面以三洋牌CTR—930R彩色电视机的改制为例:说明“解码板”的活用方法。
活用情况
三洋牌CTR—930R彩色电视机(NTSC制),其解码器电路如图①所示。由图中可以看出该电路、与以前介绍的改制电视机比较,有以下几个特点。

1.采用色差激励方式:就是说三个色差信号,分别送入显象管的三个栅极。亮度信号(Y)由显象管的阴极电路送入,在显象管内进行矩阵运算,而得到三个基色信号(R.G.B)。即所谓内矩阵电路。
2.对色差信号的相位要求:由于三个色差信号送入显象管的栅极,所以对信号要求增加180°相移。原机电路用TR\(_{61}\)0和TR611,光把解出来的(B-Y)和(R-Y)信号进行倒相,然后再由(G-Y)矩阵合成(G-Y)信号。最后得到三个色差信号、激励显象管的栅极。
如果采用“P解码板”进行改制,当考虑原机电路是用三个色差信号激励显象管栅极时。粗看起来三个色差信号都要有倒相电路,才能满足相位上的要求。为此须要在(G-Y)末级管之前加一级倒相电路,并拆除原机的(G-Y)矩阵电路。——但在经过认真分析后,就可以考虑到以下的将“P解码板”灵活运用的方法。即只把(R-Y)和(B-Y)两路色差信号、分别送给TR\(_{61}\)0和TR611,把(G-Y)信号空置不用。仍使用原机的例相电路和(G-Y)矩阵电路,不必增加(G-Y)的倒相电路,实践证明完全可行。这是一点较重要的活用方法。
3.交流耦合:该电视机各级之间有耦合电容。在末级设有直流成分恢复电路。接合时可以不考虑接合点的直流电位问题,只在“P解码板”的色差信号输出端,各接入一只耐压足够的4.7μF电容器即可。
“P解码板”与原机电路的接合
1. 12V直流电源:由于原机只有18V直流电源,所以“P解码板”所需要的12V直流电源,由18V经100Ω1W电阻降压后取得(P解码板的工作电流为60mA经100Ω电阻降去6V变为12V)即由图中6X端引出18V经100Ω电阻后。接到“P解码板”的④号端。
2.色度信号:全电视信号由6E端送入,只需把T\(_{6}\)01、T602由原谐振频率3.58MHz.改调谐到4.43MHz就行了。由6F端输出的色度信号,经VR\(_{9}\)08、VR909调整幅度后,再经6I端接至“P解码板”的⑨号端,并在⑨号端和TA—7193的之间,串入一只100PF电容器。“P解码板”上的C\(_{5}\)00C501C\(_{5}\)02R501L\(_{5}\)01T502各元件,不必再装入电路。
3.色饱和度直流控制电压的接合:由“P解码板”的④号端取出12V直流电压,接到6D端。利用原机上的色调控制电位器的位置和联接线,改装一只47KΩ电位器,上端接12V,下端接地,由中心头取出一个可变的直流电压,送至6A端,再把6A端接到“P解码板”的⑧号端。这样原机的色调调整钮(色相)就变为改制后的色饱和度控制钮了。
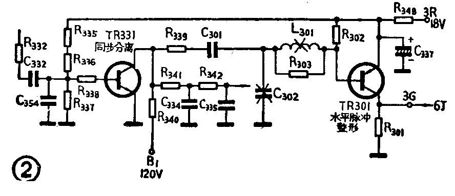
4.“P解码板”色同步选通用延迟行同步脉冲的引入:原机的延迟行同步脉冲电路,示于图②,改制时保留了原电路,考虑到“P解码板”上、已有延迟电路,所以把图中的C\(_{3}\)02和L301拆下,由6J端接至“P解码板”的⑦号端。

5.“P解码板”电子开关用触发行脉冲的引入:由6U端取得6.2V\(_{PP}\)的行逆程脉冲接到“P板”的⑥号端。
6.输出色差信号的接合:拆除原机电路的R\(_{658}\)、R659、R\(_{661}\)、R662、L\(_{6}\)05、C676、L\(_{6}\)06、C677。在C\(_{677}\)的位置上各装一只4.7μF16V的电解电容。极性如图①中标示。把“P解码板”的①号端接至C677的正端,②号端接至C\(_{676}\)的正端。
7.地线:要联接牢靠。(杜呈)