把“与”门和“非”门组合起来……
在数字系统中,使用着许许多多的门电路,除了上一期介绍的“与”门、“或”门和“非”门外,还常常把它们组合起来,构成“与非”门、“或非”门、“与或非”门,等等。其中,“与非”门应用最为广泛。
什么是“与非”门呢?我们仍然可以用电灯控制电路来说明它的逻辑功能,如图1所示。三个开关A、B、C串联起来再与电灯并联,设开关接通状态为“1”,开关断开状态为“0”;灯亮为“1”,灯灭为“0”。显然,只有当开关A与B与C全部接通时,电灯才熄灭;如果有一个或一个以上的开关断开,电灯就燃亮。把这个关系列成“真值表”(表1),取A、B、C为输入逻辑变量,Z为输出逻辑变量,则Z与A、B、C之间的关系就是“与非”逻辑关系:当所有输入都为“1”时,输出才是“0”;而只要有一个输入为“0”,输出就是“1”。

表1
输 入 A 0 1 0 1 0 1 0 1
B 0 0 1 1 0 0 1 1
C 0 0 0 0 1 1 1 1
输 出 Z 1 1 1 1 1 1 1 0
把一个二极管“与”门和一个晶体管“非”门前后串联起来,就构成了一个“与非”门(图2)。这个“与非”门具有三个输入端(即三个二极管D\(_{1}\)、D2和D\(_{3}\)的阴极)和一个输出端(晶体管BG的集电极)。图2b是“与非”门的逻辑符号。

门的“开”与“关”仍然是由加到输入端的脉冲信号控制的。任何一个门电路的输入和输出都有预先规定的标准逻辑电平,这里取高电平为+3伏,低电平为O伏。
当输入输A、B、C中有一个或几个为低电平0伏时,前面的“与”门输出就是低电平,即V\(_{P}\)=0。这时,后面的“非”门晶体管BG截止,输出高电平。为了使输出高电平也等于标准逻辑电位+3伏,在晶体管BG的集电极接入了二极管Dq和另一组+3伏电源E\(_{q}\)。晶体管饱和时,VC=0,所以D\(_{q}\)截止,对电路没有影响;而当晶体管截止时,Dq就要导通,使输出电位被箝制在+3伏上。所以,D\(_{q}\)称为箝位二极管。
当输入端A与B与C全为高电平+3伏时,“与”门的输出为高电平,即V\(_{P}\)=+3伏。此时,“非”门的晶体管BG饱和,输出低电平,即VZ≈0伏。
“与非”门的输出与输入的逻辑关系,正好符合上列真值表,即:当输入端全为高电平“1”时,输出为低电平“0”;当输入端有一个或几个为低电平“0”时,输出就是高电平“1”。
目前,这种分立元件“与非”门已经很少使用了,代替它的是集成电路“与非”门。
集成电路与分立电路有什么不同
“集成电路”就是把一个电路所需的晶体管、电阻、电容和连线,集中制作在一块很小的半导体硅片上,封装在外壳中组成的。整个电路是块微小的固体,从外观上根本分辨不出各种元件和线路,所以集成电路又叫固体电路。集成电路与分立元件电路相比,具有体积小、重量轻、可靠性高和低功耗等优点,所以,如今数字电路大部分都已经集成化了。
那么,是不是任何一个分立元件电路都能原样不动地集成化呢?这在工艺上还是有困难的。目前,在集成电路中晶体管是很容易制作的,而电容和高阻值的电阻却难以做出。所以,集成电路中避免使用大阻值电阻,一般不使用电容器。
数字集成电路按集成度(每片包含的元件数)可作如下分类:每片电路包含10~100个元件叫小规模集成电路(SSI):包含100~1000个元件叫中规模集成电路(MSI);包含1000个以上元件的称为大规模集成电路(LSI)。近年来,又出现了每片包含数十万个元件的超大规模集成电路。
下面我们通过介绍典型的集成电路“与非”门,可以进一步了解集成电路的特点。
利用多发射极晶体管构成“与”门
在数字集成电路的产品中,“与非”门可以说是用途最广的一种了。利用它不仅可以组合成其它各种门电路,还可以搭接成计数器、译码器和单稳、多谐振荡器等多种逻辑部件。
这里介绍应用最多的TTL“与非”门,它又叫“晶体管——晶体管逻辑门电路”。
图3a画出了TTL“与非”门的原理电路,它的主要特征就是用一个多发射极晶体管BG\(_{1}\)代替二极管“与”门。每个发射极和公共基极之间都形成一个PN结,集电极和基极之间又形成另一个PN结。晶体管BG2起“非”门的作用。它的等效电路如图3b所示,显而易见,从逻辑功能上来看,多发射极晶体管BG\(_{1}\)与二极管“与”门的作用完全一样。

当输入端A、B、C全部为高电平“1”时,多发射极晶体管BG\(_{1}\)的发射结处于反向偏置,而集电结正向导通,电源EC通过电阻R\(_{1}\)和BG1管的集电结供给BG\(_{2}\)正向基极电流,使BG2饱和,输出端Z为低电平“0”。
若输入端有一个或几个为低电平“0”,则相应的发射结导通,b\(_{1}\)点电位就是0.7伏,它不足以使BG1管的集电结和BG\(_{2}\)管的发射结导通。由于BG2截止,输出端Z就是高电平“1”。
值得注意的是:在输入端由高电平变成低电平瞬间,BG\(_{1}\)管的集电极电流恰好是BG2的反向基极电流,加快了BG\(_{2}\)由饱和向截止的转化,提高了“与非”门的开关速度,改善了电路的工作性能。
国产T063型集成电路“与非”门
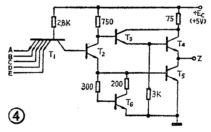
图3所示的TTL“与非”门的缺点是输出波形不好,带负载能力差,抗干扰能力不强,因而不能实际应用。国产T063型五输入端TTL双“与非”门电路如图4所示。图中T\(_{1}\)(在集成电路中,常用T表示晶体管)起“与”门作用,T2与T\(_{5}\)主要起“非”门作用,用两个管子可以提高带负载能力。T3、T\(_{4}\)组成两级射极跟随器,用以改善输出特性。T6组成抗饱和分流网络,可以进一步提高开关速度和抗干扰能力。图5是T063双“与非”门的管脚接线图。(双与非门就是在一块集成电路中有两个与非门)。


用“与非”门可以搭接成其它门电路
有了集成电路“与非”门组件,就可以方便地搭接成其它各种门电路了。
“与非”门有多个输入端,如果我们只使用其中某一个输入端,其余输入端都悬空,或者把全部输入端连在一起作为一个输入端,就成为一个“非”门,如图6所示。

如果要组成一个“或”门,只需把三个输入信号都经过“非”门倒一个相,再作为“与非”门的输入端,就成为一个“或”门了(图8)。(张晋纯 宋东生 编译)

