TTL系列集成电路是目前应用较广的一种数字逻辑电路,在各种计算机、工业控制设备等中,常常可以看到各种大小的TTL集成电路,当一台整机工作不正常时,如何用最快速简单的办法来查找判断是那一块集成电路出了故障呢?本文向读者介绍一种用万用表检查测试的方法。
具体的测试方法与步骤是:(1)拔下待查的集成块,从电路中或技术手册中找出该集成电路块接电源地端的那只管脚。(2)用一只指针式万用表,拨到R×1KΩ电阻档,黑表笔接在待查集成块的电源地端,红表笔依次量测其它各端对电源地端的直流电阻(见图1)。正常情况下,各端子对地电阻应为5KΩ左右(对应于500型万用表,若用其它型电表,此值略有上下),其中正电源端子对地电阻允许低至3KΩ左右。若量到某一端子的对地电阻低于1KΩ,甚至几乎为零时,则该集成块肯定是已损坏;若量到大于12KΩ以上时,也表明该集成块不能使用了。(3)为了进一步证实,还可以将两支表笔对调,即将红表笔接地端,黑表笔轮流接除正电源端外的其它各端,可以看到,对于正常的集成块,各端对地的反向电阻均大于40KΩ,而损坏的端子对地电阻则很小,其阻值几乎与(2)中测得的相同。(4)正常的集成块,其电源正端对地端的正、反向电阻值均较其它端为小,最大不超过10KΩ,若此值接近无穷大,则说明此集成块的电源端有断路。表1列出了各端对地电阻阻值的正常值和不正常值对照,供读者在测量时参考。表中数据系采用500型万用表测得,若用其它型号的万用表,差异不会太大,但不能使用数字式万用表测量。


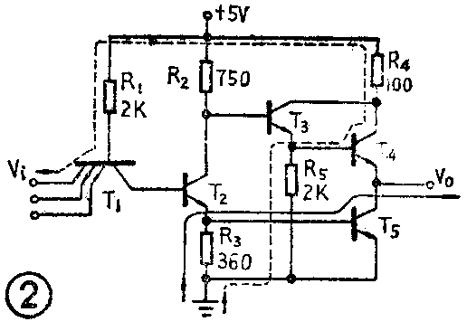
这种测试方法的理论依据可由图2来说明。图2示出了一个典型的TTL与非门电路,由图可见,当黑表笔(相当于电池正极)接集成块地端、红表笔接触入端时,电流通路如图中虚线所示:地→R\(_{5}\)→T4bc结→R\(_{4}\)→R1→T\(_{1}\)be结→输入端Vi,这相当于两个正向PN结及三个低值电阻的阻值总和。若红表笔接输出端V\(_{O}\)时,电流通路如图2中实线所示:地→R3→T\(_{5}\)bc结→输出端VO,这相当于一个正向PN结和一个低值电阻之和。这两条通路的电阻,都是当黑表笔接地端时呈现低阻值,反之,呈现高阻值。

用同样的分析方法不难看出,对+5V电源端与地端,无论表笔正接或反接,总有一个正向PN结导通,因而总是呈现低阻值。
当某一块TTL集成电路损坏的,其内部的PN结必有所损坏,因此,与晶体三极管一样,可以用测试各端直流电阻的方法来判断TTL集成电路的好坏。
以上虽然只举了一个与非门电路的例子来分析其测试原理,对于其它形式的电路,例如触发器、反相器、译码器等等,也可以用这种方法来测试判断。(上海电器科学研究所 林在荣)