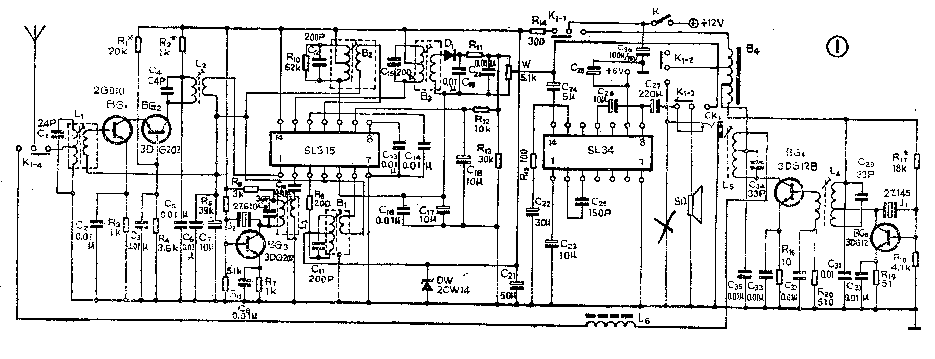
这部对讲机与上期介绍的电路基本上差不多,见图1,高放及中放仍用SL315集成块,另外又用了由BG\(_{1}\)、BG2组成的高放电路,以增加高放增益。低放部分用了SL34集成块。整机电路的工作原理参见1981年《无线电》第5期第2页“介绍一种优质集成电路收音机”一文。

元件的选用及安装
晶体管BG\(_{1}\)用2G910等超高频低噪声晶体管,β为30~60;BG2、BG\(_{3}\)用3DG202等高频小功率管,要求管子的β为60~80;BG4用3DG12或3DK4,要求β为60~80;BG\(_{5}\)用3DG12C,β为80~120。BG4、BG\(_{5}\)的耐压应大于45伏,使用时BG5应加装散热片。二极管D用2AP9;DW用2CW14,稳定电压为6伏。发信机中用的石英晶体J\(_{1}\)为27.145MHz,收信机中用的石英晶体J2为27.610MHz,均为JA12型超小型石英晶体谐振器。电阻R\(_{21}\)用1/4瓦的,其余的电阻用1/16瓦的。电容器用小型瓷片电容和小型立式电解电容。线圈和调幅变压器的制作数据见图2:L1~L\(_{3}\)用10×10电视中频变压器改制,L4~L\(_{6}\)用短波收音机的第二本振骨架和磁心改制,中频变压器用TTF—2型、内附谐振电容器的。收、发信转换开关K1用4×2无锁直键开关。扬声器用2英寸8欧内滋动圈式的。天线为1.2米拉杆天线,电源为1.5伏5号电池8节。

本机印制板见图3(1∶1)。组装时应注意各线圈的绕向,防止自激。安装集成块时要认清引线,以免装错损坏集成块,弯曲引线时不要太靠近集成块的根部,集成块焊在有印刷线条那面,C\(_{28}\)、R10等也装在这面。元器件的连脚线不要太长、太高。整机装入175×60×35(mm)的机壳中。

调试
元器件焊接无误后通电,先检查集成块的各脚电压应与下表所列数值基本相符。一般低放集成决不用调整就能正常工作。高放、混频、中放级只需调整一下各回路的诸振频率就可以了。调整时,若无信号发生器,可用一台性能较好的收音机,从它的检波级引出中频信号,再经一电容加到本机SL315的1脚,调各中频变压器使喇叭中的声音最响。调本机振荡器时,用一电容,把电容一端接BG\(_{3}\)的基极,另一端接地,使电路暂不起振,调R5,使BG\(_{3}\)的集电极电流为0.8~1毫安,测R7两端的电压值,然后去掉接在BG\(_{3}\)基极上的电容。若R7两端的电压有变化,说明电路已起振。再用万用表的500μA档串2CP9接L\(_{3}\)次级两端,调L3磁心使表头指示最大。主振级调试同本振级相同,只是集电极电流为6~8毫安。在上述过程中,如发现电路不起振,应首先检查石英晶体。检查石英晶体时,用100微微法电容并联在石英晶体上,若电路起振,说明晶体坏了,若电路仍不起振,说明不是晶体的问题,应检查电路其它部分。主振级起振后,断开BG\(_{4}\)的基极电路,将L4的次级两端并接上一只75欧电阻,再将500毫安电流表串一只2AP9二极管并联在75欧电阻上,调L\(_{4}\)的磁心使电表指示最大,再往回调一下磁心,防止电源电压下降后振荡不稳。上述步骤完成后,电路复原。接着调高频功放级,接上天线,将500毫安电表串在BG4的集电极电路,调L\(_{5}\)的磁心使电表指示最小,调L6使电表指示最大,反复调几次,最后调到L\(_{5}\)使电表指示最小,保证回路处于谐振状态,输出功率最大。再用蜡将各磁心封好,防止松动。

单机调整好以后,装入机壳,接通电源,进行拉距离调试。先将甲方的天线全部缩入,并向话筒(喇叭)吹气;把乙方的天线全部拉出,并且调整L\(_{1}\)、L2和各中频变压器,直到从喇叭中听到甲方的声音最大、而且两机距离最远为止。两机互换后再按上述方法调整甲机。
我们制作的对讲机外壳尺寸为175×60×35(mm)。发射功率约为250毫瓦,收信机的灵敏度约为2微伏。装入电池后,若收、发信按3:1时间工作,每天用2小时的话,对讲机可工作10天左右。(孙亚军)