二、行扫描前级电路的检查方法
如前所述,当发现行输出管的基极无激励信号或激励信号不正常时,则需要检查行输出级之前的电路,下面分别介绍分立元件电路和集成元件电路的检查方法:
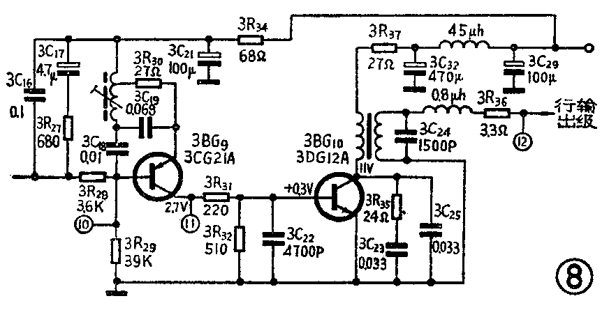
1.分立元件电路的检查方法
如图8所示,行推动级与行振荡级之间是直流耦合的,因此工作状态是互相影响的。当行振荡级因故障而停振时,振荡管的集电极电压往往比正常时高,因而使行推动管始终处于饱和导通状态,这时它的集电极电压较低,电流很大,由于行推动管集电极串有限流电阻3R\(_{37}\)(37Ω),所以当集电极电流过大时,就会先烧坏限流电阻而使行推动管免遭不幸。根据这个现象我们可以判断行振荡级工作是否正常。除此之外,还可以测量行振荡管的集电极电压,图8中BG9的集电极电压正常时为2.7伏,不过同一型号电视机的这个电压也会稍有差别,不同型号电视机行振荡管集电极电压如表1所示。如果行振荡管集电极电压偏离表1较多,说明行振荡级工作不正常,应继续检查行振荡管的基极电压和发射极电压。若发现行振荡管极间开路、击穿或漏电时,只要更换新管就能排除故障。若行振荡管质量没有问题,行振荡级还不能正常工作时,则需要进一步检查行振荡线圈引线与引出脚之间是否开焊或折断,引出脚与电路板铜铂之间是否开焊,以及振荡回路电容3C\(_{18}\)、3C19有无击穿,失效等,检查时最好用相同容量的电容置换的方法检查。其次检查行振荡级的基极偏置电路,主要检查3R\(_{28}\)、3R29阻值有无变化以及自动源率控制电路的有关元件是否正常。


当行振荡级工作正常后,行推动级仍无激励时,首先检查串接在行推动管集电极上的限流电阻3R\(_{37}\),如果电阻正常,可通过测量行推动管基极、集电极电压来判断行推动管是否损坏,如果行推动管没有损坏,则说明是电路中其它元件损坏,电阻、电容可用万用表来判断,而行推动变压器检查起来就比较困难,一般用万用表可测量变压器的初级绕组是否断线,但短路性故障由于变压器绕组圈数少、阻值小,用万用表就不容易测出来,所以一般用相同规格的变压器来替换,以判断其好坏。
用脉冲示波器来检查电路时,通常观察行振荡管的基极、集电极和行输出管的基极的波形,工作正常时,波形如图9所示。如果行振荡管基极无波形(a),集电极无波形(b)时,说明行振荡级停振。如果行振荡管基极,集电极波形正常,而行输出管基极无波形(c)时,则需要再看行推动管基极和集电极有无波形,如果行推动管基极有波形,集电极无波形,说明行推动管不工作或损坏,这时可用万用表测行推动管的基极和集电极电压来判断是推动管的故障还是限流电阻的故障。如果行推动管集电极波形正常,则是行推动变压器的故障。

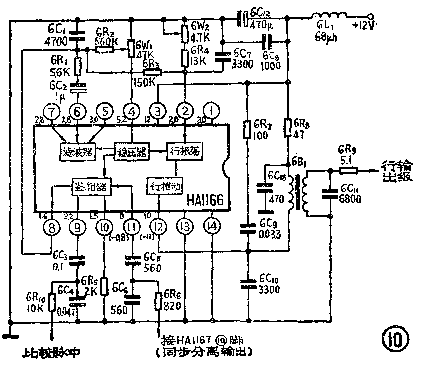
2.集成元件前级电路的检查方法
当如图10所示的电路发生故障时,首先应测量集成电路HA1166脚的电压,因为它是判断集成电路中的行振荡级是否起振的一个关键电压。正常时的电压为10.5~11伏。当脚电压上升到12伏时,应检查定时电容6C\(_{7}\)是否开路或失效,由于小容量电容用万用表检查充放电现象不明显,所以可用相同容量的电容替换,如果替换新电容后,脚电压正常,说明故障是由电容6C7损坏而产生的。如果测得脚电压只有几伏,同时电阻6R\(_{8}\)又被烧焦,则应检查电阻6R4和行频调节电位器6W\(_{2}\)是否开路,电容6C7是否被击穿或短路。当测得脚电压为零时,应检查行推动变压器6B\(_{1}\)初级是否断线,引出脚焊点是否开焊限流电阻6R8是否被烧坏。如果脚电压正常,但行输出管基极仍无电压时,说明行推动级的输出脉冲电压没有加到行输出管的基极上,此时应检查6B\(_{1}\)有无短路故障,电阻6R9阻值是否变大或开路。如果上述外接元件都正常,而脚电压仍不正常,应查②脚电压是否正常,②脚电压正常时为2.7~2.9伏,也可以用示波器看②脚波形,正常时波形如图11所示,如果②电压和波形都正常,则说明是集成电路内部行推动级损坏了,为了进一步判断。可焊开限流电阻6R\(_{8}\)一端用电流表测量行推动级电流,正常时电流在90mA左右。



集成电路正常时各脚电压都标在图10中,括号里为有信号时电压。如果测得集电路各脚电压与正常值相差较大时,应关机,用R×100档量程测量各脚对地的电阻值,正常时的电阻值也列在表2中。如果测得的电阻值与表2又相差较大时,可进一步检查不正常脚的外接元件有无开路或短路故障。若外接元件都正常,则只能把集成块从印刷电路板上焊下来,测量各脚对接地脚的电阻值,具体方法是:先将接地脚、接到一起并与万用表的黑表笔连接,红表笔依顺序测量各脚对接地脚的电阻,正常时的电阻值如表2所示,如果测得电阻值与正常值相差很大,则说明此集成块已损坏。(李福祥 汪锡明)