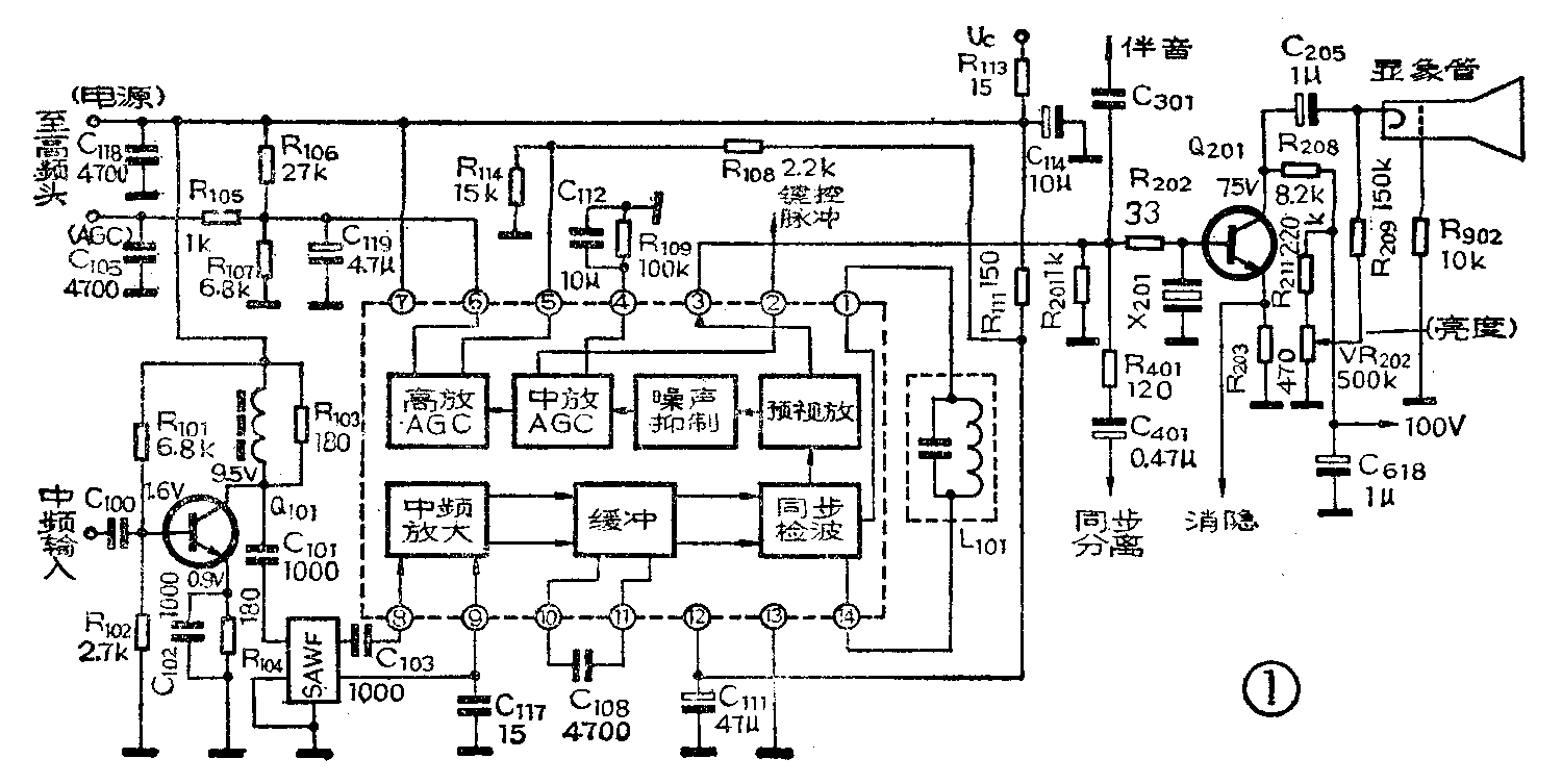
集成电路μPC1366C组成的图象中放电路,包括中频放大、同步检波、预视放、噪声抑制、中放AGC和高放延迟AGC等电路。图1是三洋牌12—T280U1(昆仑牌B3110型)、美乐牌B1411C型电视机通道部分的电路图。在高频头与集成电路之间接有声表面波滤波器(SAWF)和Q\(_{1}\)01组成的前置中放电路。SAWF进行选频,不要调整就可形成所需要的中频频率特性。Q101用来补偿SAWF的插入损耗。下面介绍这种电路常见故障的检修方法。

常见故障的检修
1.有光栅,无图象。
(1)故障部位的确定:电视机出现有光栅、无图象故障时,首先应判断故障是发生在高频头、图象中放电路还是在视放电路。由图1可知,图象中放电路包括前置中放和集成中放电路两部分。由于集成中放增益很高,当集成中放和视放都正常,用手握改锥的金属部分碰触集成电路的⑧或⑨脚时,光栅上可出现数条明暗相间的垂直条。若无反应,故障在集成中放和视放电路。如果这部分电路正常,则应着重检查高频头与中放之间的连接电缆。因为电缆芯线与中放电路焊接处,容易折断或霉断。由于人体感应的低频信号不能通过SAWF,所以检查前置中放电路时,要在Q\(_{1}\)01集电极与集成电路⑧脚之间跨接一只4700P左右的电容器。当Q101工作正常时,用改锥碰触基极,光栅上应有垂直黑白条,碰触中频输入端⑧脚时,光栅上的反应更明显。整个图象中放都正常,说明故障就在高频头。
(2)集成中放和视放的检修:当视放电路有故障时,光栅上应有回扫线。由图1可知,集成电路输出端③脚与视放管Q\(_{2}\)01是直接耦合的,③脚的电压就是Q201的基极偏压,③脚电压不正常会使视放管工作不正常。当③脚电压比正常值偏低很多时(例如1V以下),此时Q\(_{2}\)01截止,光栅上也会出现回扫线。检修时,应先检查③脚电压,正常时为2.5V左右(±0.5V)。若③脚电压正常而光栅上有回扫线,则故障在视放级。当③脚电压偏高时,只会使Q201的工作电流变大,但不会出现回扫线,若有回扫线,则是视放级有故障。常见的故障是Q\(_{2}\)01损坏或C205开路。
集成块损坏,常见的是集成块内部的预视放电路出故障。③脚电压是否正常,是检查预视放是否损坏的关键。影响③脚电压不正常的外部原因有⑦脚电压失常、C\(_{4}\)01严重漏电或短路。⑦脚电压是集成电路中的预视放、AGC等电路的工作电源,正常值为9.6V左右,如果⑦脚电压正常而③脚电压很低,则是集成块损坏。C401短路会使③脚电压上升到6V以上,如果焊开C\(_{4}\)01③脚电压仍不下降,也是集成块损坏。当③脚电压高达5V以上或低于1V以下时,说明预视放损坏。
如果视放和③脚电压都正常而仍无图象,故障在中放或检波电路。脚电压是这部分电路的工作电源。它是由⑦脚电压经R\(_{111}\)限流后再经集成电路内部的稳压电路获得的,其值在6.1~6.5V。如果脚电压正常,再检查⑨脚电压,以排除SAWF对地短路的可能。除⑨脚外,⑧、⑩、、①、的电压,都与外围元件无关。这些点的电压,反映了中放和检波电路的工作状态。集成电路正常时,各脚对地的电压和电阻如表所示。当⑧、⑩、、①、其中任何一脚的电压偏离正常值较多(±0.5V)时,都表明集成电路有损坏的可能。集成电路损坏后,可用BGD1366(北京半导体器件研究所生产)直接代换。

(3)前置中放电路的检修:首先按照图1所标注的工作电压检查Q\(_{1}\)01的工作状态,若各极电压都正常,再检查SAWF。SAWF常见的故障是输出、输入端对地短路或者失效。当与⑨脚相接的端子对地短路时,⑨脚电压失常。其余端子正常时应呈开路状态,当用万用表测得各端对地电阻为零时,说明对地短路了。SAWF是否失效,可用前面介绍的跨接电容的方法进行检查。
2.集成中放电路自激。
集成中放电路自激时,屏幕上无噪声点,但有杂乱的图象,调节高频头微调,还可能出现负象。伴音中有嗡嗡声。集成中放电路自激的原因是中放AGC电路失常引起的。检修时,应检查④脚电压。无信号时,④脚电压为1.1V左右,如果为零伏,说明C\(_{112}\)短路或集成块损坏。有信号时,④脚电压应上升到4V左右,若不升高,应检查②脚键控脉冲电路是否开路(12-T280U1无键控脉冲,②脚接地),或将②脚直接接地再测④脚电压,若仍不升高,则是中放AGC电路已损坏。
3.图象淡,雪花点多。
产生这种故障的原因很多,除了信号弱、天线不良、匹配器有一根线开路、高频头灵敏度低等原因外,集成电路内高放延迟AGC起控过早,也会出现这种故障。⑤脚电压是高放AGC的起控电压,一般可在5.4~5.6V调节,该脚电压越低高放AGC起控越早。当脚电压偏低时,⑤脚电压也会偏低;当R\(_{1}\)08开路或虚焊时,⑤脚电压为零。此外,还应检查无信号时的⑥脚电压,因为⑥脚电压高,会使高频头的增益降低,也会造成这种故障。
4.强信号时,图象扭曲。
造成这种故障的原因是高放AGC起控过晚或失控。使高频头输出的中频信号过强,引起中放电路饱和,同步头被压缩,出现图象扭曲。检修时,应测量④脚和⑥脚电压。在有信号的情况下,当④脚电压上升到3.6V左右时,⑥脚电压应开始上升。当④脚电压上升到4.1V左右时,⑥脚电压应上升到2.8V左右。若⑥电压不上升,应检查⑤脚电压是否偏高。如果⑤脚电压正常,则是集成电路内的高放AGC电路损坏。
5.重影。
出现重影现象的原因有电视机的外部原因和内部原因两种。外部原因引起重影,变动接收天线位置,重影会有所变化。当高放AGC起控较晚和SAWF特性不良时,在较强信号下也会出现重影。适当减小R\(_{114}\)可以得到改善,但不要小于12KΩ,R114减小后如果效果不大,可更换SAWF后再试试。
几种特殊故障的分析
1.光栅很亮、亮度失控、无图象。
出现这种故障时,调节亮度电位器VR\(_{2}\)02,亮度变化不明显或无变化。按照一般检修规律,往往认为是亮度调节电路有故障或是显象管有故障。当测量显象管阴极对地电压时,只有+12伏或更低,调节VR202阴极电压变化很小。检查亮度电路有关元件均无故障,更换C\(_{2}\)05后故障现象也不变。
这种故障实际上是因为视放管Q\(_{2}\)01集电极电压很低造成的。当显象管阴极电压高于Q201集电极电压时,电解电容C\(_{2}\)05两端的电压极性与它本身的极性相反,这时C205几乎相当于短路。显象管阴极电压等于或接近于Q\(_{2}\)01集电极电压。调节VR202,由于R\(_{2}\)09的限流作用,也无法将阴极电压调高,因此亮度无变化。如果C205不是电解电容,就不会因Q\(_{2}\)01集电极电压低而引起亮度失控。当视放管ce结或cb结击穿、集成电路③脚电压升高时,都会使Q201集电极电压降低。但是前者会出现回扫线,后者则无回扫线。检修时,按无图象故障的步骤进行。
2.无图象、有伴音。
对一般电视机来说,视放级有故障、中放或高频头失调都可能出现这种故障。本机有一种特殊情况,由于伴音电路相当于一台高灵敏的6.5MHz调频收音机。从高频头来的图象中频和伴音中频信号在前置中放Q\(_{1}\)01的be结混频后也能产生6.5MHz的伴音信号,并经过Q101宽频带放大器放大。此信号不能通过SA-WF,对其他电路无不良影响,但能通过其他途径到达伴音电路输入端(集成块③脚及有关连线),这样即使集成中放电路不工作,也会产生伴声,这样容易给判断故障造成错觉,使修理走弯路。检修时仍按无图象故障处理。
防止集成块损坏的措施
集成电路损坏的一个主要原因是显象管内高压对阴极跳火。跳火时产生的高压脉冲,经C\(_{2}\)05加到视放管集电极。如果脉冲电压高于视放管cb结的反向击穿电压,就会通过cb结加至集成电路的③脚,这样就会使集成电路内的预视放电路损坏。出现无图象故障。
为了防止损坏集成块,我们采取了两点保护措施:(1)在视放管Q\(_{2}\)01集电极的负载电阻上并联一只2CK型二极管,要求反向击穿电压大于150V,正向电流大于100mA,若无2CK型管,也可用2CP型管代用;(2)在集成电路③脚到地接一只22P的小瓷片电容器,如图2所示。正常情况下,所接二极管被R208上的压降反偏,不起作用。当跳火脉冲电压高于二极管反偏压时,二极管导通,高压脉冲被C\(_{618}\)旁路到地。对Q201和集成电路起到了保护作用。为了防止高速脉冲损坏集成块,③脚上接了一个小电容,它和R\(_{2}\)02对高速脉冲有吸收作用。经测试,所加二极管和电容对视频特性无影响。

检修中,如果集成电路损坏表现在③脚电压失常时,更换新集成电路后,应考虑增加保护措施。( 刘裕昌 彭应均)