走带速度及其误差是盒式录音机的两项重要指标。目前流行的各种盒式录音机,走带速度均采用国际统一标准——4.76厘米/秒。带速误差根据整机级别的不同而不同,如附表所示。带速误差的大小对自录自放的节目并无影响,但影响到节目的相互交换。常常遇到这样情况,在一台录音机上录制的节目,放到另一台录音机上放音时会感到音调音色都有很大变化。这种变化使用音调旋钮调节是无法补偿的。特别是多次转录的节目,与原声带相比,不但音调、音色不如原声带,而且会感到节拍不符。节目录制质量固然与录音技巧有关,但走带速度也是影响录制质量的重要因素。

如果录音机的带速误差在附表所规定范围之内,一般不会有明显感觉。但是由于经过长期使用,由于各种因素的影响,会使走带速度(如电机转速)发生变化。
目前绝大多数盒式录音机采用离心式稳速直流电机作为走带动力。其稳速原理是利用转子高速旋转产生离心力,用离心锤控制机械离心开关的通断,从而改变转子线圈中的电流,达到稳速。离心开关是影响这类电机转速的关键。离心开关频繁通断,被电火花侵蚀后,相当于在相同离心力作用下,动静点之间的距离变大了,使得电机转速变慢。也有的机器,由于离心开关调节螺丝钉轻微松动,经震动也会使两接点相对距离改变,影响了转速。另外,电机整流子与电刷长期磨损,导致接触电阻增大,也会使电机转速变慢。以上这些变化,只要不影响电机正常工作,转速是可以通过调节离心开关的调节螺丝来满足要求的。因此走带速度也是可调整的。
经过修理的电机,其转速是会改变的。由于电机转速很高,业余条件下直接测量有困难,但电机转速是否正确表现为走带速度,如果准确测量录音机走带速度,就能较正确地掌握电机的速度。因此也就能把带速误差调整到尽可能小的程度。本文向大家介绍一种测量带速的方法供维修时参考。
自测“标准”走时磁带
根据速度、时间、长度三者的关系,如能知道某盒磁带的准确长度,将它放入录音机放音、用秒表(或手表)测出磁带从始端走到终端所需时间,就能算出走带速度。
市售盒式磁带通常标有C-30,C-60等字样,这是表示这盒磁带走带时间的,但这是一个约略值,不能用来作为测速标准。如能将它的长度准确测量一次,就可以用来作为标准了。选择一盘C-30磁带,用“快进”或“倒带”将磁带全部卷到一个带盘上,然后从录音机中取出。将磁带从录放磁头所对着的位置开始轻轻抽出来(见图1),此处作为始端。逐段用米尺测量其长度。同时将测完的部分再卷绕进去。直到整盘磁带测量完毕。具体可以这样测量,选桌子的一个侧边作为某准,距离边一米处钉一个大头针,如图2那样,把磁带跨在大头针上,将前述的磁带始端对准桌子的基准边,将跨过大头针的另一端磁带轻轻用力拉直,也与桌子基准边对齐,并用手指捏住这一点,作为这次测量的终点(也即下次测量的始端)。这样每次可测出两米。这样一盒C- 30磁带只需20几次即可测完,得到总长度;或者找一处干净地面垫上净纸,将磁带全部拉出放平测出全长度。再减去无用的带头部分的长度,便是实际总长度。用这个长度除以标准带速(4.76cm/s),即可算出“标准”走带时间(T\(_{B}\))。测量中应注意的是:每次测量磁带既要拉直,又不能用力过大,以防磁带永久变形。


有了这盘“标准”走时磁带,就可以测量录音机的走带速度了。将这盘“标准”走时带放入被测录音机内放音,测出磁带从始端行至终点所需的时间,带速误差可用下式计算:
δ=\(\frac{T}{_{B}}\)-TST\(_{B}\)×100%
式中T\(_{B}\)表示标准走带时间(秒);TS表示被测机走完“标准”带所需的实际时间(秒)。
以上测得的带速准确度决定于两个因素。其一是磁带长度测量误差, 其二是计时误差。因此确定一米“标准”距离时所用的米尺要准确;测量过程中每段测量起点和终点的位置要准;走带开始及终了的时间要测准。特别是走带快到终了时,要密切注视带盘停走的时间,不能等自停机构开始动作了再计时间。
用以上方法测得的带速与正规生产厂测出的误差相比,平均误差可达到0.3%以内。
业余条件下走带速度的调整
按上述方法测得录音机的走带速度,如发现误差太大,就需要进行调整。这里所指的“调整”是在走带机构工作正常的前提下,由于电机转速误差引起的带速误差偏大,及由于电机经修理后所需的调整。
因此调整之前应对录音机进行检查。①检查电机供电电压应正常。通常电机供电电压即为整机工作电压,并且偏离±20%应对电机转速无影响。②检查传动皮带轮是否打滑。③检查压带轮与主导轴的压力是否合适。当确定带速误差是由电机转速变化而产生时,即可着手进行调整。
一般电机后盖上有一个小圆孔(有的被商标盖住),从圆孔内可见到供调节用的起子槽(图3)。将小螺丝起子伸进起子槽,顺时针或反时针旋转即可改变电机转速。致于顺时针旋转螺丝起子,转速变快还是变慢,各种机器也无定论,要经试验而定。

现举一例说明调整方法及要领。三洋M4500K收录机一台,放送原声带节目时,发现音调不对,节拍不符。用上节自测的“标准”走时磁带(16分40秒)在这台机器上放音计时,走带时间为15分30秒(即930秒)。
带速误差δ=
李沙育图形法调整走带速度
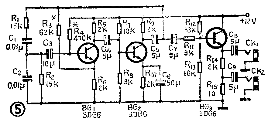
上节所述方法虽然能将带速调节到所要求的误差范围内。但费时嫌多。对于维修部门,可借助一个频率稳定度较高的正弦单音振荡器作信号源,同一台标准带速录音机将音频振荡器的输出信号录在磁带上。然后将这个录有单音信号的盒带,放入被测录音机放音。从外接耳机或外接扬声器插口取出信号,送到示波器(如SB—10型)Y轴输入端。荧光屏出现正弦波形。再将振荡器的那个单音接到同一台示波器的X轴输入端。将X轴置于外扫描。调节X轴增幅,这时屏上显示出的波形叫李沙育图形。如果被测录音机的走带速度与录制单音信号的那台标准带速录音机的走带速度相同,则李沙育图形呈一个不动的圆(或椭圆),见图4(b)。如果两台录音机的走带速度有偏差,李沙育图形的形状会象图4(a)那样变化。此时按前述方法调整电机转速,直至李沙育图形稳定成为圆或椭圆。此时被调录音机的走带速度就完全与标准机一样了。由于录音机不可避免的存在抖晃,所以荧光屏上的圆或椭圆也是暂时的,它将随着录音机的抖晃而翻滚。只要不破坏圆或椭圆的基本形状就算调好。图形翻滚的快慢可以说明两台机的抖晃程度。



此方法实质上是一种比较法,在比较过程中单音的频率并无具体要求,但要求有较高的频率稳定度。计算分析可知,如能保证±0.3%的频率稳定度,对于调整一般家用录音机已足够用了。用图5所示的振荡器线路制成的简易单音振荡器可供业余爱好者自制,其稳定度在温度为+15~+30℃范围内可优于±0.2%。该线路振荡频率f=\(\frac{1}{2π}\)\(\sqrt{R}\)\(_{1}\)R2C\(_{1}\)C2。R\(_{1}\)、R2选用稳定性较好的金属膜电阻,C\(_{1}\)、C2用具有负温度系数的涤纶电容器(切不可用瓷片电容)。CK\(_{2}\)输出信号约2.5mV,可送给录音机外接话筒输入,作为录制测试带用。CK2约输出0.5V,调整带速时,送到示波器“X轴输入”。图6是该振荡器的印板图(1∶1)可供制作时参考。振荡器电路焊接好之后需要调整的地方有两处。调R\(_{4}\)使BG1发射极对地电压为2V左右,调R\(_{3}\)使CK1输出信号为稳定的正弦波。其他部分只要装接正确无需调整。(湘钧)