无线电电路中常见的电感器通常称为电感线圈。它的外形有多种。图1a所示为空心线圈。图1b、c所示为加有铁氧体心的线圈。图1d所示为加有铁心的线圈。图1e为加有铜心的线圈。它们在电路中的符号已分别画在实物旁边,注意图1c、e符号中有平箭头的表示磁心可以调节。

电感线圈的特性
当电感线圈中通过直流电流时(外加直流电源),其周围只是现有固定的磁力线,不随时间而变化,如图2所示。可是当在线圈中通过交流电流时(外加交流电源),其周围将呈现出随时间而变化的磁力线。根据法拉第电磁感应定律——磁生电来分析,变化的磁力线在线圈两端会产生感应电势,此感应电势相当于一个“新电源”,见图3(b)。当形成闭合回路时,此感应电势就要产生感应电流。由楞次定律知道感应电流所产生的磁力线总是要力图阻止原来磁力线的变化的。如图4所示,其中E\(_{1}\)表示外加电源电动势,eL表示线圈产生的自感电势。图4a表示i\(_{1}\)增加时,自感电势eL的方向与外加电源相反,有阻止电流增长的趋势;反之如图4b所示、当i\(_{1}\)减小时,自感电势eL的方向与外加电源一致,也有阻止电流减小的作用。由于原来磁力线变化来源于外加交变电源的变化,故从客观效果看,电感线圈有阻止交流电路中电流变化的特性。这种特性与力学上的效果相似:当开动车辆时,乘客有向后仰的感觉;反之当突然停止时,站在车上的人就有向前倾的感觉。这种性质在力学上称为惯性或惰性;上述电感线圈也有“维持现状”的类似的特性,在电学上取名为“自感应”,通常在拉开闸刀开关或接通闸刀开关的瞬间,会发生火花,这就是自感现象产生很高的感应电势所造成的。



总之,当电感线圈接到交流电源上时,线圈内部的磁力线将随电流的交变而时刻在变化着。致使线圈不断产生电磁感应。这种因线圈本身电流的变化而产生的电动势,称为“自感电动势”。当线圈中的介质不是铁磁物质时,其磁力线变化率就正比于线圈中电流的变化率,实践证明,自感电势大小可用下式表示:
e\(_{L}\)=L\(\frac{Δi}{Δt}\)
式中\(\frac{Δi}{Δt}\)——表示电流变化率;L——表示线圈能产生自感电势能力的一个系数,通称电感量,显然,e\(_{L}\)的大小对不同电感线圈是不相同的;L大,eL就大,反之就小。由上所述e\(_{L}\)的方向应是力图阻碍线圈中的磁力线发生改变,这便意味着eL是反抗线圈中电流变化的一种阻力。当电感线圈的介质是以同一种材料制成时,电感量L可用下式表示:
L=μ\(\frac{N}{^{2}}\)lS
式中:μ——介质磁导率,N——线圈的总匝数,l——线圈的长度(单位为米),S——线圈的横截面积(单位是平方米),L——电感量(亨利)。
由上式可见,电感量只是一个与线圈的圈数、大小形状和介质有关的一个参量,它是电感线圈惯性的量度而与外加电流无关。
实用上,L最基本的单位是“亨利”,常用英文字母“H”表示,比亨利小的单位有毫亨(1mH=10\(^{-}\)3H)和微亨(1μH=10-6H),其相互换算关系是:1亨(H)=1000毫亨(mH)=1000,000微亨(μH)。
感抗
我们先观察图5的试验。用一个直流电压加在由一个灯泡和电感线圈组成的闭合电路,然后用相同的灯泡和线圈,但采用一个与直流电压同样大小的交流电压(有效值),构成另一个闭合电路。我们不难发现,图5b电路中灯泡较暗,而图5a电路中灯泡较亮。若将图5b电路中的电感线圈取走,这时两个灯泡的亮度便基本相同了。这说明电感线圈只对交流电流产生阻力,而对直流电流几乎没有什么阻力(实际上电感线圈中还有少量电阻,但影响不大)。在此,我们不难理解上述灯泡亮度较暗的原因,就在于电感线圈对交流电流有着一定的抗拒作用,因而使电路中的电流减小;在电学上,把电感线圈对交流电流的这种抗拒作用取名为“感抗”,用X\(_{L}\)表示。

从上面的试验可知,电感对直流电流没有抗拒作用,而对交流电流有抗拒作用。进一步试验可知,交流电流频率愈高,电感线圈对它的抗拒作用也越大;另一方面,电感量L越大,线圈的“惰性”就愈强,对交流电流的阻碍也就越大;可见线圈的感抗作用与交流电流的电感量L大小以及频率高低都有关。感抗的这种关系可用下式表示:X\(_{L}\)=Lω=2πfL。感抗XL的单位是欧姆,频率f的单位是“赫兹”,简称“赫”,用H\(_{Z}\)表示;L的单位是“亨”,用H表示。
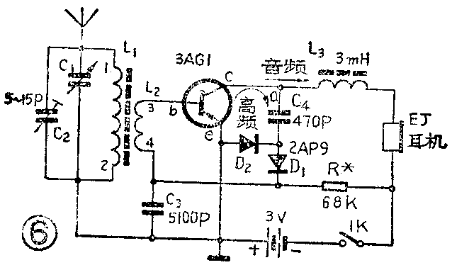
单管收音机中电感的应用

图6是常见的单管收音机电路。其中3AG1为高频锗管,它是用来进行来复放大的。由L、C组成的并联谐振电路对磁棒天线接收到的无线电信号进行选择。选出的信号由L\(_{1}\)感应到L2,随即加至3AG1基极与发射极之间,由3AG1进行放大。放大后的高频信号到达Q点,由于高频扼流圈L\(_{3}\)(3mH)的感抗作用,阻止了高频信号进入耳机。下面我们举例说明:3mH的L3对中波段低端500KHz的信号所呈现的感抗
X\(_{L}\)=2π×500×10\(^{3}\)×3×10-3≈9.42(KΩ)
C\(_{3}\)对500KHz的信号呈现的容抗XC
X\(_{C}\)=\(\frac{1}{2πfC}\)4=1;2π×500×10\(^{3}\)×470×10-12≈677(Ω)
对高频信号来说C\(_{4}\)的容抗比L4感抗小得多,因此高频信号通过C\(_{4}\)馈至二极管D1和D\(_{2}\)所组成的倍压电路进行检波。检波后的音频信号又送到3AG1的基极进行放大(反复放大一次),经来复放大后,音频信号到达Q点。由于音频信号的频率比高频信号低得多,L3对此信号所呈现的感抗很小。例如L\(_{3}\)对10000Hz的感抗
X\(_{L}\)=2πfL3=2π×10\(^{4}\)×3×10-3≈188(Ω)
C\(_{4}\)对音频信号呈现的容抗较大。例如对10000Hz的容抗
X\(_{C}\)=\(\frac{1}{2πfC}\)4=1;2π×10\(^{4}\)×470×10-12≈33.8(KΩ)
因此音频信号可通畅地经过L\(_{3}\),到达耳塞机,从而使我们能听到电台的播音。(刘孙刚)