一、实验目的
了解单稳态电路的基本特点和简单原理。
二、实验材料
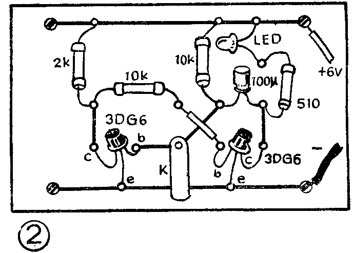
实验所需元件详见附表。按钮开关K是用薄铜皮焊在线路板的铆钉接点上做成,也可以用一小段软导线代替。

三、实验步骤
1.接通电源,电路处在BG\(_{1}\)导通,BG2截止的状态,发光管LED不亮。用万用表测量两管集电极电压,分别是U\(_{C1}\)≈0V,UC2≈5.5V。按一下开关K,在它接通后立即断开,发光管立即变亮,但它在过一、二秒钟后会自动熄灭。这说明在开关K的作用下电路状态发生了变化,BG\(_{2}\)由截止变为导通,这种状态维持一定时间后又自动恢复到原状。我们把发光管亮的这段时间称做单稳态电路的暂稳持续期简称暂稳期。实验中可以用手表来粗略地记下这段时间,如按下开关后,发光管亮了二秒钟后熄灭,电路的暂稳期就是二秒。
2.把R\(_{b}\)换成51K电阻,重做上面的实验,能发现电路的暂稳期(LED亮的时间)明显延长。
3.按下开关后手不抬起来,使它一直保持接通。可以看到发光管会一直亮着,直等到开关断开后才随之熄灭。
实验中,可能会出现电源电压稍一波动,或用万用表测量电压时,电路就翻转的情况,这是由于电路处在临界状态,外界稍有影响就能引起电路状态改变的缘故。我们只要略微改变一下电路中的元件数值或将两只三极管对调就可以解决。
四、实验现象分析
通过上面实验,我们总结出单稳态电路的几个特点:
1.单稳态电路有BG\(_{1}\)导通、BG2截止,或BG\(_{1}\)截止、BG2导通两个状态。平时电路稳定在第一个状态下(稳态),有外加信号输入时,电路转为第二种状态(暂稳态)。
2.电路由稳态变为暂稳态后,过一段时间会自动复原,而这段暂稳期的长短由电路中R\(_{b}\)的阻值与C的容量大小决定的,它们的值大,暂稳期就长。
3.如果外加信号过长。超过电路的暂稳期,电路的状态将由信号的时间长短决定。
五、电路原理
我们已经学习了无稳态电路和双稳态电路,把单稳态电路和它们比较可以看出:单稳态电路中两个管子之间的两个耦合方式,其中一个象无稳态电路那样通过电容耦合,另一个则象双稳态电路那样通过电阻耦合。在电路性能上它既能象双稳态电路那样,在外加信号作用下翻转,又能象无稳态电路那样自动恢复原状态。由于它只能在一个状态下保持稳定,所以叫做“单稳态”电路。我们将无稳态和双稳态电路的工作原理结合在一起,用来分析单稳态电路。
如图3所示,接通电源后,E\(_{C}\)通过电阻Rb向BG\(_{1}\)提供基极电压,使它饱和导通,UC1≈0V,因此,BG\(_{2}\)的基极电压Ub2≈0V,管子截止,U\(_{C2}\)=5.5V。这时,电源通过发光二极管、RC2和BG\(_{1}\)的b.e两极给电容器C充电,充电电压约5伏,也就是说,它的负极电位比正极低约5伏。在没有外加信号时,电路就稳定在这一状态。

按下开关K,使BG\(_{1}\)的基极接地,这一瞬间BG1由导通变为截止,U\(_{C1}\)≈5.5V。经电阻RK给BG\(_{2}\)提供基极电流,使BG2由截止变为导通,U\(_{C2}\)≈0V。电容C经BG2、电源及R\(_{b}\)这个回路放电。这时开关K已断开,BG1因基极电位为负而截止,电路维持在暂稳态下。随着电容器放电,它两极间电压逐渐降低,U\(_{b1}\)则逐渐回升,最终使BG1由截止变为导通,再次使U\(_{c1}\)≈0V,则BG2由导通变为截止, 电路恢复到原来的稳定状态。电路回到稳态后,仍由R\(_{b}\)向BG1提供基极电流维持导通,电容C又被充电,等待下一个信号的到来。
和无稳态电路一样,单稳电路的暂稳时间取决于R\(_{b}\)和C的时间常数。根据τ≈R·C,改变Rb或C的数值,就可以调节电路的暂稳时间。图1电路的暂稳时间一般能做到几分钟(要用大容量电解电容),若能进一步采取一些措施,也可以做到几十分钟。
六、动脑筋
1.结合单稳态电路的原理,分析在实验步骤3中,为什么开关一直连续接通电路就不能正常工作?
2.怎样用光敏二极管、干簧管等元器件产生外加信号来控制单稳态电路?设计出电路图并做实验。(陈鹏飞 王友文)

