用开关发送信息
早在十九世纪中,人们已经成功地实现了用开关传送电报信号的实验,它的基本原理如图1所示。把电键(实际上就是开关)、电阻和电池相串联,按下电键,电阻R上的电压V\(_{R}\)等于E;不按电键,R上的电压等于零。根据电文的内容和规定的电码符号(例如:“1”为“·- - - - ”“0”为“- - - - -”等)按动电键,就可以得到一系列幅度为E而宽度随电文变化的脉冲电压(图1)。显然,按动电键就是使开关K接通和断开电路,依靠开关的通、断,把信息发送出去。

现代的数字电子技术,仍然使用着开关元件。我们把开关的接通状态用数字“1”表示,把开关的断开状态用数字“0”表示,1和0按照一定的规律组合起来,就成为数字信号。以现代数字通信为例,这种通信方式中,我们先把要传送的文字、语言或图象,按1和0组成的某一种编码形式,变为一系列的数字码传送出去,在接收端再翻译回来,成为原来的信息。
在数字电子技术的基础上发展起来的电子数字计算机,虽然结构十分复杂,却是由成千上万的开关元件组合成的。这里,不再使用传统的有触点开关,而是用晶体管或场效应管作为无触点开关。所以,在学习数字电路之前,首先需要了解晶体管的开关特性。
晶体管为什么可以做开关元件
大家对晶体管的放大作用都很熟悉。电流放大仅仅是晶体管的一种重要功能,它还具有良好的开关作用呢!
图2可以说明晶体管的开关作用。管子的集电极C和发射极E相当于普通开关的两个触点,当晶体管导通并进入饱和状态时,C、E两极之间的电阻很小,管压降V\(_{CE}\)只有零点几伏,晶体管的C和E之间如同是一个接通的开关,如图2(a)所示。当晶体管截止时,集电极电流IC=0,C、E之间的电阻很大,V\(_{CE}\)=EC,又如同是一个断开的开关,如图2(b)所示。

晶体管的开关工作状态可以用图3来说明。图中直线 MN是晶体管集电极回路的直流负载线,其解析式为V\(_{CE}\)=Ec-I\(_{c}\)Rc。当晶体管的基极电流I\(_{B}\)=0时,集电极电流Ic=0,晶体管截止(图3中的M点),因此集电极负载电阻R\(_{c}\)上不产生电压降,电源电压Ec全部加在晶体管的C-E之间,这就是图2(b)所示的开关的断开状态。当晶体管的基极电流I\(_{B}\)足够大时,会使集电极电流达到由外电路参数EC和R\(_{C}\)所决定的饱和值,用ICS表示,即I\(_{CS}\)≈EC/R\(_{C}\)。此时,管压降VCE接近零伏,这就是图2(a)所示的开关的接通状态,对应于图3中的N点。

在数字电路中,晶体管开关是由脉冲信号来控制的(图4)。当加在基极上脉冲信号为低电平0时,晶体管截止;当脉冲信号为高电平1时,晶体管饱和。晶体管的开关速度极高,可由每秒钟数千次到几百万次,这是任何有触点开关所无法比拟的。

利用晶体管开关可以组成数字电路的基本单元——门电路。下面我们介绍有关门电路的基础知识。
从电灯的控制开关谈起
门电路是一种“条件开关”。只有当输入信号满足一定的条件时,门才能打开,信号才能通过,否则,信号就不能通过。常见的门电路有“与”门、“或”门、“非”门、“与非”门等。门电路又叫逻辑电路。为了了解基本门电路的逻辑关系,让我们先做几个小实验。
一盏灯串联三个开关与电池相联(图5)。显然,只有当开关A与B与C都合上时,灯才亮。我们把开关接通记为1,开关断开记为0;灯亮作为1,灯灭作为0。这时,可以把开关A、B、C的各种可能的状态与对应的电灯的状态列成一个表格(表1),叫真值表。从表1可见,如要输出Z为1,只有A与B与C都为1才能实现,否则输出为0,这就是“与”逻辑。具有“与”逻辑功能的电路,称为“与”门。


图6是用两个并联的开关控制一盏灯的电路。显然,不论开关A或开关B,只要有一个合上时,电灯就会亮。我们仍用1和0分别表示开关的接通和断开,以及灯亮和灯灭,并列出真值表(表2)。由表2可知,如要输出Z为1,只需A或B有一个是1就能实现,这就是“或”逻辑。具有“或”逻辑功能的电路,称为“或”门。


再看图7,我们把开关A与电灯并联(R为限流电阻,防止开关闭合后电源被短路),当开关断开时灯亮,开关接通时灯就熄灭。把这种关系列成真值表(表3),可以看出,A为0时,Z为1;A为1时,Z为0。输出Z是输入A的否定,这就是“非”逻辑。具有“非”逻辑功能的电路,称为“非”门。


用二极管和三极管组成门电路
晶体二极管和三极管都可以具有截止和导通两种工作状态,所以都可以作为开关元件,用来组成分立元件的门电路。如今,分立元件门电路已经很少使用,我们介绍它是为了能够学习集成门电路。
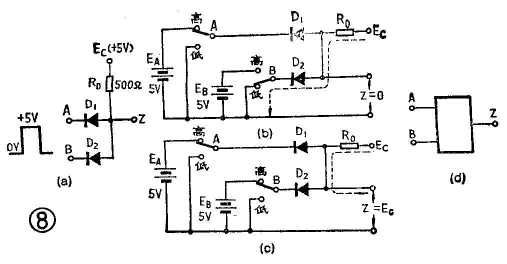
图8(a)是二极管“与”门的典型电路。图中A和B为输入端,Z为输出端。两个输入端都可以接高电平或低电平,因此我们可以把它改画成8(b)和8(c)的形式。当其中有一个输入端为低电平(OV)时,例如图8(b)中的B输入端,则二极管D\(_{2}\)导通,使输出端Z=0;如果B输入端为高电平,而A输入端为低电平,则二极管D1导通,所以输出端Z也为0;当A输入端和B输入端都为低电平时,二极管D\(_{1}\)、D2都导通,输出端Z仍为0。

只有当A输入端和B输入端都处于高电平,如图8(c)的状态时,两个二极管D\(_{1}\)和D2都不导通,这时输出端Z的电压为电源电压+5V,即高电平。
这就是说,只有当A和B都是高电平“1”,输出才是高电平“1”。输出Z与输入A和B之间是“与”逻辑关系。图8(d)是“与”门的逻辑符号。

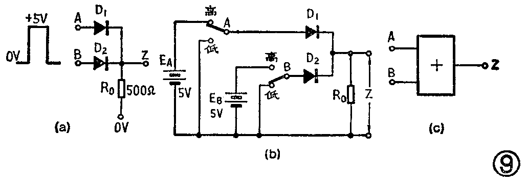
图9(a)是二极管“或”门的典型电路,我们也可以将它改画成图9(b)的形式。当A输入端为高电平时,即A输入端接E\(_{A}\)=+5V时,二极管D1导通,电流就沿着这个二极管流经电阻R\(_{O}\),在电阻RO上产生电压降,输出端Z即为高电平。同理,当B输入端为高电平时,二极管D\(_{2}\)导通,输出端Z也为高电平。只有当A和B都是低电平时,两个二极管都不导通,RO上没有电流,输出端Z才是低电平。这就是说,输入端A或B只要有一个为高电平“1”,输出端Z就是高电平“1”。输出Z与输入A、B之间是“或”逻辑关系。图9(c)是“或”门的逻辑符号。

前面讲到如图4所示的晶体管开关,当输入端A为低电平时,晶体管截止,输出端Z为高电平;当输入端A为高电平时,晶体管饱和,输出端Z为低电平。输出与输入倒相,具有逻辑“非”的功能,所以就是一个非门。图10(a)是一个典型的晶体管“非”门电路。(b)是“非”门的逻辑符号。(张晋纯 宋东生编译)