编者按:为了满足读者要求,我们这里向大家推荐一套自制的测试仪表,其中包括晶体管直流参数测试仪、高频三极管f\(_{T}\)-AGC测试仪、高频信号发生器、1英寸屏幕示波器、小万用表等。这套测试仪装在一个自制的有机玻璃盒里,体积小巧、重量轻。有了这套仪器,就可以完成对电视机、收录机等电子产品的检修,尤其适用于下乡巡回修理时携带使用,是一个得力的好助手。我们将分几期陆续介绍这套仪器的制作资料。
本篇介绍的晶体管直流参数测试仪,可测直流放大倍数β,0~250倍,分两档;反向击穿电压0~250V分两档;穿透电流I\(_{ceo}\),0~2.5mA, 分两档。
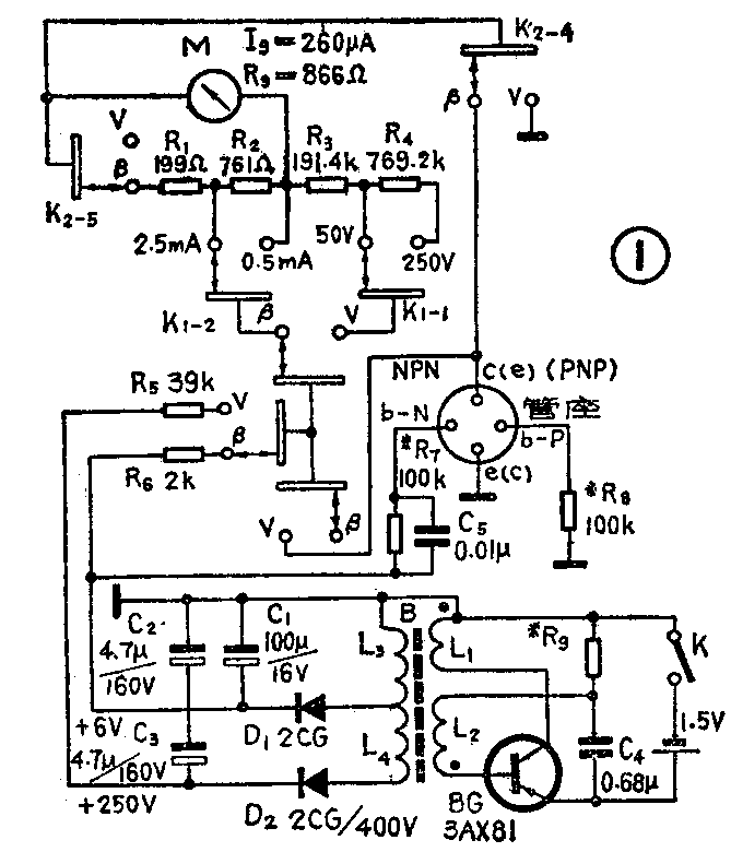
电路介绍
仪器电路见图1。晶体管BG、电容C\(_{4}\)、线圈L1、L\(_{2}\)等组成直流变换器,将1.5伏电池电压经振荡器后变成交流,由L3、L\(_{4}\)升压、D1、D\(_{2}\)和C1~C\(_{3}\)整流滤波后,一组输出+6伏,供测β、Iceo用;一组输出+250伏,供测反向击穿电压用。分流电阻R\(_{1}\)、R2和表头组成毫安表,分0.5、2.5(mA)两档。该毫安表串在待测三极管的集电极回路中测β和I\(_{ceo}\)。分压电阻R3、R\(_{4}\)与表头构成电压表,也分50、250(V)两档。该电压表并联在待测晶体管两端,测反向击穿电压用。R5是测反压的限流电阻,将击穿电流限制在安全值之内。R\(_{6}\)是测β和Iceo时的集电极电阻。R\(_{7}\)、R8分别是NPN和PNP型待测管的基极电阻。

波段开关K\(_{1}\)、K2、管座组成测量电路,K\(_{1}\)用来选择档位,K2用来选择测反压还是测β。当测反压时,开关K\(_{2}\)-5置于“V”位置,断开了分流电阻R1、R\(_{2}\),以减小测电压时的耗电。
测β时,K\(_{1-2}\)置于0.5或2.5mA,K2置于“β”档,这时测试原理图如图2;测BV\(_{ceo}\)时,基极悬空,待测管基极不插进插座,K1-1置于50V或250VK\(_{2}\)置于“V”,测试原理见图3。


元器件选择与安装
表头选用录音机上用的电平表(I\(_{0}\)=260μA、R0=866Ω),若用其它小型微安表头须重新计算R\(_{1}\)~R4的阻值。由于只用一节5号电池作升压电源,所以高压电流很小,应尽量选用高灵敏度表头。开关K\(_{1}\)、K2用普通拨动式双排六刀二位(6×2)收音机两波段开关,K用钮子开关。测试管座买成品四脚三极管管座。升压变压器B用MXO-2000、外径为20mm的磁环绕制。L\(_{1}\)、L2用φ0.3lmm的漆包线绕50圈;L\(_{3}\)用φ0.16mm的漆包线绕30圈;L4用φ0.03mm的漆包线乱绕900圈。绕时注意L\(_{4}\)与其它绕组的绝缘。
电路印刷板见图4(1∶1)。图5是整机结构图。全部元器件都焊在有铜箔的一面,R\(_{1}\)~R4焊在波段开关上。电池卡也直接焊在铜箔上。


仪器外壳的前、后面板及围框分别用4mm及2mm厚的有机玻璃粘成。前面板要求透明。面板图用描图笔描在描图纸上,然后用印相纸叠在一起感光制成一张黑底白字的照片,贴在透明面板的背面粘好,面板图见图6。外壳的具体粘法及边框加工见本刊1983年第314页。仪器体积为100×50×26(mm)。

调试与使用
仪器调整的部分只有高压变换器偏流电阻R\(_{9}\)和测β电路的待测管的偏流电阻R7、R\(_{8}\)的阻值需要调整。调R9,使直流变换器正常工作时工作电流为60~70mA,这时从变压器处可听到咝咝的振荡声,用表测量直流变换器的高压输出端应为250伏。如果在调试中发现,振荡部分工作正常,就是输出调不到250伏,这一定是升压绕组L\(_{3}\)或L4极性接反了。尽量选用β值高些的3AX81管作BG管,同时要求BG管、D\(_{1}\)、D2的工作频率要高些,否则直流变换器的转换效率太低了。
校准β档时,用一只已知β值的NPN型三极管,插入对应的管脚插座,调R7的阻值,使电路中表头指示的β值与已知的β值相等,就算调试完毕。同理,对于PNP型晶体管,也是将一只已知β值的PNP型管插入相应管座,调R\(_{8}\),使表头指示的β值与已知值一样即可。原表盘为5等分刻度,电流、电压两档共用一条刻度线。测β和Iceo时,K\(_{1}\)-2置于“0.5mA”或“2.5mA”档,K2置于“β”档,每0.1mA代表β=10。
测反压时,K\(_{2}\)置于“V”档,K1-1置于50伏或250伏档,由表头指针位置直接读出反压值。
值得提醒注意的是,无论是测I\(_{ceo}\)还是测反压时,待测管的基极管脚都不要插入管座,否则测试结果不准确。
灵活运用管座c-e脚,还可以测量250伏以下的二极管的反压、稳压管的稳压值等。也还可以通过测量电视机高压硅堆的正向压降(大约30伏左右)来判断它的质量。(张建民)