本刊去年第五、六期发表了我写的《模拟立体声、立体声两用扩音机》一文,引起了许多读者的兴趣,许多读者来信询问该机使用、安装、调试中的一些问题,下面回答几个有共性的问题,可供参考。
1.原扩音机不失真输出功率仅有2×5W,能否在不改动电路结构的情况下,使输出功率再提高一些?
答: 只要将电路图中的个别元、器件参数稍改动一下,就可以提高输出功率。具体办法是:①将电路直流供电电压由24伏提高到32伏。为此,应将电源变压器次级交流电压由18伏提高到24伏,经整流滤波以后,就能得到32伏直流电压了;②电源滤波电容的耐压值应提高到32伏;③将去年第5期第8页图1电源部分的电阻4R\(_{2}\)的阻值改为2千欧,这样VB电压值仍为18伏;④功率放大部分的四只DD01大功率管及推动管3DG、3CG的BV\(_{ceo}\)均应选取大于35伏的,否则容易烧管子。上述元件值及电源电压值改动后,中点电压VF必须从新调整。读者可以按照图1电路改制。

2.本扩音机对扬声器及扬声器的摆放位置有无特殊要求?
答:由于本扩音机采用的是OTL电路,因此对负载阻抗要求并不严格,一般选配4~16欧扬声器都可以。扩音机选配4欧扬声器时输出功率大一些;选配16欧扬声器时,输出功率会小一些。最好给扩音机配备两个由高、低音扬声器组成的组合扬声器箱,两个音箱应完全一样。音箱的摆放位置与听音者的位置及房间大小有关,一般说来,听音者与两个音箱之间成等边三角形时效果最好。每个音箱的功率应在10瓦左右。
3. 不少收音机、收录机、电视机等音响设备都设有8欧耳机输出播孔,当从耳机孔输出信号时如何与扩音机输入端联接?
答:为了便于本扩音机与上述几种音源直接联接,在图1电路图的输入端增设了一级阻抗转换器,以适合“耳机”和“线路”两种音源,由开关K\(_{2}\)控制。当K2拨到“耳机”档时,可直接采用带插头的屏蔽连接线连接,屏蔽线一端的插头插入音源的耳塞插孔,另一端插入扩音机的输入插孔。如果耳机信号是单声道的,则可将屏蔽连接线插头任意插到扩音机“R”或“L”声道输入插孔;如果耳机信号是立体声的,则应将R插头和L插头分别插入扩音机“R”或“L”声道插孔。
原音源的音量电位器可用来调整扩音机输入电压的大小,一般说来输入电压应小于2伏,如果输入信号太强。因扩音机输入端动态范围不够会引起失真。
4.在不带耳机输出插孔的音响设备上,在业余条件下如何加接耳机插孔?
答:可如图2所示进行改接。

5.有哪些音源可以直接与扩音机“线路”输入端直接配接?
答:可直接配接的音源有:①单声道或立体声的压电式晶体拾音器唱机唱头输出信号。信号连接线应采用屏蔽线;②中、高档收录机一般都设有“线路”输出插口,与扩音机配接时,可用合适的录音机的转录线与扩音机直接配接;③一般电子管收音机都有拾音输入插孔,可以从这个插孔中接收音机检波后部分的焊片上引出信号,然后通过屏蔽线与扩音机“线路”输入端直接配接。
6.有的音源设备没有设“线路”输出插孔,那么应怎样加接输出插座呢?
答:单声道音响设备可按图3a在音量电位器后加接,双声道立体声设备可按图3b形式在音量电位器后加接。但应该注意,所要改装的音响设备,该插孔处的输出电压应大于200毫伏,否则因扩音机灵敏度偏低,音量将不会太大。改装好以后,调节原音响设备上的音量电位器,可改变扩音机输入信号的大小。由于线路输入形式具有较高的信噪比和保真度,所以在有条件的情况下应尽量采用此形式扩音。

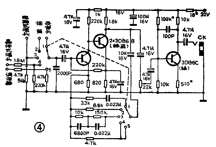
7.本扩音机的录敏度较低,怎样才能与输出电平较低的各种音源相配接呢?
答:有些音源,如电容式话筒,动圈式话筒、录音机磁头输出信号、电磁式拾音器以及有些无线电业余爱好者自制的一些调谐器,其输出信号较弱,不能与本扩音机输入端直接连接。为此,我们设计了与本扩音机相配合的一个输入转换头(见图4),可供广大读者自制时参考。图4中只画出了一个单声道电路,如果是配接立体声音源,则只需照图4再制作一块板即可。图中的电位器W用于调节输出电平大小,对于立体声音源,W可用双联电位器代替。

8.本扩音机的低放部分能否改为性能更好的OCL电路,以更好地改善放音效果?
答:完全可以。根据大多数读者来信要求,辽宁省朝阳市无线电器材厂从新设计并生产了一种采用OCL电路输出的MLT-D型立体声、模拟立体声两用扩音机,该机的输出功率、频率响应范围、音调控制能力及整机的灵敏度都有较大提高。其具体指标为:不失真输出功率大于2×10瓦;频率响应范围20~20000赫;高、低音控制范围大于30分贝;输入灵敏度,模拟档≤100毫伏,线路档≤40毫伏,可直接与各种收音机的检波级输出端相连;输入动态范围可扩展到30分贝,从而改善了与各种音源连接时的适应能力。
新机型还增加了由+、-位(+红-级)发光二极管组成的立体声电平指示器,使用者可以通过它形象地观察模拟立体声的放音效果。 (未完待续)(吴学锋)