天虹牌 RC-141D型彩色电视机是香港装配的,该机采用四块集成电路。同步分离、AFC电路、行场振荡、行场激励等功能均由集成电路IC301(TA7609P)来完成。
当该机出现水平一条亮线故障时,打开后盖对TA7609P可作电压检查,检查中发现第⑧脚正常电压应为7V,现在高达10V左右、第⑦脚正常电压应为0.6V,现在高达0.8V。断开外围元件R\(_{32}\),后再测量,8脚电压为12V,等于电源电压。在没有断开R320时,除⑥、⑦、⑧脚外,其它各脚电压均正常,检查外围元件都完好。进一步测量场输出管Q\(_{3}\)06集电极电压,正常情况下为60V,现在高达100V以上,说明整个场输出电路均未工作。经分析认为是IC301内部场锯齿波放大器或激励器有故障,使Q303没有激励信号输入,致使场输出管截止而造成的。
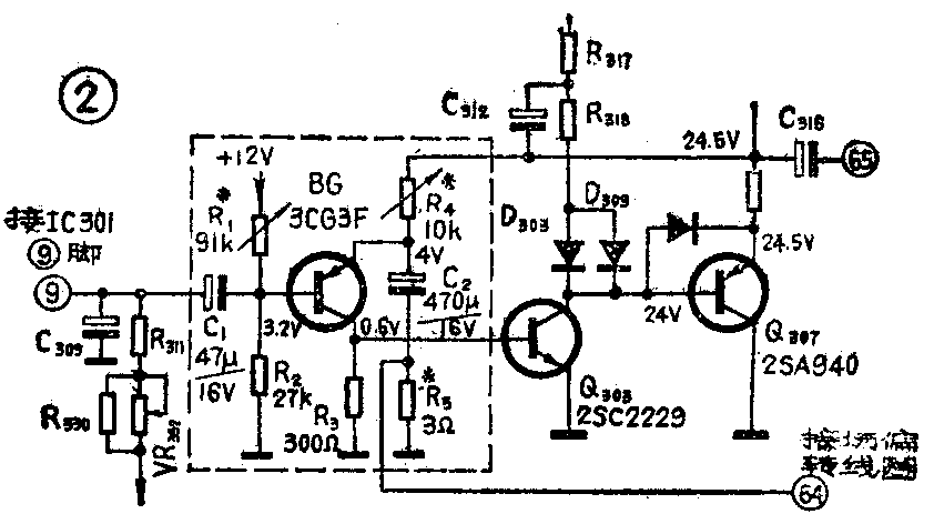
该机场扫描功率输出采用OTL电路,如图1所示,场推动管Q\(_{3}\)03采用NPN中功率管2SC2229。当集成电路内部的场锯齿波放大器或激励器损坏时,需要在Q303前面加一级PNP小功率硅管组成的前置放大器,场扫描锯齿波信号可从IC301的第⑨脚引出,因为⑨脚输出的是倒相后的锯齿波信号,加到场幅电位器VR352上。具体改装方法如下:

1.断开IC301第⑦脚与Q\(_{3}\)03的连线。将印制板正面的一根连线焊掉即可。
2.断开IC301第⑧脚与R\(_{32}\)0的连线,这是IC301中场锯齿波放大器改善线性的负反馈电路。重新改装时,反馈电路需要稍稍改变一下。
3.断开原接到场偏转线圈去的64号位处的C\(_{317}\)、R323、然后将按照图2虚线框内电路组装的放大器接到电路上。BG\(_{1}\)选用 PNP硅管3CG3F,也可以用3CG15、3CG21等。调节电阻R4,使场输出管Q\(_{3}\)06、Q307的中点电压保持在24.5V,原来场偏转线圈接C\(_{317}\)、R323的一端,改接到新组装电路的R\(_{5}\)上端,构成对BG发射极电压的负反馈,以改善线性。C2选用大容量的电解电容。适当选择R\(_{5}\)的阻值,使图象下线性改善。然后调节R1的阻值,使图象线性最佳。经过这样调整后,场幅可能有些变化。可稍微调节一下场幅电位器VR352,使图象满幅。

最后需要说明的是,该放大器的接地点最好接在IC301附近,否则可能会在图象上部产生阴影。(王永平)