黑白电视机用集成电路和分立元件电路一样,也是由一些基础电路组成,掌握好这些基础电路是看懂集成化电视机电路图的基础。集成化电视机常用的基础电路有:差分放大器、双基分放大器、恒流源电路、恒压源电路、直流电平移动电路、差动比较器、输出电路等等。
恒流源电路
它是模拟集成电路的基础,一般用符号2示。最基本的恒流源电路是图1a所示的镜象恒流源。我们知道集成电路内晶体管参数可以做得完全对称,根据这一特点可知,输出电流I\(_{2}\)≈参照电流IR。如果图中电源E、电阻R已知,则I\(_{2}\)≈IR=\(\frac{E-V}{_{BE}}\)R。图中晶体管T1起二极管作用,虽然T\(_{1}\)的BC结电压等于0,仍可认为它工作于有源区,满足公式IC1=βI\(_{B}\)。

为了改善基本恒流源的性能,可有各种改进型的恒流源电路,如图1中的b~f。其中f图是集成电路内特有的多集电极 PNP型晶体管,它本身就能构成一个镜象恒流源。恒流源电路在集成电路中应用十分广泛,它可以作偏置电路,构成多路偏置系统;用它可以作射极恒流源,也可作集电极有源负载,提高电路增益;用它可以作共模信号负反馈电路,提高电路的共模抑制比,改善电路稳定性等等。
恒压源电路
集成电路内各级间多采用直接耦合方式,因此设置恒压源电路可提供稳定的工作电压和偏置电压,具有重要意义。恒压源的关键是基准电压的温度稳定性要高。一般用电阻分压法取基准电压、用正向二极管压降、稳压二极管或负反馈电路等实现稳压。常用的几种恒压源电路见图2a-d,在图中标出了稳定电压数值与稳压器件、电路结构的关系。

直流电平偏移电路
多级直耦电路具有直流输出电平逐级跟着发生偏移的问题,对NPN型管来说,输出电平是不断提高的。这就造成输出端得不到所要求的零电平,输出端动态范围减小,而且级间阻抗不匹配。设置直流电平偏移电路后可较好地克服这些矛盾。常用的电路如图3a~d所示,各图上均标出了输入、输出直流电平之间的数值关系。

差分放大器
差分放大器(又称差动放大器)的用途十分广泛,集成工艺容易制作,是集成电路里最基本的单元电路之一。最基本的差分放大器如图4a所承。差分放大器的输入端或输出端都可以接成双端或单端形式,也即可以有四种工作方式。

进一步改进差分放大器,可得到图4b~e之改进电路。例如,为了扩大电路的线性动态范围,可采用图4b形式,该电路要求R\(_{1}\)=R2,R\(_{W}\)<<R1(R\(_{2}\))。为了提高对共模信号的抑制能力,又要保持晶体管有合适的静态工作点,可采用图4c形式,该电路的线性工作区不大,当输入信号U入<50mV时电路处于良好的线性工作区,当 U\(_{入}\)>100mV时电路就变成了限帽器。为了提高差分放大器的增益,可采用图4d形式,图中T3、T\(_{4}\)是镜象恒流源,而恒流源T4作T\(_{2}\)的有源集电极负载,因此电路的电压增益可达几千倍,该电路输出阻抗为兆欧级;该图是双端输入变单端输出的工作形式,但可以证明:其电压增益仍接近于双端输出时的增益。为了提高电路的输入阻抗可以用复合管作差分对管,也可以采用射极输出电路形式的差分放大器,图4e是射随器形式的差分电路。
模拟乘法器
图5a之差分放大器有两个输入信号U\(_{入1}\)及U入2,其输出电压U\(_{出}\)正比于U入1与U\(_{入2}\)的相乘积,即差分放大器具有乘法器的性能。我们把用于相乘功能的差分放大器称为模拟乘法器。多数实际电路是采用图5b所示改进电路,它是一个由双差分放大器构成的双平衡模拟乘法器,具有对称平衡输入、输出,增益高,温度漂移小等优点。模拟乘法器是集成电路内一种重要的单元电路,可用来作视频检波器、伴音鉴频器、AFC电路的鉴相器,以及彩色电视机色通道的同步解调器、相位检波器等。

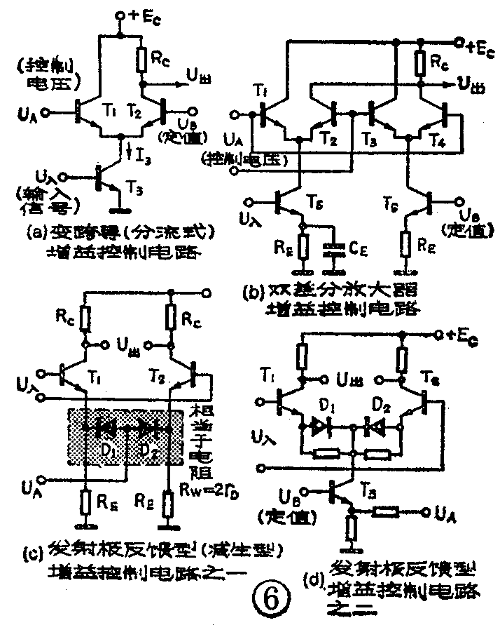
增益控制电路
在电视机内有许多地方需要控制放大器的增益,例如图象中放级的自动增益控制(AGC),视频放大器的对比度调节,音频放大器的音量调节,彩色电视机的自动色度控制(ACC)、色饱和度调节等。多数电路是采用调节直流电平的方法来控制放大器的增益,这种调节方法对放大器的参数影响小,增益调节范围比较宽。常见的增益控制电路可参阅图6的四个典型电路。a图电路简单稳定、噪声低、高频性能好;但调节增益(用改变U\(_{A}\)的方法)时输出端直流电平随之变化,为了克服这一缺点可采用b图电路,其特点是对称平衡,输出端直流电平很稳定,温度漂移小,动态范围大。图c、d属于另一类型的增益控制电路,在c图上,改变控制电压 UA可改变二极管D\(_{1}\)、D2上电流,即改变其内阻值,从而改变反馈量,达到控制增益的目的。在d图上,U\(_{A}\)的控制作用比c图更强,但电路工作点及输入电阻变动大。

差动比较器
集成块内的一些脉冲电路(或开关电路)采用了差动电压比较器,其基本电路见图7。比较器可由两个输入电压进行比较,也可由单输入电压与参考电压比较。电路上的晶体管是工作在开关状态。用这种电路进行信号的限幅、切割、比较等,从而完成抑制噪声、幅度分离、识别信号、门限控制等功能。

许多行、场振荡集成电路也是以差动比较器为基础而构成。它们的基本电路形式以及输入、输出信号的关系都属于施密特触发器性质;但由于振荡电路上都外接一些RC网络作定时元件,电路的实际工作过程类似于自激多谐振荡器。从定时电容充放电的电路形式来看,主要有RC充放电型和恒流源充放电型两类振荡电路。图8所示四种电路有一定典型性。各图上均已标出电压比较器(施密特触发器)及定时电路的部位。

输出电路
场扫描输出级及伴音电路输出级集成电路都采用OTL电路。由于两个推挽输出管的静态偏压设置方法有些差别,放在图9上给出四个图例。这类电路是低频线性功放电路。(董政武)
