在采用直流电源供电的场合,如果设备需要的直流电压较高,而电源直流供电电压较低,那么就需要采用直流变换器来得到较高的电压。常用的办法是:利用振荡电路将直流电转化为交流电,再利用变压器升压,然后经一般整流、滤波后得到较高的直流电压。也可以在振荡电路后利用倍压整流电路而获得较高的直流电压。上述几种办法的缺点是均需要价格较贵的变压器。而且效率较低。
本文介绍一种新颖的直流倍压电源,它不用变压器,能将直流电压直接升高一倍左右,而且能供出较大的功率(5瓦左右)。
图1为直流倍压电源的原理图。K是一个双掷开关。当K拨向“1”时,开关刀位与0伏相接,+6伏电源经D\(_{1}\)、D2分别给电容C\(_{1}\)、C2充电,使C\(_{1}\)、C2两端电压达到电源电压值(6伏)。这时将开关K拨向“2”端,C\(_{1}\)两端电压暂时保持不变,而H点的对他(0伏)的电压则变为电源电压的2倍(12伏),经D2继续给C\(_{2}\)充电,使C2上的电压(即输出电压)也达到12伏。只要不断拨动开关K,使其在“1”与“2”之间换档,那么C\(_{2}\)上的电压就能持续保持12伏并输出一定的电流。

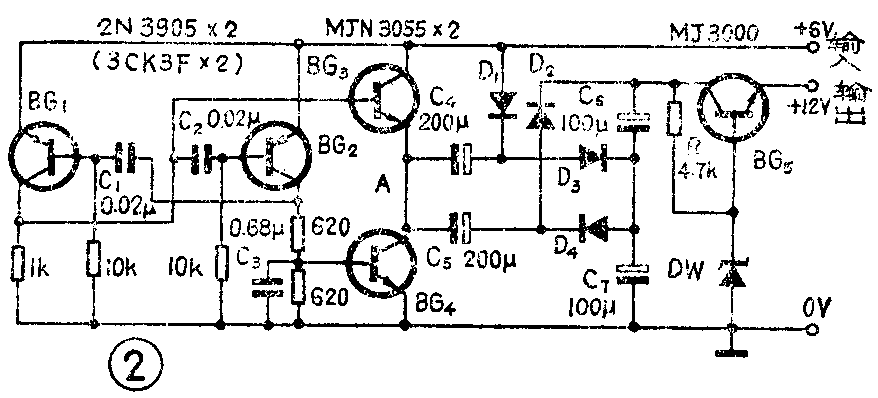
实际工作时,当然不能用手来扳动开关以改变电路的工作方式。图2为一实际工作电路,承担开关作用是一个由BG\(_{1}\)、BG2组成的自激多谐振荡器,BG\(_{1}\)、BG2轮流导通和截止,以起到开关作用。BG\(_{3}\)、BG4两管相串连,分别受BG\(_{1}\)、BG2集电极电压的控制、因此也处于轮流导通和截止的状态。当BG\(_{3}\)截止,BG4导通时,相当于A点与地(0伏)连接;反之,当BG\(_{3}\)导通,BG4截止时,又相当于A点与电源正极(6伏)连接。这样就起到了开关K的作用。

为了使输出电压比较稳定,图2实际电路比图1增加了D\(_{2}\)、D4两只二极管和C\(_{5}\)、C6两只电容,同时增设了由BG\(_{5}\)、Dw等组成的一级简单的稳压电路。
电路中,BG\(_{1}\)、BG2的型号为2N3905,可用国产管3CK3F代替;BG\(_{3}\)、BG4工作在开关状态,电流较大,选用型号为MJN3055;BG\(_{5}\)的型号为MJ3000,它的直流放大倍数很高,可以挑选β值较高的国产大功率管代替;D1~D\(_{4}\)选用耐压大于15伏、电流大于0.5安的任意整流二极管;Dw稳压管的稳压值为12伏左右;所有电容器的耐压都应大于15伏。
由于工作时输出电流较大,约在0.5安左右,因此BG\(_{5}\)要装散热片。BG3、BG\(_{4}\)在工作中如果发热,也要装适当的散热器。(金维克 编译)