台湾产雪莱牌13英寸、17英寸电视机音量失控故障较多,下面以雪莱牌13英寸电视机为例,简单分析产生这种故障的原因,然后介绍两种简便的修理方法。
雪莱牌13英寸电视机音量正常时,用万用表测试伴音中放集成块56A101第5脚的音量控制电压,当音量关至最小时为1.3伏,当音量开至最大时为2.4伏。音量失控后,56A101第5脚的电压,在音量关至最小时为2.2伏,音量开至最大时为3.3伏。这表明,伴音中放集成块56A101内部衰减器电路元件变质或损坏,使电压升高,失去控制能力。一般由于集成电路外部元件(除音量控制电位器以外)造成这种故障的可能性较小。根据以上分析,我们在实际检修中采用以下两种解决办法。
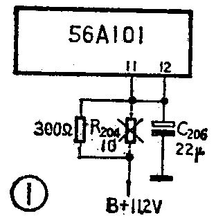
一、降低集成块56A101的电源电压,使音量控制电压恢复到正常数值。具体做法如图1,把集成块56A101第11脚的去耦电阻R\(_{2}\)04由10Ω改为1/4W、300Ω的电阻,这样音量控制电压便恢复到正常数值,音量控制作用也恢复正常。

二、若个别机器按上述方法修理后,音量控制仍不起作用,可用调节集成块56A101前置放大工作电压的办法来实现音量控制。具体做法如图2,把音量电位器焊在印制电路板上的两根引出导线焊掉,在该两个焊接点处接上\(\frac{1}{8}\)W、5KΩ的一只电阻。然后把集成块56A101第11脚上的去耦电阻R\(_{2}\)04(10Ω)焊掉,将音量电位器焊接在R204的两个焊点上,用以调节前置放大器的工作电压,达到音量控制。如果改接以后,音量控制作用相反,可对调电位器的两极引线。为使调节音量时变化均匀,在音量电位器两端并接上一只1;8W、5KΩ的电阻。

实践证明,以上两种方法对音量和音质均无多大影响。
另外该机音量控制电位器还常出现接触不良的毛病,表现为调节音量时伴随有很强的沙沙声。检修时,在音量电位器的缝隙中滴上数滴酒精,转动几下电位器,故障即可排除。(薛永碧)