在晶体管高传真扩音机电路中,常见到一种特殊的晶体管——场效应管,它与一般晶体管有什么区别呢?在什么场合下需要用到这种管子呢?下面就谈谈这几个问题。
一、场效应管的特点
场效应晶体管也是一种具有PN结的半导体器件,只是它的导电原理与一般晶体管不同,它是利用电场的效应来控制电流的变化的,所以才命名为场效应管。场效应管分为两大类:即结型和绝缘栅型。
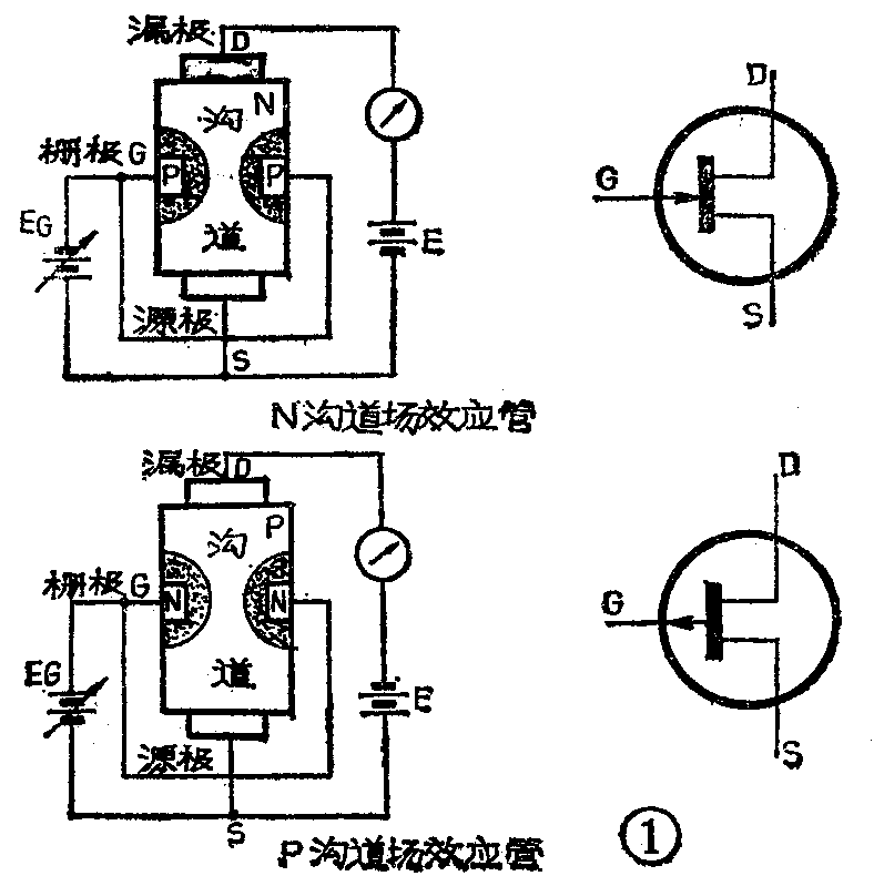
晶体管扩音机中常用到的是结型场效应管,这种管子具有输入阻抗高、增益高、噪声低等特点。就象一般晶体管分PNP和NPN两种三极管一样,从导电类型上来说场效应管也又分两种:用P型半导体材料作沟道材料的称为P沟道场效应管,用N型半导体材料作沟道材料的称为N沟道场效应管,它们的结构及在电路中的符号如图1。

以图1中N沟道场效应管为例,N型硅棒上下两端分别称为漏极(D极)和源极(S极),漏极起泄漏电子的作用,源极是电子的发源处。硅棒中段两侧的电极称为栅极(G极),是控制电子流通的机构。中间的沟道为电子流通的途径。与晶体三极管相对比,栅极相当于基极,源极相当于发射极,漏极相当于集电极。改变栅极反向偏置电压E\(_{G}\),就可以控制通过沟道的电流的大小。EG越高(即由负值越向零伏靠近),漏极电流I\(_{D}\)就越大;当EG由负值上升至零伏时,I\(_{D}\)饱和。由于G、S极之间为反向偏置(见图2a),所以G、S极间可以等效为一个如图2b所示的反接二极管,此时管子的输入内阻ri相当于一只硅二极管的反向电阻,数值很高,可高达10\(^{7}\)欧。而一般NPN型三极管的b、e结工作时处于正向偏置(见图3a),可以等效为一个正向偏置的二极管(见图3b),三极管的输入电阻与管子的β值有关,即r\(_{be}\)=(1+β)\(\frac{26(mV)}{I}\)e(mA),r\(_{be}\)一般为几百欧姆。由此可见场效应管的输入电阻远远高于一般晶体三极管,其输入电阻可与电子管相比。


在文章中常见到的结型场效应管的几个主要参数的含义如下:
1.夹断电压V\(_{P}\):使IDS关断时的V\(_{GS}\)就是夹断电压VP(夹断相当于三极管的截止)。
2.饱和漏电流I\(_{DSS}\):即在VGS=0条件下,源漏极之间所加的电压大于|V\(_{P}\)|时沟道中所流过的电流。
3.直流输入电阻R\(_{GS}\):即在G、S极之间加的电压与栅极电流之比。结型场效应管栅极电流极小,所以RGS一般大于10\(^{7}\)欧。
4.漏源极之间的击穿电压BV\(_{DS}\):在逐渐增加VDS值时,突然使I\(_{D}\)剧增时的VDS值,即称为源漏击穿电压BV\(_{DS}\)。
5.栅源击穿电压BV\(_{GS}\):逐渐增加栅源之间反向偏压的绝对值,当栅源间的反向饱和电流急剧增加时的栅源电压,即为栅源击穿电压BVGS。
6.跨导g\(_{m}\):在一定的VDS时,漏极电流的变化量与使之变化的栅源电压的变化量之比,即为跨导g\(_{m}\)。
7.低频噪声系数N\(_{F}\):低频噪声主要是由于场效应管内部的载流子不规则运动而引起的,其大小在手册中用分贝(dB)值表示。
二、在扩音机中的几种用途
1.作高阻抗输入级:图4为用场效应管作输入级的一个放大电路。由于场效应管输入阻抗很高,在和信号源配接时,就可以不考虑管子本身的输入电阻对信号源的影响。例如,在计算图4的输入电阻时,只需考虑R\(_{1}\)、R2的影响,即R\(_{入}\)≈R1‖R\(_{2}\)=750千欧。由于R入很高,所以可与输出阻抗较高的压电陶瓷唱头或晶体唱头很好的配接。图4放大电路的输出阻抗R\(_{出}\)≈R3=51千欧,可与下一级一般晶体管放大电路的输入端配接。图5为一源极跟随器,这种电路输入阻抗更高。


2.用于等响度控制电路:在高传真扩音机中,为了在小音量时也能得到丰富的低音和清晰的高音,就需要在电路中增加等响度控制电路。图6是一个实用电路,为了使这种电路效果好,BG\(_{1}\)的输出阻抗应尽量小,而BG2的输入阻抗应尽可能大。为此BG\(_{1}\)采用3DG型管,接成射极输出形式,输出阻抗可小到几百欧;BG2采用一只3DJ6型场效应管,接成源极输出形式,输入阻抗极高。

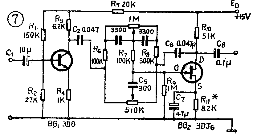
3.用于音调控制电路:将场效应管用于音调控电路,可以获得比较宽范围的高低音提升和衰减。图7是一个实用电路,在此电路中,BG\(_{1}\)有一定的输出阻抗,如果此时BG2采用一般晶体三极管,则当将高、低音提升时,BG\(_{2}\)的基极电流ib2就要上升,于是要求BG\(_{1}\)要供出更大的信号电流,即ic1要上升。由于BG\(_{1}\)有一定输出阻抗,所以在输出阻抗上的信号电压降要增加,BG1能够输出的信号电压下降,BG\(_{2}\)的ib2就要下降,最终使高低音提升量下降。在将高低音进行衰减时,其过程则相反,最终导致衰减量不够。

如果BG\(_{2}\)采用一只晶体三极管,接成射极输出形式,虽然可以提高BG2的输入阻抗,但由于信号经阻容音调网络以后衰减较大,BG\(_{2}\)的电压放大倍数又近似于1,为了能推动下一级OCL或OTL功放电路工作,在BG2和功放级之间还需再加一级电压放大级,使电路变复杂。
如果BG\(_{2}\)如图7所示采用一只3DJ6场效应管,并且从漏极输出信号,则不仅满足了输入阻抗高的要求,而且还能获得一定的电压放大量,不需要在后面再设一级电压放大级。这种电路可以得到100赫和10千赫为±10分贝以上的音调控制范围。
三、使用注意事项
结型场效应管的特点是输入阻抗高、增益高、嗓声低,很适合用于要求输入阻抗高、噪声低的小信号音频放大电路。但是由于场效应管输入阻抗高,栅极电压没有泄放通路,当用电烙铁焊接时,如果电烙铁外壳绝缘不良,外壳带电,当漏电电压高于场效应管的BV\(_{GS}\)时,则容易击穿场效应管。因此在进行焊接时,最好将电烙铁外壳加接地线,或者采用暂时断电利用烙铁余热焊接。在选用场效应管时,应选用结型场效应管,即选用3DJ6或3DJ7。其主要参数应满足:BVDS>20伏,g\(_{m}\)>1000μNF≤5dB。
为了使场效应管正常工作,场效应管与一般晶体三极管一样应加以适当的偏置电压,使其建立起正确的工作点,其偏置条件一般比晶体三极管要求更为严格,这一点应特别引起业余爱好者注意。在一般情况下,可依据尽量使失真小、动态范围大的要求来选择偏置电压的高低。对于共源、共漏极电路(如图7中的BG\(_{2}\)和图6中的BG2),可通过调整R\(_{S}\)(即图7中的R11、图6中的R\(_{7}\)),使VGS=-V\(_{S}\)=VP2即可。V\(_{S}\)为S极(源极)对地电压,VP为夹断电压。
在业余条件下,要想准确测知场效应管的各项参数是比较困难的。用万用表只能作一些管子好坏的简单判断,方法是:对N沟道场效应管,可将万用表拨在R×1KΩ档上,黑表笔接“G”,红表笔先后接“S”和“D”,其阻值都应为5~10千欧;用红表笔接“G”极,黑表笔先后接“S”、“D”极,其阻值都应为无限大。对于场效应管各个具体参数的简易测量法可参考本刊1982年第7期《结型场效应管测试器》一文。(张开善 王衍意 侯葆芳)