输出峰—峰电压,或称之为最大输出电压、输出电压摆幅、输出电压动能范围,一般被定义为:运算放大器在额定电源电压和额定负载下、不出现明显削波失真时所得到的最大峰值输出电压,常用V\(_{opp}\)表示。一般常规运放的Vopp指标约比正、负电源电压各小2~3V。
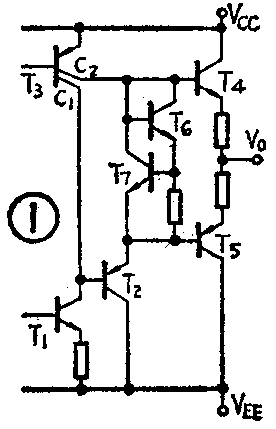
为什么运算放大器的输出电压最大值都要比电源电压低呢?我们可以通过对具体运放输出级电路的分析来了解这个问题。图1所示为通用型运放CF741的输出级电路,图中T\(_{1}\)组成中间级共射放大电路,T2为中间级与功放级间的射随器缓冲级,T\(_{3}\)的两个集电极分别接T1的集电极和PNP管T\(_{2}\)的发射极(通过功放级偏置晶体管T6、T\(_{7}\))作为它们的有源负载。T4与T\(_{5}\)组成互补射随器功率放大级。当输入信号使T4工作、输出电压V\(_{o}\)增大时,功放管T4的管压降V\(_{CE4}\)与恒流源管T3第二集电极的管压降V\(_{EC3}\)均将减小并趋于饱和。当T3进入饱和后、恒流源电路将失去恒流特性,使运放输出产生很大的削波失真。因此V\(_{0}\)的最高摆动幅度将受T3管饱和及T\(_{4}\)管发射结压降的限制,而不能接近正电源电压VCC。T\(_{3}\)管临界饱和时有VBC3=0、V\(_{EC3}\)=VEB3≈0.7V,这时V\(_{B4}\)≈VCC-0.7V,考虑到功放管T\(_{4}\)工作时要保证发射结电压VBE4≈0.7V,因此输出电压V\(_{o}\)向上摆动到VCC—1.4V时即已使T\(_{3}\)管趋于临界饱和,因此VCC—1.4V即为CF741输出电压V\(_{o}\)的摆动上限值。输出电流较大时,因管压降增大、Vo的摆动上限还将进一步减小。当输入信号反相使中间级放大管T\(_{1}\)的集电极电流IC1增大、致使T\(_{4}\)截止而T5导通后,V\(_{o}\)即减小并变为负值。当T1工作到临界饱和时,有V\(_{CB1}\)=0、VCE1=V\(_{BEl}\)≈0.7V即VC1≈V\(_{EE}\)+0.7V(T1管发射极电阻的阻值很小,其上的压降可略而不计),考虑到隔离晶体管T\(_{2}\)及功放管T5的发射结压降均约为0.7V,因此V\(_{EE}\)+2.1V即为通用运放CF741的Vo摆动下限值。所以CF741的输出电压峰—峰值指标一般规定为V\(_{CC}\)—(2~3)V~VEE+(2~3)V。当采用±15V供电时其V\(_{opp}\)即为±(12~13)V。

对其他型号的运算放大器,除低增益宽频带运放CF702因采用+12V、-6V电源,因而其输出电压摆幅V\(_{opp}\)比较小以外,其他通用运放以及各种低漂移、低功耗、高阻、高速等专用型运放,因输出级形式基本与CF741相同,因而其Vopp指标也基本相同,在±15V电源电压下一般均可保证在±12V左右。
运算放大器的V\(_{opp}\)指标与电源电压、负载电阻以及失真条件有极为密切的关系。电源电压的高、低直接会影响器件的Vopp,这点从上面的分析可以明显看出。同样,负载电阻R\(_{L}\)的大小对器件的Vopp也有明显影响,因为R\(_{L}\)较小时,在同样的输出电压下运放将提供更大的输出电流,这时功放管的饱和压降也将相应增加使运放的输出峰—峰电压值减小。图2所示即为集成运放的增益特性与负载RL的对应关系,可以明显看出,R\(_{L}\)减小时器件Vopp的饱和值也随之减小。图3所示为低功耗运算放大器FO10的R\(_{L}\)与Vopp的对应关系曲线,从中可以明显看出V\(_{opp}\)对RL的依从关系。因此,只有在手册规定的额定负载电阻下,才能保证器件有足够的输出电压幅度,这在设计电路时必须加以注意。(张国华)

