随着家用电器的迅速发展,人们在日常生活中和“电”的关系越来越密切。为安全用电,我们试制了一种漏电保护器,它可安装在住户分表盘上,作为一户多台电器设备的总保护。
保护原理
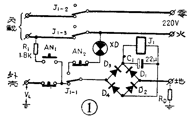
电路见图1。图中负载即家用电器,外壳即家用电器的外壳,当家用电器外壳漏电时,家用电器外壳有对地电压,设为V\(_{L}\),经桥式(D1~D\(_{4}\))整流后的输出电压为0.9VL,设继电器J\(_{1}\)的线圈直流电压为VJ,当0.9V\(_{L}\)≥0.7VJ时,保护器就动作,将负载与220V电源断开,使人身免于遭受触电危险。

从图可见,接地体的接地电阻R\(_{D}\)对VL是有影响的,其关系为V\(_{L}\)=0.78VJ+0.78V\(_{J}\)RD/R\(_{J}\)(V)。这里用的直流继电器J1为JQX—1O型,它的V\(_{J}\)=24V,RJ=25OΩ,所以V\(_{L}\)=18.7+0.075RD(V)。若R\(_{D}\)在230Ω以内时,则J1能在交流18.7V到36V之间动作。
如果家用电器电源火线直接碰壳,其对地电压达220V,若R\(_{D}\)<30Ω时,J1线圈将承受198V直流电压的冲击,因保护器动作时间很短,约为0.03秒,所以继电器线圈的温升约为0.73°C,还不致于损坏继电器。
电路工作原理
这种保护器的电路由直流继电器J\(_{1}\)、整流器(D1~D\(_{4}\))和接地体RD组成。当家用电器漏电电压达到0.9V\(_{L}\)≥0.7VJ时,J\(_{1}\)立即吸合,其动触点J1—l、J\(_{1—2}\)、J1—3由常闭点转换到常开点,其中J\(_{1—2}\)、J1—3迅速切断家用电器的电源,J\(_{1}\)吸合后,220V交流电源(图中火线)经信号灯泡XD按钮AN2、接点J\(_{1—l}\)和整流电路,接通J1线圈,使J\(_{1}\)自锁,信号灯XD发出漏电指示。待故障排除之后,按一下AN2,J\(_{1}\)复位。为随时检查保护器是否守职,可按一下AN1,如果J\(_{1}\)吸合,说明保护器工作正常。
元件选择与装配
直流继电器J\(_{1}\)可选线圈直流电压VJ=24V,直流电阻R\(_{J}\)=200~350Ω的继电器,这里选用的是JQX—10型,其VJ=24V,R\(_{J}\)=250Ω。
D\(_{1}\)~D4选用2CP17~2CP20型。电解电容器C\(_{1}\)选用20μF,耐压大于160V。电阻R1功率为\(\frac{1}{2}\)W,XD为15W、220V指示灯泡。
接地体可利用R\(_{D}\)<200Ω的自然接地体,这里是利用自来水管干线管道。如在新建楼房时拟采用这种保护器,应在供电设计时根据《电力设计技术规程》统一考虑。
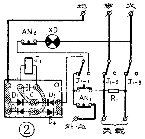
元件装配接线见图2。保护器与接地体(自来水管)用截面1mm\(^{2}\)绝缘外皮铜导线连接,将接地体先用砂纸除锈后再用上述铜线绕5到10圈并拧紧,最后刷上两道调和添防锈。(蒋礼堂)
