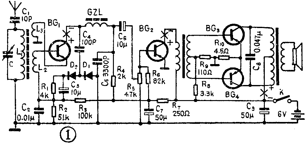
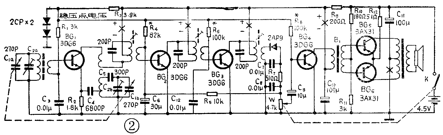
测量收音机中各三极管的电流和电压时,必须使收音机处于静态,所谓静态,就是指收音机没有接到任何外来信号的状态。一般用一根导线把可变电容器的动片和定片接通,使之短路,同时把电位器旋至音量最低处。图1是典型再生式四管收音机,图2是超外差式六管收音机的电路图。附表1和附表2又分别是它们在静态时的有关电流和电压值,供参考。


附表1
测试点 BG\(_{1}\) BG2 BG\(_{3}\)、BG4
集电极电压 4V 5.2V 5.9V
集电极 1~2mA 2mA 2~6mA
电流(静态) (两管值)
附表2
测 试 点 BG\(_{1}\) BG2 BG\(_{3}\) BG4 BG\(_{5}\)、BG6
集电极电流 0.3~ 0.4~ 0.5~ 1~3 3~6
(静态) 0.6 0.6 0.8 mA mA(两管值)
mA mA mA
测量静态工作电流
1.整机静态工作电流的测量
整机静态工作电流比各级三极管集电极电流之和略大些。电源电压为4.5伏的六管机的整机电流约为8~10毫安。
测试时,应把电流表串联在电源回路中。为防止因机内故障引起的大电流损坏电流表,通常先选择万用电表直流电流档的最大量程,经试测后,再视具体情况,逐步减小电流档的量程,以得出较精确的电流值。
把电流表串联进电源回路的方法,可以根据具体情况,选择以下的一种:
(一)取下电池组,把开关接通,让电池组负极与收音机中电池架的负端(即有弹簧的一端)相接,把电流表的正(红)表笔接电池组的正极,负(黑)表笔接电池架的正端,见图3所示。

(二)如图4所示,用硬纸板插入电池正极与电池架之间,也可以插入两电池之间,然后把表笔插在硬纸板两边进行测试。插表笔时,正表笔总是与电池正极相接,负表笔总是接在电池架正端或前一节电池的负极上。

(三)有时可以按图5给出的方法,即断开电池架至机内的引线,把电流表串联进去测量。

(四)因为收音机的开关总是与电源相串联的,所以,关闭开关,把表笔跨接于开关的两端也能很好的测出整机静态电流,表笔的接法如图6所示。

各级集电极静态电流的测量
各级三极管集电极的静态电流都在10毫安以下,所以选择万用电表的直流电流10毫安档就行了。测量时,应把电流表串联进三极管的集电极回路,并注意表笔的接法。图1和图2中的“×”和“+、-”分别表示电流表串联进去的位置和正、负表笔的接法。“×”表示断开,“+”表示接正表笔,“-”表示接负表笔。
由于三极管都是焊接在电路板铜箔上的,所以,在测试中,还需要把所测三极管的集电极从电路中断开,才能把电流表串联进去。有的厂家在制印刷电路板时,已考虑到测量集电极电流的需要,在集电极回路中的铜箔电路上留有缺口,做为测试点。装机时缺口都已焊通。我们测量时,可以设法在集电极回路中找到缺口,并用烙铁烫开,把表笔分别接在缺口的两边就可以测试了,如图7所示。如果电路板的集电极回路中没有这样的缺口,可以用小刀自行切开一个宽0.5~1毫米的小缺口。测完后,注意不要忘记再把缺口焊上。但此方法尽量少用。有的自装收音机是用小铜铆钉铆在电路板上的,测这类电路板上的集电极电流,应先把三极管的集电极从电路中焊脱开,然后,把电流表的一只表笔接集电极,另一只表笔接铜铆钉上进行测量,如图8所示。


另外,测量各集电极的电流还有一种简单方法,如图9所示。测出整机的静态工作电流,然后设法使某三极管的基极对发射极(有的也可对地)短路,整机电流就会减小,其减小量就是该三极管的集电极电流。例如:测得整机电流为10毫安,把前置放大级三极管的基极对地短路后,整机电流减小到8.5毫安,则前置放大三极管的集电极电流就是:10-8.5=1.5(毫安)。对于PNP与NPN两种类型三极管混装的收音机,在使用上述方法时应慎重,搞错了,整机电流将会增大,甚至烧坏三极管。

测量各极的静态工作电压
在有的收音机电路图中,三极管的各极上标出了它们正常工作时的对地电压(即与地线的电位差)。测量三极管各极上的对地电压,应选择万用电表的直流电压档,量程应大于或等于收音机所使用的电源电压,否则将测不出并损坏电压表。
在测量时,也应注意正、负表笔的接法,如果该机主要是由PNP型三极管(如3AG系列、3AX系列等)组装的,那么电路中的地线一般与电源正极相连接,三极管各极电压对地均为负值。此时,正表笔应接电路中的地线或电池组正极,用负表笔分别去接各极,如图10所示。如果该机是主要由NPN型三极管(如3DG系列、3DG系列等)组装的,那么,出现的情况和正、负表笔的接法均与上述相反。

最后,值得一提的是:对于有发射极电阻的三极管放大电路,在确知发射极电阻的阻值和旁路电容完好的情况下,可以由测出电阻两端的电压值除以电阻值来算出近似的集电极的电流。如图11所示,若测得发射极上的电压是1.6V,而发射极电阻是2KΩ,则发射极电流I\(_{e}\)=1.6÷2KΩ=0.8mA则集电极电流Ic≈I\(_{e}\),Ic=0.8mA。因为I\(_{c}\)+Ib=I\(_{e}\),而Ic》I\(_{b}\),所以有Ic≈I\(_{e}\)。(徐达林)
