一、实验目的
1.学习半导体光电二极管的基本知识。2.了解晶体三极管的电流放大作用。3.练习安装简单的光电控制电路。
二、实验材料
这个实验所需的元器件详见表1。其中“光电二极管”是一种能把光照强弱变化转换成电信号的半导体器件。目前常见的型号为2CU型,外形见图1。光电二极管的管壳顶端有一个能射入光线的窗口,光线通过窗口照射到管心上。在光的激发下,光电二极管内部要产生大批“光生载流子”,管子的反向电流大大增加,使内阻减小。光电二极管的两根引线分正、负极性,使用时要注意区分。


三、实验步骤
1.光电二极管的检验:第一步把万用表的转换开关拨到R×1K档,按图2a的接法测量光电管的反向电阻。表针偏转应很小,电阻读数在200千欧以上。这时,我们用手电筒光照射光电管的窗口,如图2b所示,可以看到表针偏转立即加大。光线越强,光电管的反向电阻读数越小,最后可降低到几百欧姆。关掉手电筒,表针读数立即恢复到原来数值。重复做几次实验,我们可以得出结论:光电二极管的反向电阻随它所受光照的增强而减小。这就是光电二极管的基本特性。第二步测量光电二极管的正向电阻,如图2c,它的读数为几千欧左右,且不随光照而变化。

以上实验证明了光电二极管是一种光电转换器件。具有这种特性的器件还有半导体光电三极管、光敏电阻、光电池等。在实际应用中,它们有着广泛的用途。
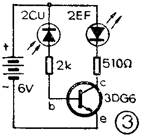
2.光电控制实验:光电二极管虽然能将光信号转换成电信号,但是输出的光电流很小,不能用来直接带动负载,必须用放大器加以放大。
图3所示电路是个最简单的放大器,用三极管BG作为电流放大器件。我们知道,在一定的范围内,三极管的集电极电流I\(_{C}\)和基极电流Ib是成正比的。它们的比值β=\(\frac{I}{_{C}}\)Ib就叫做三极管的直流放大系数。利用三极管,我们可以用基极电流去控制集电极电流,使它随基极电流变化而变化。而集电极电流比基极电流大得多,所以微小的基极电流变化就变成了大的集电极电流变化,这就是三极管的电流放大作用。例如,我们要点亮图3中的发光管,需要10毫安的电流通过它。如果使用的三极管β值是50,那么我们只要向它提供很小的基极电流I\(_{b}\)=IC;β=1050=0.2毫安就行了。

在图3中,光电二极管的反向电阻作为三极管的基极偏流电阻(串联2K保护电阻,防止基极电流过大)。无光照时,光电二极管反向电阻很大,它提供的三极管基极电流很小,虽经放大还不能点亮发光管。光电二极管受到光照射后,反向电阻立即减小,三极管得到较大的基极电流,这时它的集电极电流就增大到足以使发光管点亮了。
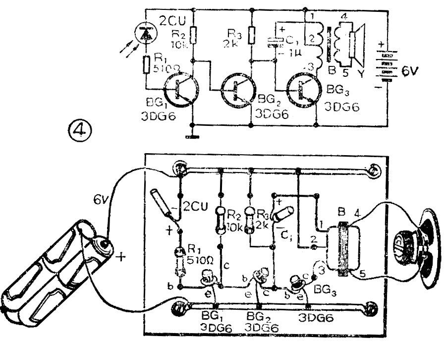
4.光控报警器:我们把光电控制电路和《实验一》介绍的蜂鸣器接在一起,就是一个光控报警器。在实验板上按照图4将电路焊好,检查无误后,接上电源,用光照射光电二极管,报警器就会发出音响,光一被遮住,声音也随之停止。有关本电路的原理请参看实验二。

四、试试看,想一想
如果手头没有合适的光电二极管怎么办?可以找一个玻璃外壳的半导体三极管。如3AX81,3AX71,3AG71等,把它的表面漆膜刮掉,擦拭干净,使光线能够射到管心上。用万用表的R×100档,如图5所示接法测量发射极和集电极之间的电阻。用手电筒光照射三极管看看表针读数有什么变化,想一想怎样用这支三极管代替光电二极管做光控实验。(陈鹏飞 王友文)
