中波或中、短波收音机都是用来接收调幅广播的。在广播电台中得到调幅信号的过程可用图1来说明。声音经过话筒先变成音频的电信号U\(_{Ω}\),然后在调制器中用该音频电信号去调制高频的载波信号UC,就得到了调幅波U\(_{M}\)。调幅信号的特点是它的频率仍然和载波频率一样,而它的振幅却随音频信号的大小作正比例的变化。反映这种振幅变化规律的曲线(图1c虚线)称为调幅信号的包络线,它的形状和音频信号完全一样,代表着广播电台播出的语言或音乐(见图1c)。

收音机天线上收到的无线电信号就是这种高频调幅信号。但是,如果把这种信号直接加到扬声器上是听不到声音的。因为扬声器是通过电磁效应把电信号变成音圈和纸盆的机械振动而发声的,这种机械振动的惰性很大,根本来不及跟上高频调幅信号的变化,虽然调幅信号的振幅在变,也不会引起纸盆振动而发声。要使扬声器工作,听到播音,必须把音频信号从调幅波中分离出来,将音频信号加到扬声器上才行。检波电路就是完成这种分离作用的电路。它的工作过程刚好和调制过程相反,是解除调制作用的,所以也叫做解调电路。
检波电路是从最简单到最复杂的收音机中都必不可少的基本组成部分,从原理上说,收到电台的信号以后,只要有检波电路和电声器件就可以听到声音。超外差机那样复杂,无非是为了提高接收质量,最基本的组成部分也还是检波电路。
检波原理
因为检波的任务是从调幅信号中分离出音频信号,所以检波电路的输入信号应是高频调幅信号,而输出信号则是与调幅信号的包络成比例的音频信号。即,电路输出输入信号的频率是不相同的。要达到这一目的,用一般线性元件组成的电路是无法实现的,必须用包括非线性器件的电路才有可能。所谓线性元件,是指加在元件上的电压和流过元件的电流成比例关系的那种元件,如电阻电容等。而非线性器件,是指加在器件上的电压与器件中的电流不成比例关系的那种器件,如半导体二极管、三极管等。在图2中我们画出了两个电路,其中a是由线性元件(电阻)组成的,而b是包括有非线性器件(二极管)的电路,倘若两种电路的输入端都加有同样的调幅信号,则在a中输出信号只是电阻R\(_{1}\)和R2的分压结果,它与输入信号的波形形状和频率完全相同,只是幅度上有了变化,所以是无法分出包络信号的。但在b中,由于二极管具有单向导电特性,当输入交流调幅信号为正半周时二极管导通,电路中有电流,在R\(_{2}\)上有电压输出,而当调幅信号为负半周时,二极管不通,电路中没有电流,在R2上也无电压输出,这样,在电阻R\(_{2}\)上输出的信号就只剩下输入信号的一半波形,即一串幅度按包络线变化着的高频脉冲,它们是单极性的信号,若定性地画出这些脉冲信号的直流分量,则如图2c中的粗实线所示。这个直流分量的大小是随着每一个高频脉冲的幅度而变化的,当然与调幅信号的包络成比例,所以实际上就是音频信号。就是说在包括有非线性器件的电路输出端得到的高频信号中包含有所需音频信号的成分,或者说产生了新的频率。不过,这一串单向脉冲终究还是高频信号,还不能使扬声器发声,即,图2b的电路还没有完成分离出音频信号的任务。我们只要进一步把信号中已有的音频成分与高频信号分开,就达到了检波的目的。

实际的检波原理电路如图3a所示,它是在图2b电路的电阻上并联了一个电容C,使C和R\(_{L}\)共同作为电路的输出负载,利用这个电容的充放电作用将音频信号与高频信号分开。我们先假设二极管正向电阻很小,反向电阻很大,负载电阻RL的数值远远大于二极管的正向电阻,而电容C的数值也要选得合理。现在看图3电路是怎样工作的。图3b画出了输入调幅信号的波形,当信号电压由A点上升到B点的过程中,二极管D导通,流过二极管的正向电流i一方面流过R\(_{L}\)(因RL较大,所以此电流很小);另一方面要给电容C充电,形成充电电流i\(_{充}\),由于二极管D的正向电阻RD很小,所以充电时间常数τ\(_{充}\)=RD·C很小,即充电很快,这样,电容C上的充电电压很快便可充到接近输入调幅信号正半周的峰值,即图b中的B′点、当输入信号从B′点下降时,因电容C上已经充有电压,其极性为上正下负,对电路中的二极管刚好是反偏压(见图3a),所以二极管被截止,这时电容器上的电压只好向右通过电阻R\(_{L}\)放电,形成i放。因R\(_{L}\)的数值比RD大得多,所以放电时间常数τ\(_{放}\)=RL·C远远大于充电时间常数τ\(_{充}\),即放电很慢,电容器上的电压只能缓慢地泄放,如图3b中的B′C线段所示。当电容器上的电压放到C点所示数值时,输入调幅信号下一个周期的电压又上升到了这个数值,并要继续上升,一旦二极管左端电压超过右端电容上放电后剩余的电压时,二极管便又导通,电容器C又被充电,图3b中从C→D′,D′基本上接近下一个脉冲的峰值(D点)。然后电容器又放电……充电……依此类推。不难想到,在电容器上就得到了和输入调幅信号包络基本一样的一个单向变化的直流电压。由于电阻RL是与C并联的,它们两端的电压一样,所以在负载电阻R\(_{L}\)上就实际得到了音频信号输出,如图3c。假如RL是个灵敏度很高的电声器件(例如耳机),那么就会听到广播了。

电容C和电阻R\(_{L}\)
从上述分析可见,在负载上实际得到的音频信号电压并不像调幅波包络那样平滑,而是有许多高频小“锯齿”,它是叠加在音频信号上的高频干扰。这些锯齿是由于电容器的充放电造成的,因此,锯齿的大小和R\(_{L}\)及C的数值关系很大。当C很小时,充电很快,但放电也快,锯齿当然就大(见图3d),同理,当RL很小时,放电也快,锯齿也大。这个锯齿是不希望的,它一方面造成对音频信号的干扰,使音质变坏,另一方面又可能通过某种途径反馈到小信号的高频级(例如中放电路等)造成自激。适当加大C和R\(_{L}\)的数值,使放电过程变慢,可以使锯齿幅度减小,使输出音频信号波形更平滑,更接近包络波形。但RL和C的数值也不能太大,若C太大,则充电变慢,C上充电的幅度变小,检波输出也就变小。C过大时,放电很慢,若前一个高频正半周时充电到了一定数值,而后一个高频信号正半周幅度小得多,则会使C上的电压跟不上高频信号包络的变化,严重时甚至由于这个电压泄放太慢使二极管在许多调幅小信号的周期中都无法导通,从而使输出音频信号相对于输入信号的包络产生严重失真,如图3e所示,这是不允许的。同样道理,若R\(_{L}\)太大,放电过程太慢,也会有同样结果。可见,RL和C的数值过大过小都会造成音频失真。它们有一定的数值范围,通常C的数值约为5100pF~0.01μF,R\(_{L}\)的数值约为4.7KΩ~10KΩ左右。
检波二级管
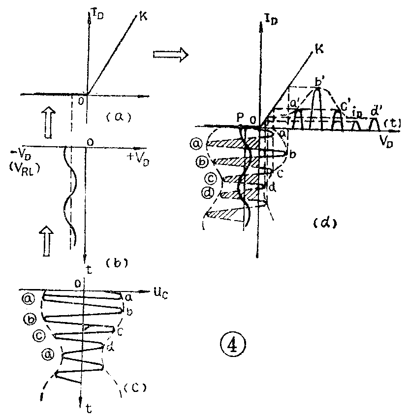
讨论二极管的工作,就是要找出加在二极管上的电压和流过二极管的电流之间的关系。为此,我们先假设二极管的伏安特性是图4a那样的理想化折线。通过上面的讨论我们知道,加在二极管上的电压有两个,一个是检波负载(C和R\(_{L}\))上的直流音频电压,它对二极管构成变化着的直流反偏压。或者说二极管的工作点是按此直流音频电压变化的。我们把它画在图4b那样的坐标系中。因它是二极管的反偏,所以画在坐标中负值一侧(-VD)。另一个电压是输入的交流调幅信号。画在图4c的坐标系中。若把a,b,c三个图形合画在一起,就得到了为分析二极管检波工作的图4d。在图中表明了二极管的工作点P是随时间按音频变化的,而加在二极管上的信号电压是随时间由a→b→c→8……变化的。由于有了反偏,所以二极管只在输入信号的幅度超过二极管的导通电压(V\(_{D}\)>0)时才会导通(图中无阴影的部分),根据使二极管导通的那部分电压波形不难通过二极管伏安特性逐点画出相应的二极管输出电流波形iD。图4d中列举了对应的数点a→a′,b→b′,c→c′,d→d′……。可见i\(_{D}\)的波形将是一串单极性的脉冲电流,当二极管的正向导通特性OK是直线时,iD波形的包络线一定和输入调幅信号的包络线成比例(波形形状一致)。这时检波输出当然就不会有失真。由此图解还可看出以下几个问题:

(1)如果二极称正向特性不是直线,电流i\(_{D}\)波形的包络就不会和输入信号包络形状一样,即检波后必然造成音频失真。
(2)二极管正向特性OK越陡,二极管输出电流i\(_{D}\)的幅度就越大,在检波负载上得到的音频输出也就越大,或者称为检波效率越高,这是很有利的。
(3)如果二极管特性如图5那样,在正向导通时只在V\(_{D}\)足够大时才与ID成线性关系,而V\(_{D}\)较小时不与ID成线性关系,则要得到包络不失真的i\(_{D}\)波形,必须使输入的调幅信号足够大,工作在VD—I\(_{D}\)特性的线性区域才行。如果输入信号小,工作在VD—I\(_{D}\)特性非线性区,就必然造成iD的包络失真,虽然也能实现检波作用,这种失真也是很不希望的。而且由于这部分V\(_{D}\)—ID特性曲线斜率小,所以检波输出也小,检波效率也低。由此可见,检波电路的输入信号必须足够大,通常称作大信号线位检波。至于小信号的非线性检波,因其失真大,效率低,目前除非极简单的收音机之外已很少应用。这就是为什么超外差机的中放电路需要有高增益又加AGC将信号控制到适当大小的原因之一。

(4)实际二极管的特性如图6,不但正向并非直线,而且还有“死区”存在。锗管的“死区”比硅管要小,所以从对输入信号大小的要求即失真方面考虑,锗管更好些。另外,二极管反向特性也并非绝对截止,所以在有交流输入信号时,反向也会有高频电流,使i\(_{D}\)出现负值,iD的直流分量就会减小,即检波后的输出减小,检波效率降低。这方面硅管比锗管好些,但这种影响很小,一般并不考虑。

(5)与上述二极管反向导通的影响一样,还应考虑到二极管有结电容存在,它相当于与二极管并联,会对高频信号起旁路作用。所以检波二极管必须用结电容小的高频点接触型二极管。
这样,我们可把选用检波二极管的原则简单归纳为:正向电阻小(应在300Ω以下),曲线陡直,反向电阻大(应在100KΩ以上),结电容小等等,通常多用2AP9。
实际电路
图7是牡丹6410机的实际检波电路,目前超外差机检波电路大都如此。图中B\(_{4}\)是中放的最后一个中周,中频调幅信号由次级线圈送至检波二极管D2,检波负载是音量电位器W,上述负载电容在这里被C\(_{26}\)R14和C\(_{27}\),组成的π型滤波器所代替,这是与原理电路稍有区别之处。如和原理电路对照理解,不妨把C26看成是负载电容,R\(_{14}\)和W一起看成是负载电阻。而R14和C\(_{27}\)又构成了对残余中频信号的滤波电路,以滤除在C26上残存的中频信号,使W上得到更平滑的音频输出。音频信号由W的中间头引出送至低频放大器。在C\(_{26}\)上同时还取出一路直流音频电压经R13C\(_{16}\)进一步滤波后作为AGC控制电压使用,这里不多讨论。

检波电路元件不多,比较简单,相对地说故障较少。若D\(_{2}\)衰老,会造成音轻;C26C\(_{27}\)失效会造成啸叫式噪声增加;C26C\(_{27}\)短路或漏电会造成无声或音轻。实用中最易损坏的是电位器磨损导致的噪声增加,这只要更换电位器即可。(王勤)