在修理、调试电视机或其它高频(或脉冲)电路时,往往需要知道是否有高频或脉冲电压输入或输出,但在业余条件下,一般手中没有高频电压表。这里介绍一个简单易制的高频检波式微型电压表,携带使用都很方便。
工作原理
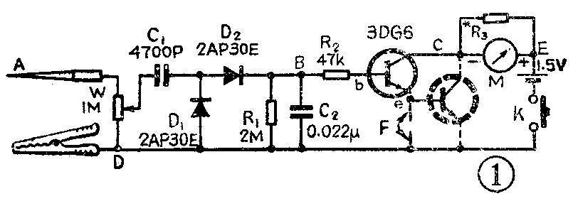
高频电压表电路如图1所示,这是一个高频倍压检波式直流分量平均值指示电路。当高频信号加至输入端A端时,高频信号经过电位器衰减后送到半波倍压整流(或检波)电路,在B点得到一个与输入电压成比例关系的直流分量平均值电压,此电压经晶体管直流放大器放大,在集电极输出端的电流表就指示出与输入电压成比例的电压值。它的原理相当于收音机的平均值式自动增益控制电路,即检波后直流分量平均值的大小,直接反映了输入信号的高低,所以可以作为高频或脉冲电压的测量或指示。由于二极管的非线性特性,在输入电压小于0.3伏时呈现较大的正向电阻,所以输出电流很小。当输入电压大于1伏时,检波后的直流电流平均值经过三极管放大,会使输出管趋于饱和,故直接输入的电压(即输入不加衰减器)一般限制在1伏(有效值)以下,见附表和图2曲线。图2曲线为电源电压是1.5伏时,输入电压与I\(_{b}\)、Ic、β的关系。因此,输入端如不加衰减器,能够指示的电压范围较窄,约在0.3~1伏之间,它的刻度也不完全是线性的。为了扩大量程又要简化输入电路和缩小体积,在输入端加一个电位器即衰减器,进行调节,这样量程可扩大到几十伏。加三极管直流放大器的目的,是为了提高测试灵敏度和增加输入阻抗,否则会影响被测电路的工作状态。


高频输 基极 集 电 检波后 三极管 三极管
入电压 电流 极电流 直流分量 e-b结直 直流放
有效值 I\(_{b}\) Ic 平均值 流电压 大倍数
(V) ) (mA) V\(_{BD}\)(V) eb(V) β
0.1 0.4 0.073 0.13 0.08 182
0.2 0.8 0.155 0.38 0.21 194
0.3 1.9 0.42 0.62 0.36 220
0.4 4.1 1.06 0.85 0.51 260
0.5 7.6 2.32 1.13 0.62 306
0.6 12.2 3.9 1.64 0.68 320
0.7 16.8 5.4 1.92 0.7 330
0.8 22 7.2 2.1 0.71 327
0.9 28 8.7 2.48 0.72 310
1.0 34 9.3 2.8 0.73 273
元件选择与安装
微型表的全部元件装在一个盛强力银翘片的有机玻璃管内(用其它塑料管也行),外形尺寸为φ24×50。元器件安装在图3所示的1:1印制板上。电阻用1/16瓦的微型电阻,与表头并联的分流电阻R\(_{3}\)由于配用的表头灵敏度和内阻各不相同,必须在校正刻度时决定阻值。

表头M采用收音机调谐指示或电平指示用的微型槽形表,灵敏度在0.25~3毫安之间均可用。安装时,需将表头外壳拆掉,取出表心,嵌在印制板的缺口中,然后将表心支架与印刷板用锡焊接固定。电容用小型瓷片电容,C\(_{1}\)要求耐压≥250伏,C2要求耐压≥63伏。二极管用2AP30E,它有较好的高频特性,此管不能用硅二极管。三极管用3DG6,要求直流放大倍数β=300左右,穿透电流I\(_{ceo}\)<0.1μA。若没有这么高β值的三极管,也可以用两只低β值的管子接成复合管用,见图1虚线。电源开关用空心铆钉改制,里面装入一个小弹簧,使用时按下电源接通,不用时松开按钮电源就断开,很省电。具体安装见图4、图5。电池用计算器用的钮扣电池,电池盒用一个银翘解毒片瓶塞改制,电池正好嵌入瓶盖内,底部放入一个大焊片,底侧壁切开一个槽口,将正极引的直接焊在表头支架上,负极为φ5×0.1(mm)铜片,用导线连接。对准电池中心的塑料外壳上攻M3的螺丝钉孔,安装时将固定负极铜片的螺丝钉压紧电池引出线。输入衰减电位器装在外壳底面外侧,中心动触头用电源插头的接触柱改制,穿过底面中心孔与印刷板直接焊接,电位器基片可用WH—9型电位器上拆下来的基片改制,阻值≥1MΩ输入端用一根M2×25螺钉与电位器基片一端连接,另一端用螺钉固定并接地,电位器动触头滑动臂用空心铆钉及大焊片改制,套在中心柱上,并用弹簧压紧,以便有良好的接触。动触头外侧焊一个指针,作为衰减器输入电压大小的刻度指针,具体安装结构见图6所示。



校试方法
用一台高频信号发生器及一台高频毫伏表或一台示波器作幅度监视。先将电表灵敏度调到最高端(即不用衰减器),R\(_{3}\)用一只100Ω的电位器代用,并将R3调到阻值最小,将信号发生器输出的1MHz等幅正弦波信号输入到被校电表,加大信号发生器的输出到1伏(有效值),接通被校电表的电源,慢慢调节R\(_{3}\)电仪器,使表计指满度,这时集电极电流约在9mA左右,然后焊下R3,用直流电桥测量它的阻值,再用相同阻值的固定电阻代替。因R\(_{3}\)要求阻值较严格,若不是标称值,应自制。自制R3时,用线径为0.06~0.1mm的电阻丝绕在1/16瓦10KΩ以上的炭膜电阻上再用电桥测试阻值。将R\(_{3}\)换上固定电阻后,电表还需重复校对一次,当输入1伏高频电压时,表头指针仍应指满度。
校正表头分度时,将高频信号发生器输出从1伏降到0.8、0.6、0.4、0.2伏,分别在表头指针相应指示处刻划出标记,即得到从0~1伏的直流输入刻度范围。然后再校对一下频带宽度,使信号发生器输出1伏不变,改变频率从100KHz到30MHz或更高,看表针是否仍指满刻度,如频率调高到使表针降到0.9伏以下时,此频率即为最高测试频率,一般可达到30兆赫。输入衰减器上的刻度,可使用低频信号发生器,在10~10KHz范围任意选择一个频率校试。因为用衰减器的最大输入信号可达几十伏,而一般的高频信号发生器不可能输出过么高的电压,所以刻度时先将输入衰减器调到灵敏度最低点(即电位器动触头调到“地”端),控制信号发生器输出到10伏,转动W,直到表针指满度,这时在输入动触头指针指示点画一条刻度线即为10伏刻度线。用同样方法将20伏、30伏等刻度画出。
这个高频电压表虽然频响较宽,体积小巧,结构雅致美观,使用携带方便,但也有一定的缺点。第一,检波的最小电压值受二极管非线性特性的限制,必须在0.3伏以上才能正常工作,要测量300毫伏以下的电压,必须在前面加一宽带放大器和衰减器。第二,它的刻度是用等幅正弦波信号校正的,如被测信号电压是非正弦波,则指示的读数将有较大的误差。第三,微型指示表头很小,这对表头的要求就比较高。如没有这种表头,也可以用万用表的10mA电流档配合使用,效果也不错。(金德初)