这里介绍的检测数字脉冲电路的电平笔是由CMOS集成电路和发光二极管数码管组成的。其特点是经过相应的译码方法由数码管显示H(High高电平)、L(LOW低电平)和C(CP时钟脉冲)三种状态的字形。
电路介绍
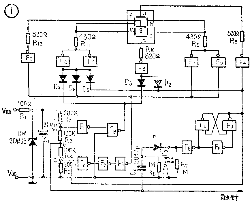
这种电平笔的电路见图1。由R\(_{1}\)、DW和C1组成电源输入电路,V\(_{DD}\)接被测电路的正电源,VSS接其0伏(地端)。稳压管DW在此处有两个用途,一是稳压,将加在CMOS电路上的电压稳在10伏;二是保护CMOS块。假若不慎将电源极性接反,DW就正向导通,稳压管两端仅有0.7伏左右的饱和压降,从而保护了CMOS集成电路。

图中R\(_{2}\)、R3、R\(_{4}\)、R5四个串联的分压电阻、门电路F\(_{1}\)、FA、F\(_{B}\)、FC、F\(_{D}\)和触针部分组成电平鉴别电路。CMOS集成电路的转移电平电压约为电源电压的1/2,由于电阻R2、R\(_{5}\)各为200KΩ,R3、R\(_{4}\)分别为100KΩ,所以在触针悬空时(未测量时),a点电位是电源电压的2/3(VSS为0伏),在转移电平以上,属于逻辑“1”;C点电位是电源电压的1/3,处在转移电平以下,属于逻辑“0”状态。此时门F1输出低电位、F\(_{B}\)输出高电位,二极管D3、D\(_{4}\)截止;而且门FA输出高电位,F\(_{2}\)输出低电位、F3输出高电位,二极管D\(_{5}\)截止,门Fa、F\(_{b}\)、Fc输出均为低电位,所以数码管上无字形显示。
测试时,若触针测到的是高电位,则b点为高电平,变为逻辑“1”;c点电位上升并超过转移电平,所以c点变为逻辑“1”状态;a点仍为“1”状态。此时,门F\(_{A}\)输出为低电平,F2输出为高电平,F\(_{3}\)输出为低电平,二极管D5导通,门F\(_{d}\)、Fe输出均为高电平、数码管的f、e段亮,同时门F\(_{a}\)、Fb、F\(_{c}\)输出也为高电平,使数码管的b、c、g段亮,显示出字形“H”,表示触针测得的高电位。
同理,若触针测的是低电位,b点为“0”状态,c点回到“0”状态,a点由“1”变为“0”形态。此时门F\(_{1}\)输出为高电位,FB输出为低电位,二极管D\(_{3}\)、D4导通,数码管的f、e、d段亮,显示出字形“L”,表示触针测的是低电位。
若触针测的是脉冲,此脉冲信号经C\(_{2}\)、二极管D1、电容C\(_{3}\)积分电路,给C3充电,使门F\(_{5}\)输入端电位升高,F5翻转,触发由F\(_{6}\)、FC、F\(_{D}\)组成的触发器,FC输出为高电平,F\(_{D}\)输出为低电平,门F4、F\(_{f}\)和Fd~F\(_{e}\)输出均为高电平。输出高电平时,D2、D\(_{6}\)导通,D3、D\(_{4}\)、D5起隔离作用。数码管a、f、e、d段亮,显示出“C”字形,表示触针测的是脉冲。同时,门F\(_{D}\)输出的低电平加到门FA的输入端,从而闭锁数码管的b、c、g段不亮。
元器件选择
电阻R\(_{1}\)用2瓦的线绕电阻,也可自制,其它各电阻均为1/4瓦金属膜电阻。二极管D1~D\(_{6}\)用2CK70A或2CK10A。门FA、F\(_{B}\)、FC、F\(_{D}\)用一块CO36;门F1~F\(_{6}\)与门Fa~F\(_{f}\)各用一块CO33集成电路块。LED数码管用BS202型,其管脚连线见图2。

该电路若元器件完好,安装无误,安装后一般都能正常工作。(刘家棣)

