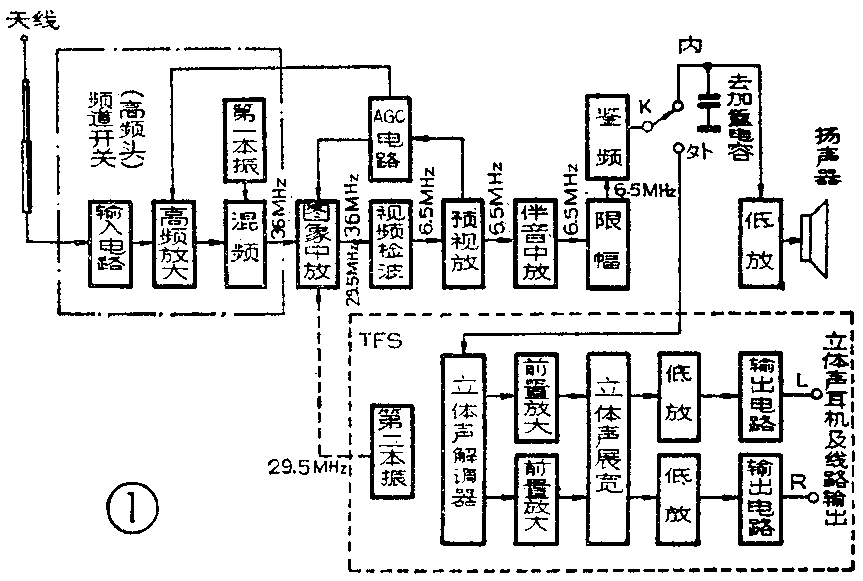
TFS是一种使用电视机接收调频立体声广播的装置,它可以附设在采用KP12型高频头的各种国产电视机上。由于该装置利用了电视机的天线、频道转换开关(高频头)、图像中放、视频检波、伴音中放、频率解调器、电源等一切可以利用的部分,因而使接收性能极优良,结构简单,成本低廉。电视机增设TFS装置后不影响原机性能,收听立体声广播时,扫描及显像管不工作,因而耗电省,也不影响显像管的使用寿命。图1是接收立体声广播时的方框图,由图可见虚线框内是TFS装置,它是由一个振荡器(第二本振)、立体声解调器、立体声展宽电路及左、右两路前置放大器、低频放大器、输出电路组成。

接收调频立体声广播时,高频头输出一个36MHz的信号,第二本振输出一个29.5MHz信号同时送到图象中放级,经差拍由视频检波级输出6.5MHz信号,再经预视放、第二中放、限幅,由鉴频器送出立体声复合信号,再由TFS装置解码,送出左、右两路音频信号。
电路介绍
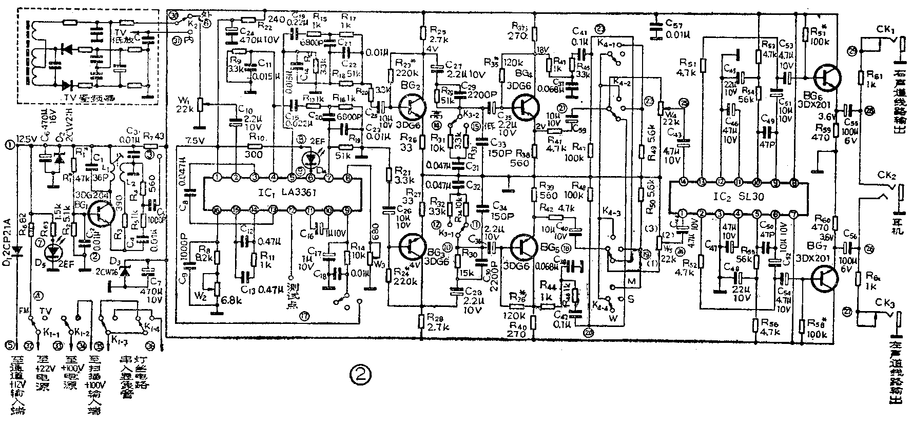
图2电路除虚线部分是电视机鉴频器外,其余均焊在图3印制电路板上。K\(_{1}\)是“电视—调频”(TV-FM)转换开关,图中K1的接法是以飞跃19D1型电视为例的。由于这类电视机通道采用泵电源,在接收调频立体声广播时,扫描电路+100V电源被切断,所以通道的+12V电源也就同时被切断了,TFS装置及通道部分所需的电源由+22V经R\(_{6}\)降压,C6滤波,D\(_{2}\)稳压之后取得。D1是单向加电二极管,其作用是当K\(_{1}\)置于“FM”时,TFS装置的电源可通过D1加给通道部分,而当K\(_{1}\)置于“TV”时通道部分的电源却不能加到TFS装置。其他采用泵电源的大屏幕电视机,均可参照上述方法,由扫描电源降压取得。国产9英寸、12英寸的电视机,R6、C\(_{6}\)、D1、D\(_{2}\)均可省掉不用,TFS装置可直接由+12V经K1取得,方法参照图4。K\(_{2}\)置于“外”时,鉴频器去加重网络断开、复合信号进入LA3361;K2置于“内”时,去加重网络接上,由电视机扬声器放音。



立体声解调器是由IC\(_{1}\)及外围元件组成。这是一个锁相环立体声解调电路,分离度大于30dB。由电视机鉴频器输出的立体声复合信号经过K2、W\(_{1}\)、C10加到LA3361第2脚。16脚接的C\(_{9}\)、R8、W\(_{2}\)是解调器内压控振荡器的外围元件。D4为立体声指示灯。左、右声道的音频信号由4、5脚输出,由R\(_{13}\)、R16、C\(_{2}\)0、C23和R\(_{15}\)、R17、C\(_{21}\)、C22组成的滤波器有效地滤除了音频信号中的副载波成分。
音调控制电路由R\(_{29}\)、C29、K\(_{3-2}\)、R31、R\(_{33}\)、C31及R\(_{3}\)0、C30、K\(_{3-1}\)、R34、R\(_{32}\)、C32组成。高音、低音固定两档,由K\(_{3}\)转换,结构简单,使用方便。
立体声展宽电路由BG\(_{4}\)、BG5、K\(_{4}\)及阻容件组成。K4是“立体声展宽—立体声—单声道”(W-S-M)转换开关。当K\(_{4}\)置于“M”时IC1内的副载波发生器停止工作,同时,由BG\(_{4}\)和BG5发射极输出的两路信号加到由R\(_{49}\)、R50并联组成的公共负载电阻上,使放音变为单声道:K\(_{4}\)置于“S”时为普通调频立体声放音;K4置于“W”时可使立体声声场展宽、听起来有较强的包围感。由于展宽电路抵消了前置放大器的增益,所以展宽电路之后又加入了一级由SL30构成的低频放大器。BG\(_{6}\)、BG7组成的射随器具有低输出阻抗,以便与低阻抗耳机匹配。考虑结构、成本等因素,TFS装置没有安排功率放大器,CK\(_{1}\)、CK2、CK\(_{3}\)可输出700毫伏音频信号,供给外接双声道功率放大器由音箱放音。
制作与元件选择
为了使用电视机收听立体声广播,除了加装TFS装置外,还需改动一下高频头。如想覆盖88~108MHz调频段,可选择三个空闲频道线圈改动,如当地只有一个调频立体声台,只需改动一个频道线圈就行了。改动数据可参考附表和图5。按附表数据绕制L\(_{5}\)~L9,FM\(_{1}\)段可覆盖88~95MHz;FM2段可覆盖95~102MHz;FM\(_{3}\)段可覆盖102~108MHz。(未完待续)(郭永久)

