工业生产中经常需要精密地测定设备的速度、转速、频率和其它各种脉冲量。有的一台装置要求测定多种数据,有的要求测定不同机台上的速度。这些都可以用一台数字测速仪来实现。本文介绍一种工业上用的数字测速仪,仪器采用HTL集成电路,具有高抗干扰特点;采用石英振荡器,数据精确;使用者不需换算,可以直接从仪器上读出被测设备的速度(米/分)、转速(转/分)、频率(周/秒)等数据;仪器有四位数,数字间有小数定位,每次测量从计数、显示、复位到下次测量都是自动进行,操作简便。
原理简述
被测速度脉冲信号经输入电路放大整形后输送给信号与非门。信号与非门的开门时间是由门控电路控制。在开门时间内信号与非门输出的计数脉冲由计数器累计计数。门时间结束时,计数器停止计数,数据由数码管显示。仪器原理方框图见图1。

门时间的长短是根据被测对象具体要求计算得到的,并在电路上预先设定好。门时间标准是由4千赫石英振荡器经40分频得到100赫,再经时基分频器,时基分频器由9个2分频器组成,可以得0.01×2\(^{n}\)秒周期脉冲(n=0~9)。故仪器的门时间可以在0.005~5.12秒范围内任意设定。
从计数、显示、复位到下一次重新计数,这种重复程序控制是由门控电路来完成,它是由门控RS触发器、显示单稳、复位单稳组成,系整个仪器的控制指挥部分。
输入电路
数字测速仪接受的信号波形是各式各样的,如正弦波、脉冲波、三角波等。而仪器数字电路对信号脉冲幅度和波形都有一定的要求。输入电路的作用就是将信号中的干扰滤除去,把不同波形信号交换成幅度一定的方波。
图4所画输入电路,是用于与可控硅变频器配套的数字测速仪,它的速度信号取自可控硅变频器中脉冲发生器,输入电路可以从简,用一级放大即可。
时基电路
时基电路由4KC石英振荡器、40分频器、时基2\(^{n}\)分频器和时基与非门组成。石英晶体与BG\(_{21}\)、BG22接成三点式振荡器,见图4。调整R\(_{21}\)阻值,使电路在通电后15秒钟内起振。振荡波形经C1R\(_{4}\)微分后由YF1输出窄脉冲。
40分频器用两只H013JK触发器和一只H150计数器组成。H013的J、K端置“1”时即成为2分频器。H150计数器的Q\(_{A}\)端与CPB端外接,CP\(_{A}\)端输入计数脉冲即成为二—十进制计数器,作10分频用。
时基分频器由n个2分频器组成,以便得到0.01×2\(^{n}\)秒(n=0~9)可设定的门时间。n最大取9,门时间最大为5.12秒。
电路中时基与非门个数的多少取决予仪器所要测定的数据种类,用琴键开关1KZQ接入门控电路。门时间的含义与计算见后述。
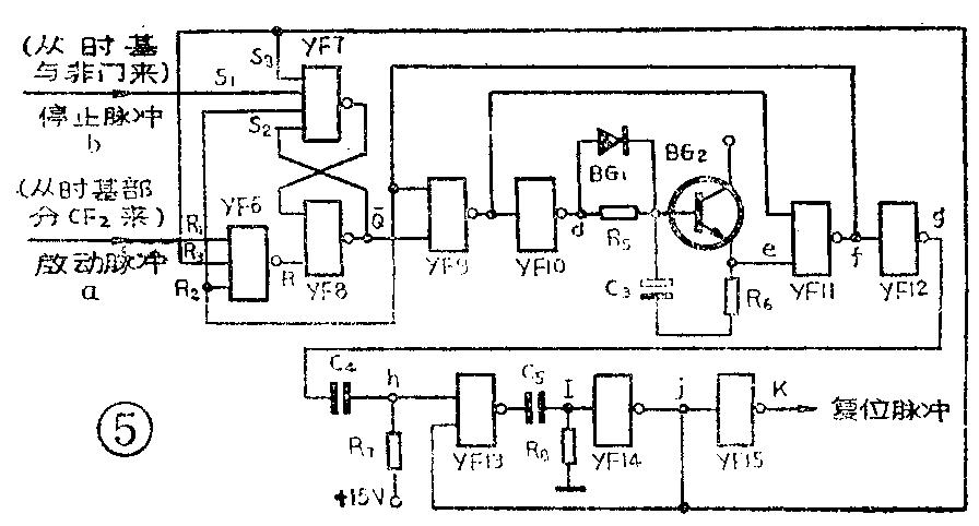
门控电路
门控自动复位电路由门控RS触发器YF6、7、8和显示单稳YF9、10、11、12,以及复位单稳YF13、14、15组成,逻辑原理图见图5。

电路复位后,门控RS触发器S\(_{2}\)=S3=1、R\(_{2}\)=R3=1,时基与非门输出S\(_{1}\)亦为高电平。这时R1端输入1KHz启动脉冲(从时基部分CF\(_{2}\) 来),门控RS触发器的Q-端保证为高电平,打开信号与非门YF16,信号脉冲送到计数器。从门控RS触发器真值表(见表1)可知:只要S端为1,Q-保持为1不变,信号与非门保持开门状态,不受R\(_{1}\)端1KHz脉冲的影响。
表1
S=S\(_{1}\)S2S\(_{3}\) R=R1R\(_{2}\)R3 Q-
1 0 1
1 1 1
0 1 0
0 0 不定
时基与非门各输入端均为高电平时输出停止脉冲。S\(_{1}\)由高电平变为低电平,门控RS触发器翻转,Q-端变为低电平,门时间即告结束。这时YF16信号与非门关闭,计数停止。触发器各点波形见图6a、b、c。由图可见,从复位后启动脉冲使门控RS触发器翻转、Q-端变为高电平开始(图6中t\(_{1}\)),到停止脉冲从S1端输入使Q-端重新变为低电平(图6中t\(_{2}\))的时间为门时间T。T=\(\frac{1}{2}\)ΣTn。ΣTn为时基与非门输入端各脉冲周期之和。

门时间结束,Q-端变为低电平,YF\(_{9}\)输出高电平,YF10输出低电平。但BG\(_{2}\)基极电容C3上高电位通过R\(_{5}\)放电很慢,使BG2输出仍保持高电平,YF\(_{ll}\)输出低电平。YFll输出接S\(_{2}\)、R2输入端对门控RS触发器进行闭锁,以保持Q-端低电平状态,即保持关门状态,而不受S\(_{1}\)、R1输入端电平变化的影响。这一暂态过程一直持续到C\(_{3}\)放电使BG2输出电平低于YF\(_{11}\)开门电平,YF11输出恢复高电平为止,见波形图6d、e、f、g。t\(_{2}\)~t3为显示单稳暂态时间,即显示时间。
显示结束YF\(_{12}\)输出由高电平跳变为低电平,经C4R\(_{7}\)微分后的负脉冲使YF13输出变为高电平、YF\(_{14}\)输出低电平。YF14输出接S\(_{3}\)、R3对门控RS触发器进行闭锁,以保持电路复位期间Q-端低电平状态不变。当C\(_{5}\)充电电流衰减使YF14输入电平下降到开门电平以下时,YF\(_{14}\)输出恢复高电平。复位单稳各点波形见图6h、l、i、k。t3~t\(_{4}\) 即复位时间,其大小由R8C\(_{5}\)数值决定,一般在lms左右,以避免这次复位与下次计数同时进行而引起计数遗漏。
计数、译码显示及电源电路
计数器采用二——十进制计数器H150。译码驱动器用H270,显示用辉光数码管SZ4-1,系常见电路,这里不再介绍。
全机电源共两组;+185V供辉光数码管用,+15V供各集成电路用。+15V电源中用了集成稳压器W2—03B,外接功率管BG\(_{9}\)以扩大电流输出。为防止电路振荡,接入C8、C\(_{9}\)。R12为限流保护电阻,其阻值为R\(_{12}\)=0.5VILmax,其中I\(_{Lmax}\)为最大负载电流。
时基计算
数字测速仪直接显示机器的速度(米/分),为把测速头(磁电式速度传感器)发出的脉冲数直接折算到机器的速度,必需正确计算仪器的时基,即门时间T。
〔例1〕用数字测速仪测定某机器烘筒的速度,该机器减速机构简图见图7。

令ΣI=测速头到机器传动辊的总减速比
=\(\frac{Z}{_{1}}\)Z2·Z\(_{3}\);Z4·\(\frac{Z}{_{5}}\)Z6=50;18·\(\frac{39}{13}\)·66;30=18.35
D=机器传动辊的直径=0.75米
m=仪器的最小读数(米/分)=0.1
若测速头每转发出30个脉冲,则
T=πD;m;\(\frac{(ΣI×30)}{60}\)
=\(\frac{2πD}{mΣI}\)
=2×3.14×0.750.1×18.35
=2.57秒
时基与非门输入端各脉冲周期之和ΣT\(_{n}\)=2T=5.14秒,因此时基与非门的输入端应接:T9=5.12秒;T\(_{1}\)=0.02秒。
〔例2〕用数字测速仪测定可控硅变频器频率及VC406A涤纶长丝纺丝联合机中绕丝机磨擦辊线速度(本例仪器原理图见图4)。
测速仪的输入信号取自可控硅变频器脉冲发生器的输出脉冲,其频率为可控硅变频器输出频率的6倍。测速仪最小读数取m=0.1周/秒
(1)频率测定:
门时间T=\(\frac{1}{6m}\)=1;(6×0.1)≈1.67秒
ΣT\(_{n}\)=2T=3.34秒,因此时基与非门的输入端接:T8=2.56秒;T\(_{6}\)=0.64秒;T3=0.08秒;T\(_{2}\)=0.04秒;T1=0.02秒。
(2)速度测定:
磨擦辊用同步电机直接拖动,电机4极,(n\(_{0}\)=1500),磨擦辊直径D=151mm。频率为50赫时磨擦辊线速度V=n0πDΣI。测速仪最小读数取m=1米/分
门时间T=\(\frac{V}{6fm}\)=n\(_{0}\)πDΣI;6fm=\(\frac{1500×3.14×0.151×1}{6×50×1}\)
=2.37秒
ΣT\(_{n}\)=2T=4.74秒,时基与非门的输入端应接:T8=2.56秒;T\(_{7}\)=1.28秒;T6=0.64秒;T\(_{4}\)=0.16秒;T3=0.08秒;T\(_{1}\)=0.02秒。(厘波)


