这里介绍的多用探针是由一块CO33集成块(六反相器)、三只晶体管和少量电阻、电容组成的。可送出1KHz的方波信号;还可以进行多种测量,测试结果用发光二极管指示,非常醒目。此仪器由于采用CMOS集成电路,耗电少,总电流小于8mA。仪器结构紧凑,连9伏积层电池在内,体积仅为110×29×20(mm),携带和使用都很方便。
工作原理
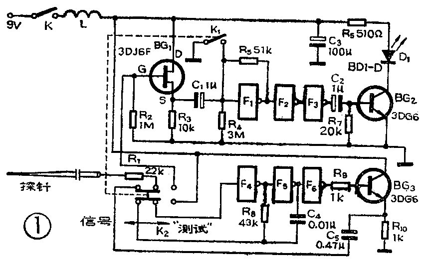
图1为电路原理图,主要由测试放大器和1KHz方波振荡器组成。BG\(_{1}\)、非门F1、F\(_{2}\)、F3、BG\(_{2}\)等组成测试放大器、非门F4、F\(_{5}\)、F6和BG\(_{3}\)等组成1KHz方波振荡器。

从CMOS非门电路的内部结构可以知道,只要给它的输入端加上偏置,非门就被强制工作在线性区,使其成为放大器。图中加了偏置电阻R\(_{5}\),改变R5阻值可以调整放大器的增益,R\(_{4}\)是为了稳定增益而接入的。由于F1被强制工作在线性区,而F\(_{1}\)、F2、F\(_{3}\)之间又是直接耦合的,所以F2、F\(_{3}\)也工作在放大区。按图示参数,F1、F\(_{2}\)、F3组成了增益约为50dB左右的放大器。结型场效应管BG\(_{1}\)等组成源极输出器,以提高其输入阻抗,使测试电路与被测电路之间较好地隔离。源极输出器与放大器之间加了隔直电容C1,以免放大器的偏置受到影响。同时F\(_{3}\)与BG2之间也加了隔直电容C\(_{2}\)。
由非门F\(_{4}\)、F5、R\(_{8}\)和C4组成的多谐振荡器,产生1KHz的方波信号,调整R\(_{8}\)、C4的数值,可以改变振荡的频率。门F\(_{6}\)作整形和隔离用,它后面加了一级由BG3 等组成的射极输出器,以提高振荡器的负载能力。
仪器的工作状态由开关K\(_{2}\)控制。当K2置于“测试”位置时,仪器作为测试用。这时,由探针输入的信号经开关K\(_{2}\)加到BG1的输入端,于是BG\(_{1}\)输出的信号经F1、F\(_{2}\)和F3放大后,加到BG\(_{2}\)的基极,BG2 导通,其集电极电流驱动发光二极管D\(_{1}\)发光,说明被测电路有信号。由于K2在“测试”位置上时, R\(_{8}\)、C4 的一端悬空,振荡器不工作,BG\(_{3}\)的发射极没有振荡信号输出,即振荡器电路部分不工作。
当K\(_{2}\)置于“信号”位置时,R8、C\(_{4}\)经K2接到F\(_{4}\)的输入端,振荡器工作,BG3也导通,由它的发射极输出振荡信号,经C\(_{5}\)通过探针输出到被测电路。由于振荡器工作时,就有信号辐射,加之仪器内部元器件排列紧密,测试放大器输入端会输进振荡信号,使放大器工作,发光管发光,浪费电池。为此,加了与K2同步的开关K\(_{1}\),当K2置于“信号”位置时,K\(_{1}\)将F1的输入端接地,这样F\(_{1}\)、F2、F\(_{3}\)接成反相器,F3输出高电平,但由于C\(_{2}\)的隔直作用,BG2截止,发光管不亮,这部分电路不工作,不耗电。
这样,通过K\(_{2}\)、K1的转换作用,使仪器无论是作为信号源还是用于测试,仅有一部分电路工作,大大延长了电池的使用寿命。
此外,为了进一步减小探针与被测电路间的相互影响,在探针末端接入一个电阻R\(_{1}\)。
元器件选择
电路图中的六反相器集成块最好用CO33B。场效应管BG\(_{1}\)用漏电流小于2mA的管子,对BG2、BG\(_{3}\) 无特殊要求。发光二极管选工作电流小、发光效率高的,我用的是BD1—D型,外径为3毫米。电容C1、C\(_{2}\)和C3尽可能选用小型元件。以便缩小仪器体积;C\(_{4}\)、C5用玻璃釉电容。电源退耦电感L是用φ0.06mm的漆包线在1/4W、阻值为2MΩ的金属膜电阻上平绕300圈制成的,线头直接焊在电阻腿上。
电源开关K用KND1—1×2型拨动开关;K\(_{2}\)用BB3S—2×2型拨动开关。由于要求K1与K\(_{2}\)同步,同时为缩小仪器体积,K1可直接加装在K\(_{2}\)上,如图2(a)所示。从图2(a)中可以看出,当滑块被向前推时,带动动触片,使之与静触片接触,相当于开关K1接通。动、静触片形状大小见图2(b)、(c)。制作时,应在触片表面薄薄地镀上一层锡,在静触片上钻一个直径为1.2mm的小孔。在K\(_{2}\)铆接接点的绝缘板的一端中间钻一个直径为lmm的小孔,找一小段线经为镀银线或去皮漆包线铆在绝缘板上,将静触片按图2(a)所示套在铆好的镀银线上,用锡焊好。动触片直接焊在K2的支架上。装好K\(_{1}\)后,用镊子适当地调整动、静触片之间的距离,使之接触良好。有条件可用万用表检查K1。

探针由针座和针头两部分组成,可按图3所示的尺寸制作。针座用M3圆柱头铜螺钉改制,沿螺钉中心轴线钻φ1.5的通孔,再用M2的丝锥攻出螺纹。取一根直径为2mm、长为55mm的铜丝,一端用板牙攻出M2的螺纹,另一端用锉刀锉尖,以便稳稳地扎在测试点上。将针头有螺纹一头拧进到针座的螺孔内就制成了探针。

地线接线柱可用M4的铜螺钉,将螺钉头锉平(如图4(a)所示),以便接地线。再沿螺钉轴线钻一φ2.5的通孔。用M3的丝锥攻出螺纹,找一个M3mm、长6mm的铜圆柱头螺钉拧上,接线柱便作好了。由于体积较小,应将固定接线柱的M4螺母锉小些,如图4(b)所示。

安装及使用
信号发生器的印制板见图5(1∶1)。图中画虚线的地方可用镀银线或镀锡铜线从印刷板背面将虚线连接的两个点短接起来。为了降低晶体管的高度,又不至使管脚太近,三只晶体管均应倒装,在相应的位置钻三个φ5的孔以便安放晶体管。在印刷板中间较空的地方钻一个φ1.5的孔,并用丝锥攻出M2的螺纹,以便固定印刷板。

仪器的外形参见图6,可用1.5mm厚的环氧板或其它板制作。将作好的针座和接地接线柱用螺母固定到外壳上,并装一个焊片,以便焊接R\(_{1}\)和内部地线。将焊好的印制板放入盒内,从盒的背面用M2×4的沉头螺钉将印制板固定。发光二极管可由φ0.6左右的高强度漆包线自印制板上引到观察孔的地方,盖上盒盖后发光二极管应刚好从孔中露出,以便观察。为避免电源开关露出过多,安装时可垫上厚度合适的垫圈。电源开关、选择开关的外壳和印制板的地端及电池负极都要接到接地接线柱上。从F1的输入端引一根线接到K\(_{1}\)的静触片上(可直接从R4引出)。R\(_{1}\)直接焊在K2和针座焊片上。

检查无误后,接通电源开关,选择开关置于“测试”位置,接通电源开关,这时发光二极管应亮一下。用手接触探针,发光二极管应不断地闪光,这是人体感应的结果。将选择开关扳向信号位置,发光二极管应不亮,否则可能是开关K\(_{1}\)接触不好。然后用探针触及一台工作正常的收音机的音量控制器的中心抽头,扬声器中应有响亮的1KHz音频叫声,说明仪器工作正常。
使用仪器修理收音机时,将仪器的鳄鱼夹可靠地夹在收音机的地线上,对无声的收音机可先将仪器的K\(_{2}\)置于“信号”位置,从扬声器开始逐级向前检查,电路畅通时,扬声器中将发出越来越响的音频叫声,若检查到某一级时,声音反而小或者无声,说明该级有故障。对于有自激的收音机,先将仪器的K2置于“测试”位置,从后向前逐级测试各级的输出,到哪一级发光二极管不亮了,说明自激发生在该级的后面一级。
检修电视机时,先将仪器的K\(_{2}\)置于“测试”位置,若电视机的光栅正常,探针放在离电视机半米远处(不允许用探针直接触碰视放管集电极或其他高压部位),发光二极管就能继续发光(此时不要加地线)。若光栅不正常(无光),在同样远的距离上发光二极管仍亮,说明行输出级正常,可能是高压硅堆、高压包或显象管有问题。若发光管不亮或很慢地闪光,说明无高压。这时先断开电源,将行推动变压器与行输出管的基极断开,再接通电源,把仪器的鳄鱼夹接至电视机的地线,从行振荡级起至行推动级逐级测试,检查到哪级发光二极管不亮了,说明该级有故障,否则就是行输出管或这部分电路的元器件有问题。若光栅正常,但无图象,检查时,将K2置于“信号”位置,从视放管基极向前逐级检查,正常时屏幕上应出现1KHz黑白相间的横条,扬声器也有1KHz音频叫声。若检查到哪一级屏幕上无横条,说明该级有故障。
信号发生器还有些别的用途,这里就不一一叙述了。(杨生华)