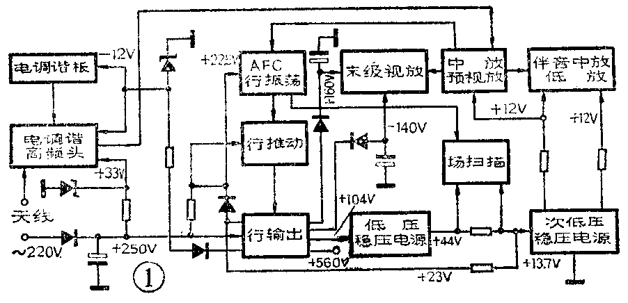
波兰625型电视机的行、场扫描电路是该机出现故障较多的部分。由于这部分电路构成较特殊,所以检修故障的方法也与其他型号的电视机有所不同。该机整机供电电路的方框图如图1所示、它采用无电源变压器泵源式供电电路,所以行扫描和稳压电源电路大部分元件工作在高压、大电流状态下,故障率很高。又因行、场扫描电路和稳压电源相互牵扯,一旦某部分电路元件发生故障,就会扩大到其他电路中去,甚至在修理过程中,如果方法不对,就会产生新的故障。由于采用无电源变压器电路,所以通电后整个机心带电,给修理带来不便。但是只要找出电路规律,掌握修理技巧,也就不感到困难了。

一、常见故障的检修
该机扫描电路的常见故障有:无光栅无伴音、有光栅无伴音、场线性差、场幅减少、场不同步、开机时烧保险等等。
1.无光栅无伴音:
这种故障主要是由于行输出管T\(_{952}\)被击穿而引起的。该机行扫描电路如图2所示。当行输出管T952被击穿时,其发射极电压U\(_{e}\)升高,结果使+44V稳压电源的输出电压也随之升高到+100V左右(超过了稳压电源的调整范围),使场扫描电路供电端的限流电阻R301被烧坏,同时,也可能造成次低压(+13.7V)稳压管T\(_{9}\)01击穿。上述元件损坏之后,就会出现无光栅、无伴音故障。当行输出管T952损坏时,如果没有BU204管更换,可选用国产管3DD202A进行代换,要求反向击穿电压≥1000V,β值以60左右为宜,过大会造成水平幅度过大,即使调节调宽线圈L\(_{953}\)和行线性调节器L954也弥补不了。

2.有光栅无伴音:
常见的故障是由于次低压稳压管T\(_{9}\)01损坏所致。该部分电路见图3。由于次低压稳压电路输出+13.7V、+12.7V、+11.5V三种电压,分别供给场扫描、中放、预视放、伴音低放等电路。所以T901的供电电流较大,又因该管的散热器面积较小,工作一段时间后,使之温升很高,尤其是在+44V电压有所升高时,T\(_{9}\)01很容易损坏。结果造成有光栅无伴音故障,更换T901时,若无BD136,可选用国产3AD6或其他硅NPN型管进行代换。对于β值无严格要求,但要求反向击穿电压≥100V。为了更加可靠,可适当加大该管散热器的散热面积。

3.帧线性差、幅度减小、同步不稳:
该机场扫描电路是由集成电路TDAll70及其外部元件组成,其电路图如图4所示。造成上述故障的常见部位有:①微调电位器R\(_{3}\)02、R305、R\(_{3}\)09触点被氧化,造成接触不良;②电阻R301、R\(_{31}\)0开路;③由于场扫描电路的公共点不是接在整机接地点上,而是接在次低压+13.7V上,这个电压的负载较重,所以在负载变化或因次低压稳压电路的输入电压(+44V)产生某种波动时,都会使场扫描电路的“地”点电位发生飘移,从而引起场扫描电路各点的直流电压改变。这样就会造成上述故障。

4.开机时烧保险丝:
这种故障比较多见。主要原因是由于+44V稳压电源调整管T\(_{954}\)短路造成的。T954损坏的原因有:①行输出管T\(_{952}\)损坏后,使T954的输入电压由原来的+104V升高为+200V左右。由于调整管的电压调整率为±10V,当输入电压升高到+200V时,稳压电源失控,使T\(_{954}\)的管压降由原来的55V升高至100V左右,致使该管被烧穿。②T954用的是MJE340K塑封管,只有一个固定孔,该管的散热器是接地的,为此管子与散热器之间用云母片绝缘。所以整个管子与散热器之间没有紧贴,形成间隙热阻,加上此管功耗较大,因此T\(_{954}\)的工作温升很高,容易损坏。针对上述情况,换管时应尽量选用金属外壳的大功率管,如3DD15、3DD101、3DD102等。为充分留有余量,应选用反向击穿电压大于100V的管子。安装时,使管子与散热片紧贴。更换T954后,如果发现输出电压+44V偏低、+13.7V不正常,这是由于T\(_{954}\)击穿后造成C907、C\(_{91}\)0损坏。更换T954管时,应先将这些电容检查一下,再通电测量。
二、检查测试要点
由于该机在电路结构上有些特殊,出现故障后,如果长时间通电检查,就会在原故障的基础上产生新的故障。为此必须掌握迅速判断故障部位的方法,通过几点关键电位的测量,就可迅速判断出故障部位。根据我们的经验,应检查测试下列几点电位:
1.检查测试行推动管T\(_{951}\)的集电机电压Uc。正常时为+20V左右(此电压因推动管的β值不同及注入行振荡信号的强弱变化有所不同),当行振荡器停振或耦合电容C\(_{952}\)开路时,Uc接近于电源电压+250V左右。这时该管极易击穿损坏。
2.测量T\(_{951}\)集电极电阻R904两端的电压降。正常时为+225V左右。经R\(_{9}\)04降压后的电压为+22.5V,此电压同时给同步及行振荡板MS1001供电。当行振荡器停振时,+22.5V将升高10倍,结果造成MS1001板上的元件和T951损坏。
3.测量行输出管T\(_{952}\)发射极电压Ue。正常时为+104V,它反映了T\(_{952}\)的工作情况。当Ue升高到+200V左右时,表明行输出管已击穿;当U\(_{e}\)逐渐升高时,表明该管有软击穿,或是反向击穿电压降低;当Ue低于+50V时,表明行推动级没有信号注入。
4.测量显象管的灯丝电压。该电压是由行输出变压器次级绕组⑦~⑧供给的。此电压的正常与否;可以判断出行输出级的工作情况。
5.测量电源调整管T\(_{954}\)发射极电压Ue。正常时为+44V,调节R959应有变化,可调范围在+40V~+50V之间。
6.测量T\(_{954}\)集电极对地电阻。断开整机电源,用万用表的R×100档。负表笔接T954集电极,正表笔接地。正常时为2~3K。
进行上述各项测量时,应将T\(_{954}\)发射极到场扫描板MV1002的插座5.6脚断开,避免损坏。(谢梅林)