AN355是伴音通道集成电路,其功能有:伴音中频限幅放大、鉴频、音频放大和直流音量控制等。它采用带有散热片的16脚双列直播式塑料封装结构,各引出脚作用及其电压如图1所示。

它的特点是:(1)伴音中放采用三级差动放大器,电压增益可达75dB以上。由于其增益较高,当输入的6.5MHz伴音中频信号达到200μV时,伴音中放就开始限幅,从而保证了整个伴音中频通道的调幅抑制比达到40dB以上;(2)采用直流音量控制电路,避免了音量电位器的接触噪声和引线上的交流干扰声;(3)它包括有音频功放电路,输出功率达2W,可满足中小屏幕电视机的需要。
AN355的内电路如图2,工作原理如下:

伴音中频限幅放大器
伴音中频信号通过变压器3B\(_{1}\)(或陶瓷谐振器3LB1,见图2左上角)经⑩脚、⑨脚送至AN355内部的伴音中频限幅放大器,见图2。
伴音中频限幅放大器由T\(_{5}\)~T14组成,是三级差动放大器的级联方式。T\(_{5}\)与T6组成第一级差动放大器,T\(_{7}\)为射随器起缓冲作用,以减小下一级输入阻抗对前级输出回路的影响。T8与T\(_{9}\)组成第二级差动放大器,T10为射随器,其作用同T\(_{7}\),T11为T\(_{1}\)0的有源射极负载。T13与T\(_{14}\)组成第三级差动放大器,T12是它的恒流源。经限幅放大后,伴音中频信号由T\(_{14}\)的集电极输出。
三级差动放大器的直流工作点是利用第二中放T\(_{9}\)的直流负馈来稳定的。从T10的射极通过电阻R\(_{12}\)给T6、T\(_{9}\)、T14提供基极直流偏置,T\(_{5}\)的基极直流偏置通过变压器3B1(或电阻3R\(_{1}\))从⑨脚(即T6的基极)取得。从T\(_{1}\)0的射极通过电阻R13为T\(_{13}\)提供基极直流偏置。由于⑨脚外接退耦电容3C2,故⑨脚为交流地电位。这样T\(_{9}\)的集电极直流电位经射随器T10全部反馈至T\(_{9}\)的基极,使T9的直流工作点十分稳定,再通过它同样使T\(_{5}\)、T6、T\(_{13}\)、T14的直流工作点也稳定。由此可见,第二中放工作于直流闭环交流开环状态。
伴音中放采用差动放大器使其具有良好的硬限幅特性。因为带有恒流源的差动放大器其晶体管不会进入饱和区,不存在基区电荷积累问题,所以当差动放大器进入限幅区时,晶体管不会因进入饱和而产生相位延迟。
D\(_{W1}\)、DW2、T\(_{1}\)~T4组成内部稳压电路。其中T\(_{1}\)与T2组成带有负反馈的简单串联型稳压电源,其负反馈过程是:当某种原因引起U\(_{E1}\)升高时,则

从而使U\(_{E1}\)维持原来的数值。
有源低通滤波器
伴音中频限幅放大器的输出信号经低通滤波器滤除调频等幅波中的高次谐波,以减少高频干扰。
低通滤波器如图3所示,显然,它是由二阶有源低通滤波器(T\(_{15}\)、Rl9~R\(_{21}\)、C1与C\(_{2}\))和一节RC低通滤波器(R22、C\(_{3}\))组成。通常滤波器是由无源RLC电路组成,需要采用体积和重量都比较大的电感,这在集成电路中难以实现,因此用RC加有源元件,构成所谓有源RC低通滤波器。另外,有源器件有放大作用能提供增益,可以补充无源元件中的能量损耗。

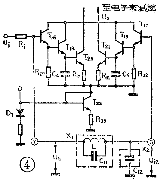
差动峰值鉴频器
差动峰值鉴频器(电路如图4),将调频信号转换成调幅调频信号,再进行包络检波,以还原出音频信号。其中,ui为低通滤波器输出的6.5MHz伴音中频信号,Ri为低通滤波器的输出阻抗。

伴音中频信号u\(_{i}\)通过Ri作用在⑦脚和⑧脚间外接L、C\(_{ll}\)、C12组成的网络上,通过该网络将伴音中频调频信号转换成调幅调频信号u\(_{i1}\)、ui2,其调幅部反映了调频信号的调制规律。然后,u\(_{il}\)、ui2通过射随器T\(_{16}\)、T17送至T\(_{18}\)、T19的基机。T\(_{18}\)、T19及其射极负载构成差动峰值检波器,C\(_{4}\)、C5为检波器的负载电容,T\(_{2}\)0、T21既是检波器的负载电阻,又构成差动放大器。鉴频器输出信号由T\(_{21}\)的集电极输出送至T24与T\(_{25}\)的射极。
为了说明网络把调频信号转换成既调幅又调频的信号的原理,下面先介绍它的电抗特性。由于射随器T\(_{16}\)、T17的输入阻抗较高,可忽略其对网络的影响。图5为L、C\(_{11}\)、C12网络的电抗特性曲线。L和C\(_{11}\)组成并联谐振电路,其电抗曲线X1如图5(a),并联谐振频率f\(_{P}\)=\(\frac{1}{2π}\)\(\sqrt{LC}\)11,在f<f\(_{P}\)时,X1呈感性,在f>f\(_{P}\)时,X1呈容性。电容C\(_{12}\)的电抗曲线X2如图5(b)。T\(_{16}\)的基极(即⑦脚)对地的电抗曲线X=X1+X\(_{2}\)如图5(c)。由图可看出,在f<fP的f\(_{S}\)处,X=X1+X\(_{2}\)=0、L、C11与C\(_{12}\)回路发生串联谐振,且谐振频率fS=1;2πL(C\(_{11}\)+C12),这是因LC\(_{11}\)并联谐振回路在f<fP时呈感性,因比f\(_{S}\)(<fP)时,其感抗和C\(_{12}\)的容抗数值相等,就出现了串联谐振现象。

再根据图5网络的电抗曲线,利用图6求u\(_{i1}\)、ui2的幅频特性。在频率很低时(f《f\(_{s}\)),由于感抗很小,容抗很大,故|X|=|Xl|,因此u\(_{il}\)、ui2的幅频特性几乎一致。当f=f\(_{S}\)时,LCll回路的等效电感与电容C\(_{12}\)发生串联谐振,总回路的电抗|X|最小,故ui1下降到最小值,即u\(_{il}\)在fS广有一个谷点;但此时,并联的L和C\(_{11}\)与C12又发生串联谐振,C\(_{12}\)上电压将最大,故ui2有一个峰点。f>f\(_{S}\)后,渐渐远离串联谐振点,|X1|逐渐增大,|X\(_{2}\)|逐渐减小,致使ui1逐渐增大,u\(_{i2}\)反而逐渐减小。当f=fP时,L与C\(_{11}\)发生串联谐振,总电抗|X|最大,这时uil最大,即u\(_{il}\)在fP上出现一个峰点,将L、C\(_{ll}\)并联谐振回路阻抗归入电源内阻,|X2|将很小,故u\(_{i2}\)将下降到很小的数值,即ui2将出现一个谷点。由此可知,对u\(_{il}\)、ui2来讲,当一个为峰点时,另一个则为谷点,反之亦然。因此,在f\(_{S}\)~fP之间,u\(_{il}\)和ui2的幅频特性的斜率是相反的,如图7(a)所示。


若用U\(_{1}\)、U2分别代表u\(_{il}\)、ui2的峰值,则经射随检波器T\(_{18}\)、T19可得到U\(_{1}\)、U2 (值得注意的是U\(_{1}\)、U2相位相反)。将其送至差动放大器T\(_{2}\)0、T21的基极,经差动放大器放大、迭加,在T\(_{21}\)的集电极输出解调后的音频信号U0=U\(_{1}\)-U2,其幅频特性如图7(b)所示,即所谓S曲线。S曲线两峰之间的距离
(f\(_{P}\)-fS=\(\frac{1}{2π}\)\(\sqrt{LC}\)\(_{11}\)-1;2πL(C11+C\(_{12}\)))
线性、对称性等均由网络参数L、C\(_{ll}\)、C12来决定。由于C\(_{12}\)只影响串联谐振频率fS,而对并联谐振频率f\(_{P}\)无影响,所以改变C12对S曲线的中心频率影响不大,但对曲线对称性的影响很大。因为调节C\(_{12}\)将直接影响ui1和u\(_{i2}\)的比例,所以对称性不佳时,应当改变C12。改变L、C\(_{ll}\)将同时影响fS和f\(_{P}\)。单独调节L、Cll时,将较大地改变S曲线的中心频率,而对对称性影响较小。在实际电路中,C\(_{ll}\)、C12为固定值,而L采用调感式中周,是差动峰值鉴频器的唯一可调元件。
网络L、C\(_{ll}\)、C12可用陶瓷谐振器(也称陶瓷鉴频器)来代替,从而实现无调整化。
直流音量控制电路
直流音量控制电路包括控制和放大两部分。
1.直流音量控制电路
直流音量控制电路由T\(_{23}\)~T27组成(见图2)。差动放大器T\(_{24}\)与T25为分流式增益控制电路,T\(_{21}\)是它的射极恒流源。差动放大器T26与T\(_{27}\)的作用是在调节音量时,使T24与T\(_{25}\)集电极的直流电位保持恒定,以便和下级直接耦合,T23是T\(_{26}\)与T27的恒流源。直流控制电压U\(_{A}\)、UB分别送至T\(_{25}\)、T26和T\(_{24}\)、T27的基极。为了使调节音量时T\(_{24}\)、T25集电极的直流电位保持恒定,应使流过T\(_{24}\)、T25的射极电流之和等于流过T\(_{26}\)、T27的射极电流之和,即T\(_{21}\)的集电极电流应等于T23的集电极电流,为此应使R\(_{34}\)=2R33。
当直流控制电压U\(_{A}\)=UB时,流过T\(_{24}\)~T27各管集电极的直流电流相等,而流过电阻R\(_{25}\)的电流为T25与T\(_{27}\)的集电极直流电流之和,它等于T21(或T\(_{23}\))的集电极直流电流,因此T25集电极直流电位U\(_{C25}\)=EC-I\(_{C21}\)R25=E\(_{C}\)-IC23R\(_{25}\)。由于UA=U\(_{B}\),故流过T25、T\(_{24}\)的音频电流相等,且等于流过T2l的音频电流i\(_{c21}\)的一半,这样,T25集电极输出的音频信号的为\(\frac{1}{2}\)i\(_{c21}\)R25。
当U\(_{A}\)>UB时,对直流分量来讲,将导致T\(_{25}\)与T26的集电极电流增加,T\(_{24}\)与T27的集电极电流减小。但是由于T\(_{25}\)集电极电流的增加量等于T27集电极电流的减小量,因此流过电阻R\(_{25}\)的直流保持不变,致使T25集电极直流电位保持恒定;对交流分量来讲,将使通过T\(_{25}\)的音频电流增加,大于\(\frac{1}{2}\)ic21,而使通过T\(_{24}\)的音频电流减小,小于1;2ic2l,致使T\(_{25}\)集电极输出的音频信号较大,即大于\(\frac{1}{2}\)ic21R\(_{25}\)。
当U\(_{A}\)<UB时,通过同样分析可知,T\(_{25}\)集电极直流电位仍保持不变,但是流过T25的音频电流减小,小于\(\frac{1}{2}\)i\(_{c21}\),流过T24的音频电流增大,大于1;2i\(_{c21}\),使T25集电极输出的音频信号较小,即小于\(\frac{1}{2}\)i\(_{c21}\)R25。
这样,通过改变U\(_{A}\)、UB,即改变T\(_{25}\)、T26和T\(_{24}\)、T27的基极电位差,达到控制音量的目的。
T\(_{25}\)的集电极连至脚,外接电容3C4(0.01μ),它与T\(_{25}\)的集电极负载电阻R25构成去加重网络。T\(_{25}\)集电极输出的音频信号经射随器T28由输出。
2.直流音量控制电压放大器
当调节⑤脚外接音量电位器3W\(_{1}\),使⑤脚直流电位最高时,则T33、T\(_{34}\)两管导通,而T32、T\(_{35}\)截止,这样就使T36、T\(_{37}\)的基极电位升高,致使UB上升,同时使T\(_{4}\)0的基极电位下降,致使UA下降。结果使T\(_{24}\)、T27的基极电位高于T\(_{25}\)、T26的基极电位,流过T\(_{25}\)、T26的电流减小,降低了T\(_{25}\)的增益,使输出受到很大衰减。反之,⑤脚直流电位最低时,T25的增益最高,使其输出最大。
为了达到均匀调节音量,采用T\(_{38}\)、T39分别为T\(_{35}\)、T34的集电极负载。T\(_{38}\)、T39相当于基极接地电路,它们的射极输出阻抗相当于差动放大器T\(_{35}\)、T34的集电极负载。因为基极接地电路的射极输出阻抗很小,所以T\(_{35}\)、T34的增益比较低,从而达到均匀调节的目的。
音频功率放大电路
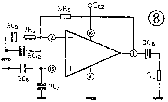
功放电路由T\(_{42}\)~T53组成,包括三级电压放大器和一级功率放大器。其中第一级是由T\(_{42}\)与T43组成的差动放大器,同相输入端(T\(_{42}\)的基极)接在分压器D12、D\(_{13}\)、R51~R\(_{53}\)的节点,而反相输入端(T43的基极)②脚则经反馈电阻3R\(_{5}\)接在输出端①脚,使整个放大器构成直流全反馈,从而保持①脚电位等于电位,因而输出端的直流电位偏置在最佳工作点\(\frac{1}{2}\)EC上,并与电源电压跟随。D\(_{14}\)和T44构成第二放大级,二极管D\(_{14}\)为T44提供基极偏置和温度补偿。由于T\(_{44}\)的基极和射极分别连至T43和T\(_{42}\)的集电极,从而使T44将第一级差动放大器的双端输出全部转为第二级的单端输出,起到了将双端增益转变为单端增益的作用。由于T\(_{44}\)是一个PNP型管,因而还兼有第一级和第三级之间的直流电位移动作用。第三级放大器由T45和R\(_{62}\)组成,这是一个共射电路。输出级由T46~T\(_{53}\)组成,复合管T48与T\(_{49}\)、T50与T\(_{51}\)相并联,T46与T\(_{47}\)、T50与T\(_{51}\)也构成复合管。采用复合管可以减小负载对第三级放大器的影响,增加推动能力,以使输出级向负载提供所需要的功率。当T45基极的输入信号为负半周时,T\(_{45}\)的基极电位下降而集电极电位上升,T48~T\(_{51}\)导通,由其射极通过电容3C8向负载R\(_{L}\)提供电流,并对电容3C8充电,其极性如图2所标;同时,T\(_{46}\)、T47戳止,使T\(_{52}\)、T53也截止。当T\(_{45}\)的基极输入信号为正半周时,T45的基极电位上升,而集电极电位下降,T\(_{46}\)、T47导通,并驱动T\(_{52}\)、T53使其导通,电容3C\(_{8}\)放电,电流经负载流进T52与T\(_{53}\)。T49的集电极连至T\(_{46}\)与T47的射极,构成正反馈。当U\(_{C45}\)=UB46=U\(_{B47}\)=UB48增加时,则U\(_{C49}\)=DE46=U\(_{E47}\)下降,从而加速PNP型管T46与T\(_{47}\)由导通状态转换为截止状态。
该功率电路,从总体上看,相当于一个运算放大器,其结构如图8所示。它有两个输入端,即同相输端、反相输入端②脚和一个输出端①脚。音量控制电路输出的音频信号,通过耦合电容3C\(_{6}\)送至,功放输出端①脚通过外接电路3R5连至反相输入端②脚,构成直流全反馈,3R\(_{5}\)又和②脚外接的3C12、3R\(_{6}\)、3C9构成交流负反馈,根据运算放大器原理,当放大器的开环电压增益很大时,其闭环电压增益K\(_{f}\)=1+Rf3R\(_{6}\)‖3C12,由于电容3C\(_{9}\)的容量很大,其阻抗可忽略,而调节3C12、3R\(_{6}\)可改变Kf。(郑凤翼)
