问:用飞跃12D1A型电视套件组装一台电视机,调试时发现伴音音量很小,但是只要把鉴频级中的两个二极管(2BG16、2BG17),任意焊下一个,音量就会明显提高。查电路焊接等均无误,这是什么原因?
答:造成这种故障的主要原因是2BG16和2BG17管的特性明显不对称、质量很差,或者两管的负荷太重。因为无论是2BG16、17不良或负荷太重,都会使鉴频输出明显减弱,且常伴有失真和噪声,尤其当伴音中周2B\(_{2}\)3失调时更为明显,当焊下一个二极管时,比例鉴频电路变成了斜率鉴频电路,同样具有鉴频作用,由于此时负荷太重或特性不对称现象明显减弱或消失,因此就会使伴音音量明显提高。不过斜率鉴频的特性不及比例鉴频,所以失真及噪声较严重。检修时,先检查2BG16、17两管的质量及对称性。如无问题,则应重点测量2C\(_{68}\)及鉴频部分印制电路板是否有严重漏电现象,因为这是引起负荷变重的主要原因。故障处理完后,应重调2B2\(_{3}\),(尤其是2B3),以使伴音质量达最佳。(王德沅)
问:一台红旗J310-1型黑白电视机,图象扭曲,无伴音,扬声器里发出“嗡嗡”交流声,测伴音中放管5BG2集电极电压只有3伏,是什么故障引起?
答:上述故障是旁路电容器5C\(_{7}\)(0.01μ)内部短路所引起(一般尚有短路电阻500Ω~100Ω)该电容器内部短路,使伴音中放管5BG2的集电极电压大部分被短路至地,因而不能正常工作,造成无伴音故障。由于5C7的短路,使直流12伏电压经分压电阻5R\(_{8}\)及5C7的短路电阻后跌落较多,整流稳压后的直流电压纹波系数增大,使扬声器中发出“嗡嗡”交流声。当这个纹波电压加至扫描电路,使图象产生扭曲。该机使用的5C\(_{7}\),系瓷片电容器,质量较差,较易击穿短路。为了保证质量,可更换上同容量的涤纶电容器。(花维国)
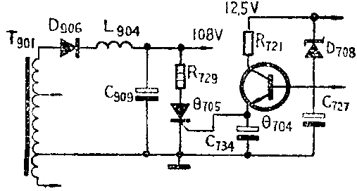
问:一台日立GTP—236D型彩色电视机开机时图象、伴音都正常,过40~60分钟后,声、光全无。关机后重新开机,电视机又能正常工作,过5~10分钟后又重复上述故障,这是什么原因?
答:这种现象如果检查电源和行输出级没有故障,则毛病多发生在电源保护电路(如图所示)。当电源保护电路的可控硅Q\(_{7}\)05性能变劣发生误导通时,会使变压器T901次级短路而停振。只要更换一只Q\(_{7}\)05可控硅,电视机就能恢复正常工作。(王立信)

问:本刊83年第二期问与答栏目中介绍了台湾省产雪莱13英寸电视机伴音电路音量大小失控的故障排除法。用此法虽能排除故障,但需更换集成块。鉴于目前集成电路价格较贵,能否在不更换集成块的条件下排除此故障?
答:可以。原故障是开机后音量大,大小不能控制,这种现象表明集成块内部的输入限幅、鉴频、前置放大功能都正常,仅仅是增益控制电路(即电子衰减器)局部损坏。它没有影响整个放大、解调过程的进行,交流通路是好的。
集成块内部的增益控制电路是靠改变外电路直流电位的高低来实现控制的。上述故障表明集成块内增益控制电路与外部控制电路之间发生开路,且开路点在集成块内,所以外部控制电路失效,调整音量电位器不能改变音量的大小。内部直流控制失效,可以改用外部交流控制的方法。具体作法是:将集成块的⑤脚与电位器R\(_{2}\)01、电阻R202的连接处断开(图中打X处),将R\(_{2}\)03去掉,按图中所标极性在R203处接上一只20μf以上的电解电容器C,用一根导线将R\(_{2}\)02与R201的连接点与C\(_{2}\)07相连接(如图中长虚线所示)。串入电容C是为了避免R201阻值变化时影响集成块④脚的直流电位(因为这点的电位决定前置级的工作点,它若变化,会引起伴音失真)。这时就可以通过改变R\(_{2}\)01的阻值来控制音量大小。

雪莱16英寸电视机产生相同故障时也可如法泡制。(郭铁虹 高玉中)
问:一台台湾省生产的格林牌12T1型12英寸黑白电视机的行输出变压器烧坏,能否用国产行输出变压器改制?
答:可以。改制时,先将低压包从U形磁芯上拆下,拆去低压包上的全部绕组,按图1的数据重绕低压包。低压包的①-②-③绕组用拆下的φ0.55毫米漆包线绕制,④-⑤和⑥-⑦绕组用拆下的φ0.23毫米漆包线绕制,图1中带黑点的为起始头,绕制时要注意绕线方向应与拆下的绕组方向一致,引出脚按图2外层序号排列。高压包的低电位端接行输出变压器的⑤脚,高压硅堆配用反向击穿电压为15KV的,如2CLG15、2CLG5H、2CLG1B等。国产行输出变压器的接线座是长方形排列的,难以与马蹄形的接线座焊接,所以,改制后的行输出变压器不用接线座,引出脚直接与印刷电路板焊接。接入电路开机试验时,若图象上部不稳,可将③-⑦两引出线对换一下;若行相位不对,可将④-⑤两引出线对换一下。(汪锡明)


问:盒式录音机在流偏磁电流、交流偏磁电流,直流抹音电流和交流抹音电流一般为多大数值?
答:盒式录音机的直流偏磁电流通常为0.1~0.5毫安;交流偏磁电流通常为0.3~1毫安:直流抹音电流为5~10毫安;交流抹音电流通常为40~100毫安。(录放)
问:某些收录机上有一种“LOUDNESS”开关,有什么作用?
答:“LOUDNESS”是响度补偿开关。因为人耳对不同频率声音的响度感觉是不同的。在声压级相同的情况下,低音和高音的响度都比中音低,而且这种响度变化与声压级有关,声压级越低,高、低音响度比中音的响度低得更多。这是由人类听觉特性所决定的。因此,我们使用收录机欣赏音乐时,按某一音量调好高、低音调,感觉音响和谐均衡,减小声音时就会感到高低音变得不足了。这时可以扳动“LOUDNESS”开关,使它接通(即放在ON位置),这时便可接通机内的音调补偿网络(此网络多接在音量电位器的抽头上),使高、低音略为提升,便可使音调不致随音量而显著变化。(高迺康)
问:有些稳定电路用3DJ6或3DJ7代替限流电阻,不知是何道理?
答:3DJ6或3DJ7均为结型场效应管。该管有一个特性,即当漏源电压大到管子进入饱和区以后,漏源电流就能基本恒定在某一饱和值,而不再随漏源电压变化。因此,只要将管子的栅、源两极短路,令栅压为零,就能利用其近似恒流的特性取代限流电阻。至于选用3DJ6或3DJ7的哪一档,这要看管子分档的饱和漏源电流值,依据负载电流的大小而定。取代后的优点是允许电源电压变动的范围增大,使稳定精度提高,但成本要比使用限流电阻高得多,所以在要求不高的场合不必使用。(朱笛)
问:有些晶体管收音机上用的TM—2型中周可用TTF型的代替吗?
答:TM—2型中周原是上海天明街道工厂的产品,其外型、数据均与TTF型相同,可以直接代换。代换时应注意原中周磁帽上的颜色所代表的意义:黑色的代表振荡线圈:白色的代表第一级中周,红色的代表第2级中周,绿色的代表第3级的中周(张国华)
问:OCL扩音机的电源变压器,其次级线圈要求双线并绕。请说明双线并绕是什么意思?如何绕法?如果说次级电压是双18伏,是指哪两端的电压?
答:在绕制OCL电源变压器时,为了使次级两个绕组的电压相等、两组线圈的内阻值相等,必须使次级两组绕圈的匝数相等,因此绕制时常常采用如图1所示的双线并绕法。接线时可参考图2,“首2”和“尾1”相连,然后接地点:“首1”和地之间得18伏交流电压,“尾2”和地之间得18伏交流电压。如果测量“首1”与“尾2”之间的电压,可得36伏,此时两组线圈连接是正确的;如果测得“首1”与“尾2”之间的电压为零伏左右,说明次级两组绕圈的极性接反了,应重新接正确。(张开善、王衍意、侯葆芳等)


问:我们广播站有一台扩音机,输出端采用如附图所示的一线一地法向负载喇叭馈送信号,使用时发现当有信号输出时扩音机机壳就带电,无信号输出时机壳不带电,这是为什么?

答:采用如附图所示的一线一地法输出信号时,大地是作为一条导线使用的,如果地线接地电阻较大,就会出现上述现象。例如,图中设接地电阻为R\(_{1}\),RL为负载电阻,如果地线接地电阻R\(_{1}\)近似为零,则输出信号从A点经RL至B端,B点与大地之间没有电压降,机壳不会带电;如里接地电阻R\(_{1}\)较大,有输出信号时,在R1上就会产生压降,机壳对地之间就会带电,当用话筒扩音时,如果话筒外壳与扩音机外壳相连,话筒也会带电。输出信号越大,机壳带电越高,人站在地上碰触机壳时,就会感觉到带电,甚至危及人身安全。所以输出线要用两根线,不要采用一线一地制。(丁六成)