本文介绍一种适合业余制作的AM/FM袖珍收音机。其特点是线路简单,元器件要求不高,调整方便。由于造型美观别致,小巧玲珑(见题头),特别适合旅行携带。为便于读者制作,配合文章函购供应全部元器件及外壳。

原理简介
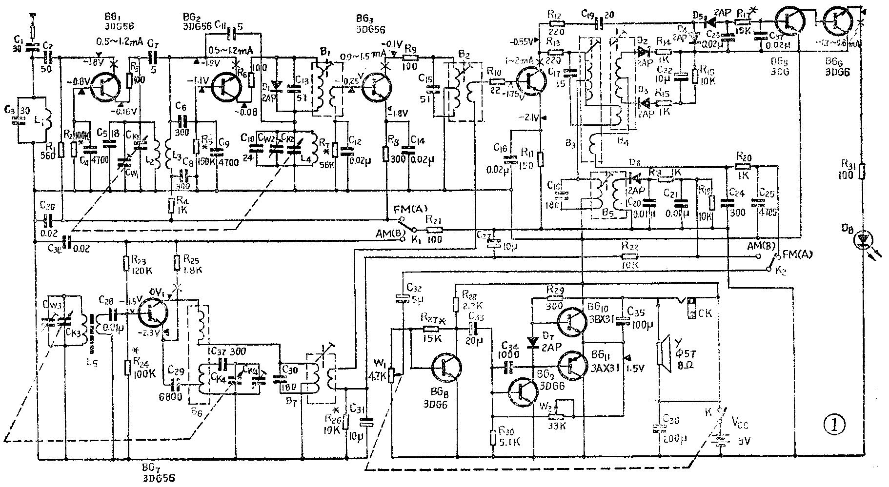
图1是该机原理图。C\(_{1}\)、C2、C\(_{3}\)、L1共同组成调频部分输入电路,C\(_{3}\)、L1谐振于调频段(88~108MHz)的中间频率上。BG\(_{1}\)是超高频放大管,BG2是变频管。BG\(_{3}\)、BG4是调频中放管。可变电容C\(_{k1}\)、Cwl、C\(_{5}\)及L2可调谐于88~108MHz范围内。可变电容C\(_{k2}\)、CW2、C\(_{1}\)0、L4谐振于98.7~118.7MHz。B\(_{1}\)2\(_{3}\)的初级分别与C13、C\(_{15}\)、C17组成的几级中频回路各谐振于10.7MHz中频上。C\(_{ll}\)是反馈电容;C7是耦合电容,使超高频信号通过。L\(_{3}\)、C6、C\(_{8}\)组成10.7MHz陷波器,使外来的10.7MHz干扰信号入地。R1、R\(_{4}\)是BG1、BG\(_{2}\)的射极电阻。R2、R\(_{5}\)是BG1、BG\(_{2}\)的偏置电阻。变频后的10.7MHz中频由B1送入中频放大管BG\(_{3}\)。D1是限幅二极管,信号过强时起稳定作用。BG\(_{4}\)除了担任调频中放外,也是调幅中放。R7、R\(_{26}\)分别是这两级的偏置电阻。R9、R\(_{13}\)起稳定作用,抑制自激。B4、D\(_{2}\)、D3、R\(_{14}\)、R15、R\(_{16}\)、C22共同组成鉴频器。鉴频后得到的音频信号通过R\(_{2}\)0、K2送到低频放大器。BG\(_{7}\)是调幅部分的变频管。CK3、C\(_{W3}\)与L5组成输入回路。B\(_{6}\)是调幅中波段振荡线圈,CW1~C\(_{W4}\)是微调电容器,安装在四连电容器上,可用来调整覆盖及三点统调。变频后的465KHz信号由B7送到BG\(_{4}\)5是调幅中周,其次级与二极管D\(_{6}\)、R18、C\(_{2}\)0、C21组成检波器,检波后的音频信号通过K\(_{2}\)控制,送到音频放大器。D4、D\(_{5}\)、D8、BG\(_{5}\)、BG6及阻容元件共同构成调谐指示电路。当收音机调谐到电台时BG\(_{4}\)集电极交流幅度最大,经D4、D\(_{5}\)倍压检波,得到一个直流电压,开启由BG5、BG\(_{6}\)复合管构成的电子开关,发光二极管D8发光,当亮度最大时表示已调谐好。BG\(_{8}\)~BGll共同构成普通OTL电路。

元件选择及制作
调频部分的高放、变频两级应选用超高频三极管,3DG56、3DG79、3DG80均可使用。调幅部分的变频器及两级中放使用3DG6就可以了。低频部分的BG\(_{6}\)、BG8、BG\(_{9}\)均可使用3DG6,BG10、BG\(_{11}\)可使用3DG12也可使用3DG6,由输出功率大小而定,但应配对。BG5使用3AX型管或3CG型管。D\(_{8}\)使用发光二极管,其余二极管均可用2AP型。电阻全部使用1/8W碳膜电阻。电解电容器尽量使用小型的。其余电容尽量使用瓷片或涤纶的。由于本机有接收调幅调频信号两种功能,所以必须使用四连可变电容。微调电容Cw1~C\(_{w4}\)一般都制作在四连电容内部。为提高调频部分的灵敏度,本机使用小型拉杆天线。调幅部分的输入线圈L5初级绕在普通中波磁棒上。调频中周B\(_{1}\)初级绕16圈,次级2圈;B2初级①②脚10圈,②③脚6圈,次级④⑥脚2圈;B\(_{3}\)①③脚14圈,③⑥脚14圈,②④脚7圈;B4①②脚8圈,②③脚8圈,④⑥脚1圈。调幅部分的B\(_{5}\)①③脚158圈,②③脚72圈,④⑥脚36圈;B7①③脚158圈,②③脚43圈,④⑥脚5圈;B\(_{6}\)是振荡线圈,根据选用的双连电容而定。所有调频部分的中周均采用调杆式,使用φ0.12~φ0.15mm漆包线绕制。调幅中周均用调帽式,使用φ0.07~φ0.09漆包线绕制。L1(3.5圈)、L\(_{2}\)(4圈)、L4(2.5圈)均用φ0.8mm漆包线绕成内径为φ4.5mm的卧式空心线圈。L\(_{3}\)(19圈)用φ0.6mm漆包线绕成内径为φ3.5mm的立式空芯线圈(见图2)。

装配与调试
动手装配之前务必仔细检查所有元器件。对三极管和二极管可用万用表测量一下各结正反向电阻,判断管子好坏。管子尽量使用穿透电流小的。仔细检查各电容器有无漏电,凡有漏电的电容一律不可使用。检查电阻阻值是否与标称阻值相符。焊接前将所有元件引线刮净烫锡,并将印板(图3)各焊点处也事先烫锡。准备就绪之后,参考图1、图3装配焊接,每焊一个元件,仔细查对,勿使出错。袖珍机的印制板很小,元件拥挤,因此焊接时烙铁头要磨尖些,还应注意不要与其他焊点错连起来。

各管静态电流均标在图1中,可作调试时参考。BG\(_{1}\)、BG2、BG\(_{3}\)的偏置电阻直接接到电源正极,按图施工,一般勿须调整。低频部分只需调整R27,使中点D的电压为1/2V\(_{cc}\)即可。整机总静态电流收调幅台时不大于10mA收调频台时不大于13mA。交流调试可使用函购的点频信号发生器,也可用本地广播电台作信号源。调试方法以往有许多文章介绍过,这里只简要说明一下:先调AM频段,465KHz中频调整,可先后旋动B5\(_{7}\)的磁帽,使声音最大。覆盖低端时调整B6的滋芯,覆盖高端时调整与振荡连可变电容器相连的C\(_{w4}\)。600KHz统调点调L5在磁棒上的位置,1500KHz统调点调C\(_{w3}\)。
调FM频段时,用点频信号发生器输出10.7MHz中频,调整B\(_{1}\)2\(_{3}\)的磁芯,使输出最大。再调B4磁芯使失真最小,音质最好。然后用点频信号发生器输出88~108MHz信号,调线圈L\(_{1}\),L2、L\(_{4}\)的匝距或Cw2、C\(_{w1}\)使收音机收到信号并调到声音最大。一般如装配无问题,很容易收到五频道的电视伴音。如收不到台应怀疑FM本振没有起振,检查一下BG2、C\(_{ll}\)等元件是否焊好。(石玉亭 冯石宝)