(梁志伸)收音机上所用的喇叭阻抗是固定的,其上所加电压越大,喇叭承受的功率越大,声音也就越响。大家知道,功率(W)、电压(V)、电阻(R)之间的关系是W=\(\frac{V}{^{2}}\)R,如果能够指示出电阻两端的瞬时电压值,则功率值就能够换算出来,这一瞬间的响度也就知道了。图1电路是用小电珠及半导体二极管、三极管制做的指示器,其特点是每级能指示出具体的功率值(用分贝表示),而且制作简单,元件要求不高易买。

原理简述
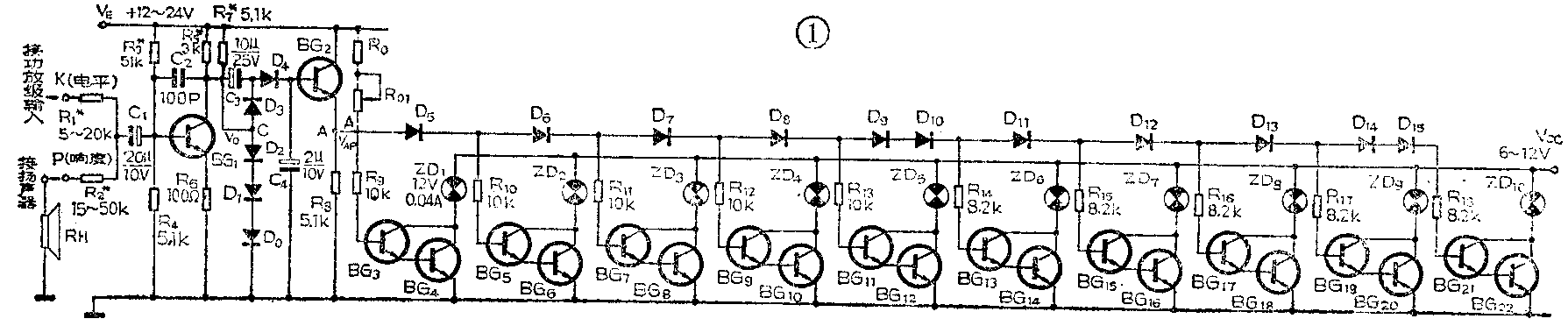
这是一个电压幅度指示器,鉴别电压幅度的功能由幅值分配器来完成。分配器由D\(_{5}\)、D6……D\(_{15}\)串联构成。下面我们看看指示灯ZD1~ZD\(_{1}\)0是如何指示的。将图1电路的P点接到喇叭上,喇叭上的电压经BG1放大,再由BG\(_{2}\)发射极(A点)输出,去激励分配器,设VAP是A点音频电压峰值。要使第一级灯泡发亮,V\(_{AP}\)必须大于作为开关用的复合管BG3、BG\(_{4}\)的两个发射结电压Vbe之和,每个硅管的V\(_{be}\)为0.6V,所以VAP≥2×0.6=1.2V就能使复合管BG\(_{3}\)、BG4导通,ZD\(_{1}\)就可发光。随着喇叭两端电压的增加,当VAP≥1.5V时,即V\(_{AP}\)≥0.3+1.2=1.5V时,D5和BG\(_{5}\)、BG6也导通,ZD\(_{2}\)发光。(此处D5是锗二极管,其导通结电压为0.3V)。要想使ZD\(_{3}\)发光,应该VAP≥0.3+0.8+1.2=2.3V(此处硅二极管的导通结电压为0.8V)。照此类推,随着V\(_{AP}\)的不断升高,D7、D\(_{8}\)、D9、D\(_{1}\)0……陆续导通,复合开关管也一个个导通,于是ZD3、ZD\(_{4}\)……就一个个亮起来。由于每一级有固定的导通电压,将这个电压换算成功率,用分贝为单位,就能显示出各级功率数值(见表)。表中VAP是每级分配的导通电压,各级所使用的二极管也许是锗管、也许是硅管、也许串联应用,都是为了凑成各级所要求的导通电压值。无信号时,A点电压应为多少合适呢?设无信号时A点对地电压为静态起始电压V\(_{AO}\)。为了决定VAO,首先应决定第一级发光单元表示多少分贝。从附表可知,该电路第一级要求指示-20dB,也就是说喇叭峰值电压V\(_{P}\)=0.4V。假设BG1、BG\(_{2}\)两级总放大量为1,这样A点峰值电压即喇叭上的峰值电压。而第一级发光需要VAP≥1.2V(峰值),所以还需给BG\(_{2}\)事前偏置一个数值VAO,使得V\(_{AO}\)+0.4=VAP,要求V\(_{AO}\)是0.8伏,这是靠R7、D\(_{0}\)、D1、D\(_{2}\)组成的简单稳压电源保证的。由于D3、D\(_{4}\)是锗二极管,两个导通结电压为0.3+0.3=0.6V,BG2 的V\(_{be}\)为0.6伏,总共降去1.2V,为保证VAO=0.8V,V\(_{c}\)应该是2V,靠调换D0、D\(_{1}\)、D2及调整R\(_{7}\)实现。
表(表中V\(_{AO}\)=0.8V)
级序 1 2 3 4 5 6 7 8 9 10
dB -20 -15 -10 -5 -3 0 +1 +2 +3 +5
W\(_{出}\)(瓦) 0.01 0.031 0.10 0.31 0.50 1 l.3 1.6 2.0 3.2
V\(_{出}\)(伏) 0.28 0.50 0.89 l.6 2.0 2.8 3.0 3.4 4.0 5.0
V\(_{P}\)(伏) 0.40 0.70 1.26 2.2 2.8 4.0 4.3 4.8 5.6 7.1
V\(_{AP}\)=VAO+V\(_{P}\) 1.2 1.5 2.06 3.0 3.6 4.8 5.1 5.6 6.4 7.9
V\(_{入}\)(伏) 0.077 0.14 0.24 0.44 0.55 0.77 0.87 0.98 1.1 1.4
D\(_{4}\)、C4组成保持电路。C\(_{4}\)的大小确定灯泡发光的时间长短。经实验,C4取1~2μF较理想。D\(_{4}\)除起偏置作用外,还阻止C4上已充的电荷反回BG\(_{1}\)。D3起钳位和正向隔离作用。C\(_{2}\)是消自激电容。R1、R\(_{2}\)与R4分别组成衰减器,调整R\(_{1}\)、R2,保证V\(_{AP}\)= VAO+0.4V使第一级发光。
电路中使用复合管作为开关元件,这是因为用单管作开关元件时基极所需电流较大。例如选β=30的单管作开关管,灯泡电流为30mA,当灯泡发光时开关管的I\(_{b}\)为1mA,各个Ib均流过分配器的二极管,这样前几个二极管上经常流过各开关管I\(_{b}\)的和,造成二极管结电压变化,影响了精度。而使用复合管。Ib可比单管小几十倍,保证各级所指示的dB值较为准确。
电路从P点输入,可指示喇叭瞬间功率,即间接指示响度,K点输入端接到收音机功放输入端时,可指示送到功放输入端的电平值,即可作为电平指示器。
最后一级发光时应指示多大功率或电平较合适呢?这首先决定于个人喜欢听的音量。不同人往往差别很大。最好是在常听的音量下使3/4以上灯泡发光,这样才好看些。其次,不同功放电路要求的输入电平也不同,喇叭输出额定功率时要求的输入电平相差很大。而且相同的功放输出功率,由于喇叭阻抗不同,喇叭两端电压也不同,所以应根据放音设备的具体情况而定。
一般15~20平方米的房间,3W(+5dB)功率已经很响,以此音量定为最后一级发光是合理的。在房内环境杂音较大情况下,喇叭有0.01W输出一般是可以听得清楚的,取这个数值定为第一级发光是可取的。但中间各级不能把最小功率和最大功率的平均值分配到各级。因为人耳对声音强弱变化的感觉与声功率的对数成正比,所以用dB数确定各级功率才正确。闪光单元取多少级合适要看手头材料情况及收音机、录音机等设备的面板位置而定。市场上常见的索尼65S型录音机采用5级,对应标出-15、-7、-3、0、+3(dB)。神笛收录机采用10级,分别对应-20、-15、-10、-7、-5、-3、0、+1、+2、+3(dB)
本电路采用10级,安排如下:设喇叭输出1W功率时为0dB,设国际标准电平(0.7745V)为电平的0dB(即lmW功率在600Ω电阻上产生的电压)。各级所对应的分贝数见附表。表中的分贝数有两层含意作功率(响度)指示器时0dB表示1W,作电平指示时0dB表示0.7745V。表中功率和电压的数值均是在8Ω负载上测得的。如果负载(扬声器)不是8Ω,可按以下公式计算:功率的分贝数±dB=10lg\(\frac{W}{_{出}}\)1;电平的分贝数±dB=20lg=V入;0.7745;式中W\(_{出}\)是喇叭输出的音频功率,W出=\(\frac{V}{^{2}}\)\(_{出}\)RH,V\(_{出}\)是喇叭上的电压有效值,RH是扬声器阻抗。喇叭的峰值电压V\(_{P}\)=1.41V出。V\(_{入}\)是其他被测点的电压有效值。
从表中数据还看出一个问题,从P点输入0.28V有效值,指示器第一级发光,而从K点输入0.077V有效值指示器第一级发光。它们之间有3.65倍的关系。由于BG\(_{1}\)、BG2组成的放大器增益是一定的,这个倍数关系靠调整R\(_{1}\)、R2的阻值来实现。方法是:先确定R\(_{2}\)然后改变R1,使衰减倍数相差3.65。
装配、调试及其他
该制作项目对元器件要求不严,三极管可使用业余品,β在20~200均可,β值大的管子最好放在前几级中。为了保证各级显示的分贝值准确,D\(_{5}\)~D15可用硅管也可用锗管或者串联也行。一般D\(_{5}\)、D10、D\(_{ll}\)、D15使用锗2AP二极管;D\(_{6}\)、D7、D\(_{8}\)、D9、D\(_{12}\)、D13、D\(_{14}\)使用硅2CP二极管。硅三极管的一个PN结可代替硅二极管,锗三极管的一个PN结可代替锗二极管。小灯泡可使用12V0.04A的,如用发光二极管,应注意串联限流电阻。如果用6.3V、2.5V100mA的灯泡,三极管BG4、BG\(_{6}\)、BG8……BG\(_{12}\)应选用IM大些的管子。灯泡电流越小越好,为适合机器的电源,灯泡可选用12V的,也可选用6V的。
1.调整分配器 参考图1、图2除二极管D\(_{5}\)~D15之外,其他元件全部焊上。按图1在V\(_{E}\)至A点之间暂时接人R0、R\(_{0}\)1,R01为5.1K电位器,当V\(_{E}\)=12V时,R0选用39KΩ。调整R\(_{0}\)l使A点对地电压可在0.8~8V之间变化。调试方法是:接好电源VE、V\(_{cc}\),参考附表调R01使V\(_{AP}\)为1.2V,此时第一级灯泡应亮,然后焊上D5,调R\(_{0}\)1使VAP=1.5V,此时第二级灯泡应亮;焊上D\(_{6}\)再调R01使V\(_{AP}\)=2.06V,第三级应亮,如此一级级调下去,直到最后一级调亮。假如VAP调到该亮的电压而不亮,则应变换分配器的二极管使该级亮了为止。又如,调整第一级发亮时V\(_{AP}\)不是1.2V而是1.4V,这说明复合管BG3、BG\(_{4}\)的发射结电压降偏大,修正的办法是改变VAO。表1中V\(_{AP}\)=VAO+V\(_{P}\),这里的VAO为0.8V。如遇到上述情况,可将V=1.4-1.2=0.2V加到V\(_{AO}\)中去,此时VAO=0.8+0.2=1.0V,表1中V\(_{AP}\)一栏要相应改为1.4、1.7、2.26……8.1V。调整时如发现某相邻两级同时发光,且后面的一只暗些,说明暗些那级二极管漏电流大,应更换。分配器调完之后,去掉R0、R\(_{0}\)1。

2.调整放大器工作点 调整R\(_{3}\),使BG1集电极电压为1/2V\(_{E}\)。BG2的工作点主要是保证V\(_{AO}\)的数值。可通过更换D3、D\(_{4}\)及调整R7的数值实现。R\(_{7}\)取3~8.2KΩ的某一数值,可得到准确的VAO。
3. 调整衰减器 由于从K点输入信号与从P点输入信号相差3.65倍的关系,所以R\(_{1}\)与R2数值应准确。决定R\(_{2}\)的方法有两种,一种是参考图3,从电源变压器的次级绕组E点或F点取得50Hz电压。按图接上电阻R03、R\(_{0}\)4和电位器R02,调节R\(_{0}\)2使P′点输出2.8V有效值(相当扬声器0dB响度)送给指示器的P点,调整R2使第1~6级发光,此时R\(_{2}\)就确定好了。再调整R02使P′输出0.7745V,送到K点,调节R\(_{1}\)使第1~6级发光,此时R1的阻值就调好了。

4.其他 电路如发现自激,可改变C\(_{2}\)的数值消除自激。也可在BG1集电极至地之间接一个几千pF的电容。
电子管收音机加装指示器,V\(_{E}\)可从功放级6P1管的阴极取得,因为6P1阴极电阻上有12~15V直流电压。Vcc可从电源变压器灯丝电源取得(如图3)。该电路作响度、电平指示两用时,可在K、P两点接上切换开关,用开关控制两种指示。
该制作的外形可参考图4。用白铁皮按图中尺寸做一个小盒,把灯泡分别焊在一根粗铜丝上,将各灯泡引线分别焊到电路中去,盒的正面用红色或兰色有机玻璃封住。
