晶体管有PNP和NPN两种导电类型。把这两类极性不同的晶体管按一定方式对称地接在一起,让它们的功能互相补充,便构成互补对称放大电路。这种电路发挥了晶体管的特长,具有运用合理、调整方便、性能优良等优点,近年来已被高保真扩音机广泛采用。
互补输出原理
图1是互补输出原理图,图中的BG\(_{1}\)和BG2是一对极性不同、但性能参数对称相等的晶体管。输入信号电压u\(_{i}\)同时加到互补晶体管BG1、BG\(_{2}\)的基极上,当ui为正半周时,PNP型的BG\(_{2}\)截止,NPN型的BG1导通,产生集电极电流i\(_{c1}\)流过负载RL;而在u\(_{i}\)的负半周,BG1截止,BG\(_{2}\)导通,产生集电极电流ic2流过R\(_{L}\)。ic1和i\(_{c2}\)合成的结果,流过负载的电流iL便是一个与信号波形相同的完整电流。这样,通过互补晶体管BG\(_{1}\)、BG2的交替工作,便完成了推挽放大任务。

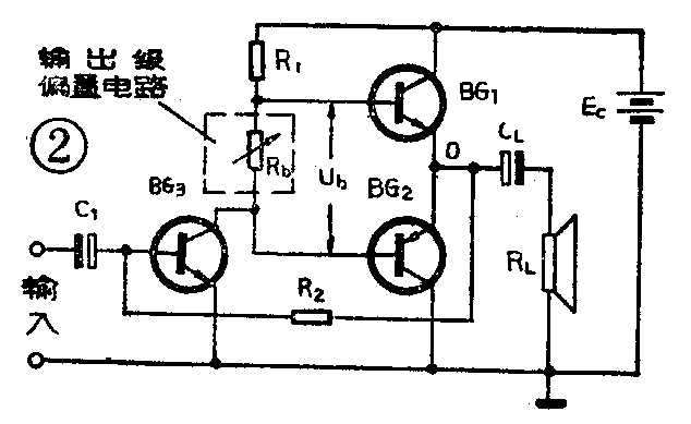
图1所示的原理电路是射极输出形式,电压增益略小于1,它要求输入信号电压很高(比输出电压还高一些)。因此,实际使用的互补输出电路常需添加一到两级前置激励放大。另外,也可以把电源改为单电源供电,即用一个E\(_{C}\)代替EC1和E\(_{C2}\)。此时为了不让直流电流通过扬声器,电路输出端需通过一个大容量电解电容器CL与扬声器耦合,见图2。N中的R\(_{1}\)是激励级BG3的集电极负载电阻,R\(_{2}\)是BG3的基极偏置电阻。为了改善音质,减小BG\(_{1}\)、BG2交替工作时在信号衔接部分出现的失真,应使输出级晶体管具有一定的正向偏置电压(每只硅管约0.6伏),从而使BG\(_{1}\)、BG2得到几到几十毫安的静态集电极电流。图2是在BG\(_{1}\)和BG2的基极间接入一个大小适当的电阻R\(_{b}\),让BG3的集电极电流流过R\(_{b}\),从而使输出级晶体管得到所需的静态偏置电压Ub。为了提高偏置的稳定性,并能作温度补偿,实际电路里的R\(_{b}\)常用热敏电阻、晶体二极管、三极管或它们与电阻的组合来代替。

复合晶体管
上面介绍的互补对称功放电路,要求采用相同材料的PNP-NPN互补配对功率管,而NPN型的锗大功率管不易得到,PNP型的硅大功率管(3CD……、3CA,……)目前国内的产品也不多,配对选择PNP-NPN互补大功率管就更困难。另外,还由于单只晶体管的电流放大系数不高,这类功放电路又往往需要较大的激励功率,因此单只晶体管不适宜作大功率输出。为了克服上述缺点,可把功率输出管改为复合晶体管。
复合晶体管是由两个或两个以上的晶体管按一定方式组合而成的,它与一个高电流放大系数的晶体管相当。组成复合管的各个晶体管可以同极性,也可以异极性。扩音机常用的复合方式见图3。晶体管按这些方式复合后,复合管里第一个晶体管的发射极电流(或集电极电流)就是第二个晶体管的基极电流,输入电流在复合管内经过两次放大,便使复合晶体管获得上千倍的电流放大系数。此时,复合管的基极就是第一个晶体管的基极,复合管的导电极性与第一个晶体管的极性相同,而与后接晶体管的极性无关,从而使大功率输出管能采用同一型号,便于配对。晶体管复合后的电流放大系数β近似等于组成复合管的各个晶体管电流放大系数的乘积。

实际的复合管常加进电阻R\(_{e1}\)和Re2(见图4),以提高复合管的温度稳定性和升高大功率管的反向击穿电压。由于R\(_{e1}\)对信号电流的分流作用,再加上Re2的电流负反馈,复合管的总电流放大系数将减小很多,实际值会降到原来的一半左右。

准互补输出
利用复合管的不同复合方式,可以使互补电路的功率输出管成为同一类型,解决了PNP-NPN大功率管互补配对的困难,使制作方便很多。但是由于复合方式不同,复合管内各晶体管的接法便会有差别,复合后的所谓配对管决不会完全对称,例如图3的a与d或b与c之间,输入电阻就有很大差异。因此,用不同复合方式来组成复合管配对使用的互补输出电路,常称为“准互补输出电路”。这类电路在扩音机里用得很多,图5是它的工作原理图,当输入正弦信号时,各点波形(示意)如图所示。

由图5可见,上臂复合管的基一射间含有BG\(_{1}\)和BG2的两个发射结,又由于BG\(_{2}\)的输入电阻接在BG1的发射极电路里,形成电流负反馈,因此使上臂复合管的输入电阻比下臂BG\(_{3}\)的输入电阻高得多。为了补偿准互补电路上、下臂复合管输入电阻的差异,需在BG3的发射极串上一只与BG\(_{2}\)的输入电阻相当的Re3。
图6是一个实际的准互补输出功率放大器电路,最大输出功率达20瓦,可用来放大收音机、录音机的输出信号,作功率接续器使用。该电路共使用五只晶体管:BG\(_{1}\)作前置激励放大,BG2与BG\(_{4}\)组成NPN型复合管,BG3与BG\(_{5}\)组成PNP型复合管,这对互补复合管便是功率输出级。输入信号经过R2、C\(_{1}\)送入BG1的基极,经BG\(_{1}\)放大后,在它的集电极输出,并同时加到BG2和BG\(_{3}\)的基极上(R3阻值很小,对信号传递的影响可以忽略)。这里的BG\(_{2}\)、BG4复合管和BG\(_{3}\)、BG5复合管分别相当于图2的BG\(_{1}\)和BG2,它们互补工作的结果,便实现了推换功率放大。

R\(_{8}\)和D1组成输出级的静态偏置电路,相当于图2的R\(_{b}\)。BG1的集电极电流流过这两个元件后,形成1.8伏左右的电压降,使输出级晶体管得到适当的正向偏置。调整R\(_{8}\),到BG4、BG\(_{5}\)的静态集电极电流为15毫安左右,便能有效地降低放大器的小信号失真。
R\(_{7}\)、R4是BG\(_{1}\)的偏置电阻,调整R7便能改变BG\(_{1}\)的集电极电流,并使BG1的集电极电压U\(_{c1}\)(直流)跟着变化,从而可把输出中点的直流电压Uo调到等于\(\frac{E}{_{C}}\)2,以保证放大器能获得最大不失真功率输出。R7接在中点与BG\(_{1}\)基极之间,便形成直流负反馈,使Uo稳定。稳定原理如下:设某种原因使U\(_{o}\)变高了,通过R7提供给BG\(_{1}\)的基极电流便增大,这导致BG1集电极电流增加,U\(_{c1}\)下降,即Ub3下降,从而把U\(_{o}\)降下来,使Uo趋于稳定。当U\(_{o}\)变低时,也是通过类似的反馈过程,使Uo回升。
R\(_{6}\)是BG1的集电极负载电阻。R\(_{5}\)与C4组成自举电路。由于C\(_{4}\)容量较大,它两端能保持一个直流电压,其值为Ec-I\(_{c1}\)R5-\(\frac{1}{2}\)E\(_{c}\)。这情况使A点的电位能随瞬时输出电压Uo的升高而升高(即自举,请参看本刊1981年第8期39页),从而保证了在输出最大信号时,能有足够的电流流入BG\(_{2}\)、BG4的基极,使它们充分导通,提高了正向输出幅度。另外,C\(_{4}\)的接入还把输出交流信号从中点引到A点(R5起隔离作用),当C\(_{4}\)足够大时,信号电压uo≈u\(_{A}\),再由于BG1的输出信号电压u\(_{c1}\)≈uo,从而使u\(_{c1}\)≈uA,流过R\(_{6}\)的信号电流就很微弱。换句话说,C4接入后,使好象把R\(_{6}\)变成一个对交流信号具有很高阻值的电阻似的,其结果使BG1的输出电流不致被R\(_{6}\)分流,绝大部分能送往功率输出级,从而提高了电路的总增益。
R\(_{9~13}\)是准互补输出电路所需要的。其中R9是平衡电阻,即图5的R\(_{e3}\)。R10~13可提高复合管的工作稳定性,其作用与图4的R\(_{e1}\)、Re2相当。
其他元件的作用:R\(_{1}\)是与信号源匹配的电阻。R2是输入隔离电阻。C\(_{1}\)是输入耦合电容。C2是防振电容,能抑制BG\(_{1}\)高频自激,没有自激出现时可不用。该电路还从电路输出端通过C3、R\(_{3}\)把输出信号的一部分反馈到BG1的基极。由于本电路的输出信号与输入信号反相位,该反馈起抵消输入信号的作用,所以是“负反馈”。负反馈的结果,电路增益下降,但电路性能得到改善。调节R\(_{3}\)或R2便能改变整个电路的增益,可根据实际需要选定R\(_{3}\)、R2的阻值。C\(_{5}\)是放大电路与扬声器间的耦合电容,起隔直流作用。由于扬声器的阻抗很低,为了保证低频响应,C5要用470微法以上的大容量电解电容器。(李应楷)