表笔是带有液晶数字显示计时的圆珠笔,电子表芯安装在笔套中,装配位置紧凑,拆卸有些麻烦。在维修中取出表芯的方法,一般是直接挪动或轻轻撬开表玻璃后进行的(见本刊82年6期表笔一文),为了解决修理过程中常常出现的打不开表玻璃的实际困难,在这里向读者介绍一种使用自制工具、巧取表芯的简便方法。
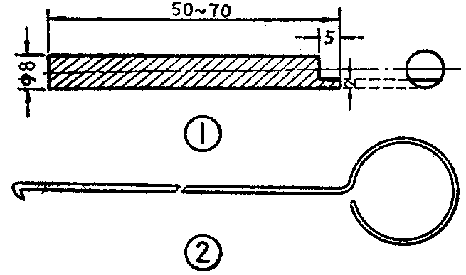
首先准备一根直径为8mm(可根据笔套内径而定)的铜棒,将一端部锉去大半,留下一截小半圆,制成如图1的形状尺寸。这一铜棒是打开窗口表玻璃的有效工具,特别适用于表玻璃陷入窗口之中而无法取出的表芯,同时亦可避免表玻璃在拆卸过程中容易引起的破碎、松动和损坏现象。另外再找一根φ1.5mm左右的钢丝或铁丝,弯制成如图2所示头部圆浑而略带钩状的通针。这一通针主要用来取出电池弹簧、顶出表芯和调整表芯的显示位置。

具体使用方法是:将笔套内的电池弹簧用通针钩出,倒出电池后插入铜棒,使铜棒上的小圆头伸入表芯和管壁之间的空隙部位,微微转动铜棒让表玻璃跟随表芯偏转一定角度,这时窗口露出较大缝隙,即可方便取出表玻璃,见图3,进而用通针在窗口把塑料支架顶出,表芯便可顺利取出。

在装配表芯时,铜棒和通针还可用来上下和左右调整液晶屏在窗口的显示位置。(纪养培)