这种简易测向机结构简单、造价低廉、取材方便,易于制作。经实验使用效果良好,曾荣获1982年全国2米波段测向机评比简易机第一名。
电路简介
整机电路是由天线、输入回路、高放、超再生检波和低放几部分组成的,电路参见图1。天线采用折合振子馈电的三单元八木天线。输入回路采用75欧不对称电路。为了使折合振子天线与输入回路匹配,加了阻抗变换器。

输入回路由L\(_{1}\)C1组成,谐振于145MHz上。高放部分由BG\(_{1}\)、L2~L\(_{4}\) 、C2 ~C\(_{5}\) 、C7 等组成。这一级除了提高整机增益外,还起隔离作用,以抑制超再生辐射。L\(_{2}\)、L4和BG\(_{1}\)输出端的分布电容组成并联谐振电路,谐振于144MHz频率上,L3与C\(_{7}\)组成的串联谐振回路则谐振于146MHz频率上,以保证带宽。超再生检波电路由BG2、L\(_{5}\)、L6、C\(_{6}\)、C8和C\(_{11}\)等组成。这种电路实际上就是工作在间歇振荡状态下的再生式检波电路。无信号时,只有超再生噪声;有信号时,电路工作在间歇振荡状态,通过控制BG2基极电位的高低,能控制振荡的产生、熄灭,调节C\(_{6}\)、C11、R\(_{7}\)、R8及L\(_{6}\)的数值,可获得合适的熄灭频率。本机的接收频率是由L5、C\(_{8}\)和C9组成的调谐回路决定的,调节C\(_{9}\)可改变接收频率,调节C10可改变再生强度。
BG\(_{3}\)、BG4等组成阻容耦合放大电路。本机采用300Ω耳机,K\(_{1}\)为近距离衰减开关。
元器件选择与制作
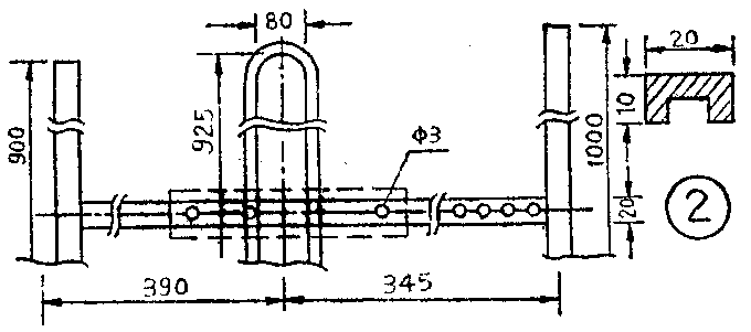
BG\(_{1}\)、 BG2均采用2G211高频小功率管,要求管子的截止频率f\(_{T}\)>300MHz,β≥60~80。高频部分电容器宜采用高频瓷介或云母电容,以减少高频损耗。BG3、BG\(_{4}\)采用3DG6、要求β≥100。天线材料可选用φ8mm铝管和铝材料分别作振子、反射器、引向器和中心樑架,详细尺寸见图2。电感线圈的制作参见图3。C9用1~3P的空气可变电容器。印制板见图4(1:1)。外壳材料选用敷铜板边角料,有铜箔一面向里易于焊接。整机结构见图5。




调试
整机调整由后往前逐级进行。调整时首先断开R\(_{9}\),接好耳机,接通电源,由C12输入一个1000Hz的音频信号,调R\(_{1}\)0、R13使耳机输出最大,然后换上合适的电阻。接上R\(_{9}\)、断开L3,调R\(_{7}\)、R8使耳机有静态噪声,并使噪声最大,再调C\(_{8}\)~C10使噪声纯净。用超高频信号发生器从C\(_{7}\)输入145MHz的超高频调幅信号,调C8、C\(_{9}\)使接收机的接收频率接近这一频率。在有信号时,接收机噪声将被抑制。接上L3,调R\(_{1}\)选择高放的工作电流约为1mA,然后从天线输入144~146MHz的调幅信号进行统调,调整L2、L\(_{3}\),L4的电感量,使信号输出最大,并保证有2MHz的带宽。把输入回路调谐在145MHz中心频率上,再将以上的几只电感反复调整几次即可。
最后应指出,由于超再生电路辐射严重,所以在制作中应分级加屏蔽。(山西省张锋)