汽车司机酗酒开车的危害,恐怕是尽人皆知的了。以往检查酗酒与否,是靠检查人员的眼睛看和鼻子闻,这既不准确又不卫生。本文介绍的汽车司机酗酒检测器(简称酗酒检测器),是采用半导体气敏元件将汽车司机呼出的酒气转换成电信号,再经电子电路的放大处理,通过表头直观地显示出被测气体的酒精含量,同时还有红灯指示和发出“嘟、嘟……”报警声。
工作原理
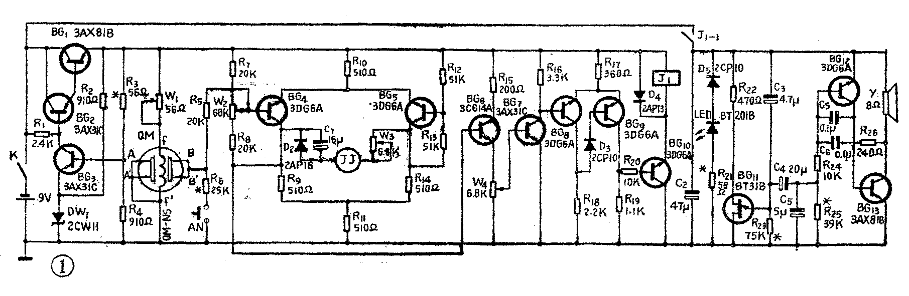
酗酒检测器的工作原理见图1。由于检测器是用六节五号电池作电源的,开机后,随着用电时间的增长,电压就会逐渐下降,这势必影响测量的精度,为此,必须采取稳压措施。图中BG\(_{1}\)、BG2、BG\(_{3}\)、DW1以及R\(_{1}\)~R4就是一个直流稳压电路,电源电压经过稳压电路从BG\(_{1}\)的发射极输出-5V电压供给其后各级。

QM和W\(_{1}\)是酒气探头电路。QM是一只半导体气敏元件,它有丝极f—f'和测量极A—A'、B—B'。气敏元件工作时,通过灯丝加热使测量极表面保持在200℃左右。平时在无酒气时,两测量极之间为一固定阻值;而当气敏元件接触到酒气后,气敏元件的阻值下降;当酒气撤离后,其两测量极之间的阻值又恢复原状。气敏元件两极间阻值的变化,必然要产生一个变化的电位,形成一个电信号,且这一电信号是与酒气中的乙醇(俗称酒精)成分的含量在一定范围内是成正比例的。又因电源采取了稳压措施,因而流经QM丝极f—f'的电流是恒定的,适当调整W1,使气敏元件工作在最佳线性工作区内,从而保证了测量的稳定和精度。
BG\(_{4}\)、BG5、W\(_{2}\)、W3、R\(_{7}\)~R14、D\(_{2}\)、C1和酒精含量百分比表头JJ等组成差分放大电路。在这里W\(_{2}\)为表头JJ的校零电位器,W3为表头量程满度电位器。由前述可知,气敏元件QM输出的电信号是与酒气中酒精含量成正比的,那么当我们给探头输入一定浓度的标准酒气气样(如0.1%、0.2%……0.5%的酒精——空气混合气体)时,表头JJ的指针也应有相应的指示。我们把这些酒气气样的浓度值标注在表头JJ的面盘上,于是人们在检测未知酒气浓度时,就能很方便地直接从表头面盘上读出来了。
气敏元件将酒气转换成的电信号,经R\(_{5}\)直接耦合到差分放大器中的BG4基极,被放大了的信号由BG\(_{4}\)集电极分两路输出:一路经D2、C\(_{1}\)、表头JJ等构成测量显示回路;另一路则直接送到BG6的基极将信号进一步放大。调整W\(_{4}\)可随意改变酗酒器的报警点。
BG\(_{8}\)、BG9、R\(_{17}\)~R19及D\(_{3}\)等组成一个射极耦合双稳态电路。平时BG8截止、BG\(_{9}\)饱和。而BG10的基极是与BG\(_{9}\)集电极相连的,因此BG10被反向偏置电压控制而截止,所以继电器J\(_{1}\)无电流通过,其常开触点J1-1切断了报警电路的电源,报警电路不工作。而当探头QM探测到浓厚的酒气,“酒—电”信号经差分放大器和BG\(_{6}\)放大后,BG7、BG\(_{8}\)、相继导通,BG9截止。这样,BG\(_{1}\)0的基极经R19、R\(_{2}\)0获得正向偏置电压而导通,因而J1吸合,其常开触点闭合接通报警电路电源而发出报警声。
BG\(_{11}\)~BG13等组成了音频报警电路。从图1可看出,BG\(_{11}\)、R22、R\(_{23}\)、C3等就是一个单结晶体管组成的超低频振荡器,用它的定时电容器C\(_{3}\)上的锯齿波电压通过C4耦合到BG\(_{12}\)基极,来周期地改变BG12的偏置。BG\(_{12}\)、BG13及扬声器Y等组成了一个互补电路讯响器,由于BG\(_{12}\)基极受超低频振荡器的调制,所以当J1—1触点接通报警电路电源后,喇叭即发出“嘟、嘟”的断续报警声。
红色发光二极管LED是作报警指示灯用的,R\(_{21}\)是其限流电阻,适当调节其阻值,可以增强或减弱LED的亮度。
按钮AN的作用是作试验用的。它是模拟探头QM向差分放大器输送一个信号,借以观察检测器是否工作正常。
元件的选择
由于酗酒检测器必须便于携带,因而应选用小型元器件。全部电阻都是用金属膜电阻RJ一\(\frac{1}{8}\)W。全部电解电容都采用CD11—10V,C\(_{5}\)、C6用云母电容器。探头QM采用黑龙江省哈尔滨市通江晶体管厂产品QM—N\(_{S}\)型气敏元件,配用GZC7—F七脚电子管座,管脚①、②、③连在一起接地,管脚⑤、⑦连在一起作B—B'极,管脚⑥为f极(参见图2)。

三极管BG\(_{4}\)、BG5要从严挑选,要求参数一致。BG\(_{8}\)、BG9也要求尽量配对。BG\(_{1}\)要采取适当的散热措施。
电位器W\(_{1}\)采用WX1—1W—56Ω小型线绕电位器。W\(_{2}\)、W3、W\(_{4}\)采用WSW3—3玻璃釉电位器。继电器用HG4098型,6V、1Z。表头JJ是用上海福北无线电厂产品85C1-50μA微安表改绘面盘制成的,面盘如图3所示。

调试
调试分六步进行:
1.调整稳压电源部分。用470Ω电位器串接一只20Ω电阻组成调试电阻代替R\(_{3}\),调节电位器使BG1发射极对地电压为-5V。取下调试电阻,测量其阻值,用阻值相当的电阻焊在R\(_{3}\)位置上,再复核一下BG1发射极对地电压是否仍为-5V。
2.通电预热五至十分钟,在无酒气的环境中调节W\(_{1}\),使检测表头JJ指示为零。
3.将含量为97%的乙醇与空气按照0.1/100、0.2/100、0.3/100、0.4/100、0.5/100的比例(体积比),在20℃的环境中让乙醇挥发,与容器中的空气充分混合而成为酒精——空气混合气体气样,简称酒气气样。先向探头QM输入恒定的0.5%酒气气样,调整W\(_{3}\),使表头JJ满度(即指针指在0.5上),然后将上述各种浓度的气样输入,微调W1和W\(_{3}\),使指针所指刻度与实际气样浓度值一一对应,必须要有耐心地仔细调整。
4.把0.2%的酒气气样输入探头QM中,调整W\(_{4}\),使仪器报警,而撤离酒气气样后,报警自然停止,表头逐渐回零。这就是说,规定从0.2%开始到0.5%的浓度值范围是酗酒范围。
5.按下AN,表头应指示满度。如不满度,应调整R\(_{6}\)。
6.报警声响部分的调整。改变R\(_{25}\)可以改变音频频率,同时也能改变输出功率,适当调整R25,使音调动听为好。变更R\(_{23}\)的阻值,就能改变声调变化的快慢。这里要说明一下的是,C2必须用47~50μF的电解电容,若取值过大或过小,电流耗费将增大。
使用注意事项
1.要爱护探头QM,不要乱拆乱扔,测试时不得将酒滴入气敏元件网罩内,以免元件烧坏。
2.仪器要防尘、防潮、防酸碱。特别要防止灰尘杂物把气敏元件网孔堵塞。如有堵塞,可取下气敏元件,放入酒精中洗干净,取出后放在烘箱中烘干即可。如无烘箱,晒干也可以。
3.仪器中各电位器一经调走,使用中不要乱动。
4.定期作酒气浓度标定试验。
5.经常注意电池电压。开机按下AN按钮,如指针指在0.45%以下,就得考虑更换电池,以免影响检测精度。
这种汽车司机酗酒检测器,最近已由辽宁省沈阳市分析仪器二厂批量生产。(任致程 卢崇学)