问:一台波兰Neptun625型24英寸电视机的帧扫描部分坏了,测量帧扫描集成块TDA1170的4、10、11、13脚电压为13.5伏;2.5脚为22.5伏,拆下TDA1170,测其4、13脚电阻近似零。请问这是否说明TDA1170已坏?另外电路图中所标的TDA1170的几个脚的电压值,是指对底板还是对组件板公共点而言的?每个脚的正常值为多大?
答:由于TDA1170的13脚是公共点,而4脚是帧功放器的输出端,4、13脚等电位(或电阻近似零),说明TDA1170已坏(该集成件是易损元件),应予调换。电路图中所标的TDA1170的几个脚电压是以主底板为参考点的。在检修时,除了要测这几个电压外,重要的还需测TDA1170各脚对组件板公共点的电压值,这常可帮助迅速查到故点。各脚对公共点的正常电压值见附表所示。(王德沅)
管 脚 电压(V)
1 5.2
2 22.5
3 2
4 12.5
5 22.5
6 6.5
7 6.5
8 0
9 3.2
10 2.2
11 0.6
12 4
13 0
问:飞利浦17英寸黑白电视机的帧输出级由硅PNP管BD136和硅NPN管BD135配对管作输出,其中BD136轻易损坏,能否用国产晶体管代用?

答:可以用国产管3AD6和3CG21组成复合管代替BD136,线路如图所示。安装时,将3AD6装在原BD136的散热板上。(潘世澄)
问:我们在使用日立牌P-26D型电视机时发现,这类机子的亮度旋钮不能将荧光屏的亮度全部关死(即全黑),亮度旋钮旋至最暗位置时,荧光屏上仍有较暗光栅。而国产12英寸电视机却无这种现象。是不是这类电视机有毛病?为什么?
答:日立牌P-26D型电视机的亮度旋钮不能将荧光屏亮度全部关死,不是电视机有毛病,而是它的亮度控制电路就是这样设计的。因为在观看电视节目时英光屏上总是要有一定的亮度,所以在设计亮度控制电路时没有必要使荧光屏全黑。
型 号 阴极截止电压
310GNB4 55V
310JHB4 79V
12VcAP4 65V
310GUB4 74V
310EUB4 50V
31AK45 70V
31SX3B 60V
常见的几种不同型号12英寸黑白显象管的阴极截止电压如表所示。P-26D电视机的亮度控制电路与国产电视机相似,它采用12VCAP4显象管,阴极截止电压为65V,而它的亮度调节电位器调节阴极电位最高值为55~60V,达不到阴极截止电压,因此显象管还会发生暗光。而大部分国产12英寸电视机的亮度调节电位器可以把阴极电位调到100V以上,超过了表中所列任一种显象管的截止电压,所以荧光屏无光。(花维国)
问:一台香港产佳丽彩牌EC- 141D型14英寸彩色电视机图象上叠加有左右倾斜的白线,调节亮度旋钮不起作用,是显象管坏了吗?
答:EC-141D型彩色电视机产生上述故障,不一定是显象管损坏了,当供电电压不正常时也可以出现上述故障。

在亮度调节电路中,分压电阻R\(_{9}\)07、R908是碳质电阻,质量不佳损坏较多。当R\(_{9}\)07、R908有一个损坏阻值变为无穷大时,就造成显象管供电电压不正常,此时调节R\(_{951}\),电压无变化。必须将R907、R\(_{9}\)08更换相同(或相近)阻值的电阻,故障方能消除。现将出现这一故障时显象管各脚的电压值与正常情况下显象管各脚的电压值列在表内,供检修时参考。
显象管 正常时电 故障时电
引出脚 压值(V) 压值(V)
3 135 165
4 0 0
5 0 0
6 0 0
7 0 0
8 135 165
9 0 0
10 520 730
11 0 0
12 120 165
如果不是上述情况,而是显象管损坏了,则须更换显象管。(顾波)
问:什么叫磁头方位角?标准方位角是多少度?方位角偏移有什么现象?
答:磁带行进方向与磁头缝隙中心线之间的夹角叫方位角。标准方位角为90°。用正常录音机录制的磁带,放在磁头方位角已偏移的机器上放音会明显感到高音不足。这是因为磁头方位角偏移以后,磁带磁迹两侧的音频感应电压会产生一个相位差,有相互抵消作用。由于单声道磁带的磁迹比双声道磁带的磁迹宽得多,这种磁迹两侧音频感应电压的抵消作用强得多,所以单声道磁带的高音损失比双声道磁带显得更甚。(录放)
问:82年第6期发表的“盒式录音机的偏磁和抹音”一文,第4 页给出的偏磁振荡电路是单声道的。如果装置双声道录音机,磁头应如何与电路连接?

答:“盒式录音机的偏磁和抹音”文章中介绍的偏磁振荡电路是推挽振荡电路,功率余量较大,双声道磁头可以如图所示的方法连接,左、右两声道磁头线圈同时从第6端取得偏磁电流。(言国强)
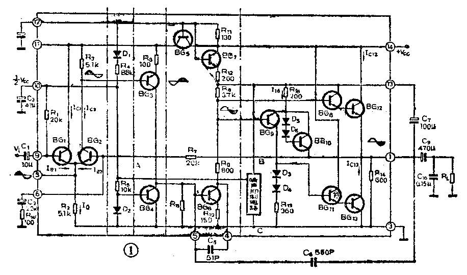
问:贵刊1981年第12期曾登载《FZ8集成音频功率放大器》一文,请问该集成块内部噪声抑制电路的作用与工作原理是什么?
答:FZ8集成块内电路及外围电路如图1所示(与日本三洋产品LA4112相同),内部噪声抑制电路可以抑制开机时浪涌电流引起的“噗”声。噪声抑制电路除A、B、C三点与图l相接外,其实还有一个分压电阻接至+V\(_{CC}\)(如图2所示)。FZ8处于稳态工作时,A点电位为\(\frac{1}{2}\)VCC,而BG\(_{14}\)射极电位经R20、R\(_{21}\)分压也等于1;2VCC。因此,BG\(_{14}\)处于截止状态,BG14集电极为零电位,则BG\(_{15}\)也截止,噪声抑制电路不工作。


大家知道,一般OTL和OCL电路开机瞬间,各管工作点不可能一下子达到额定电压值,则中点电压也不会马上达到额定值,有一个短暂的建立过程。而此时功放管已迅速导通,呈现为小内阻(如图1BG\(_{13}\)),则中点(图1①脚)电压跃变过程引起一个脉冲浪涌电流,冲击扬声器,形成“噗”声。若功放管晚一些导通,开机时产生的这个电流就会小得多。在图1电路中,因为前级供电接有由BG5、BZ\(_{7}\)两管构成的两个电子滤波器,开机瞬间C8充电,两管基极电压有个短暂的上升过程,则A点电位不能立即达到\(\frac{1}{2}\)V\(_{CC}\),而BG14射极电位已在开机瞬间立即达到1;2V\(_{CC}\)。在A点电位由零变至\(\frac{1}{2}\)VCC的过程中,BG\(_{14}\)得以瞬间正向偏置而导通,BG15也随之导通。因BG\(_{15}\)射极接地,BG15导通,则脚电压跌落,BG\(_{8}\)、BG9管截止,功放管BG\(_{12}\)、BG13也因之不能立即导通。当A点电位升高使BG\(_{14}\)、BG15截止,功放管导通时,中点①电位已基本建立,此时产生的浪涌电流也就小得多了。(上官沁)
问:我自制一台收、扩、唱组合音箱,用唱片放唱时,总产生低频自激振荡声,没法正常收听,如何解决?
答:在制作上述组合音箱时,如果唱机防振系统处理得不好,则很容易发生低频自激。原因是扬声器放音时箱体产生的振动,通过箱体传给唱盘,唱机拾音头又将这种振动捡拾起来,转变成电信号加以放大,引起恶性循环,产生很严重的低频叫声。
解决办法是将唱机采取良好的防振措施,具体方法是松开电唱盘上的两个与唱盘外壳相连的紧固螺丝钉,让弹簧放松,振荡一般即可消除。如果所用唱盘不带外壳,与音箱箱体连在一起时也必须考虑在紧固两者的螺丝钉处加上弹簧,放唱时拧松螺丝钉,让弹簧自由放松,以起到减振作用。(张国华)
问:我有一部海燕牌713型收、扩、唱三用机,使用四节一号电池(6伏)供电时,音质较好,后改为收音机用6伏稳压电源供电,音量小时音质尚可,音量稍一开大,声音就严重失真,而且声音比用干电池时小得多,这是什么原因?如何解决?
答:一部三用机,一般总能输出1~2W以上的功率,如果用四节1号电池供电(电压为6伏),供出3~4瓦功率没多大问题。一般收音机用的6伏稳压电源,能供出的功率有限,一般只有0.5瓦,即允许工作的电流在100毫安左右。如果将这种稳压电源用于海燕三用机,在小音量情况下工作时,工作电流不大,电源电压不会下降太多,声音一般不会产生失真;音量一大,所需电流剧增,在电源内阻上的压降增大,电源输出直流电压则大大降低,三用机放音时就会出现严重失真了。由于该稳压电源功率不大,不能提供大电流,所以放音音量也比用干电池时低。解决办法是改用能输出1安培以上电流的6伏稳压电源。(张国华)