编者按:去年10期征文以来,不少读者将自己在装置20W BTL放大器中的经验、体会以稿件形式寄到本刊,这些经验对初学者和在装置中遇到困难的读者是有所裨益的,在此仅向应征的读者、作者致谢。由于篇幅所限,文章不能一一全文发表。这期选登一部分内容,以便大家相互学习。
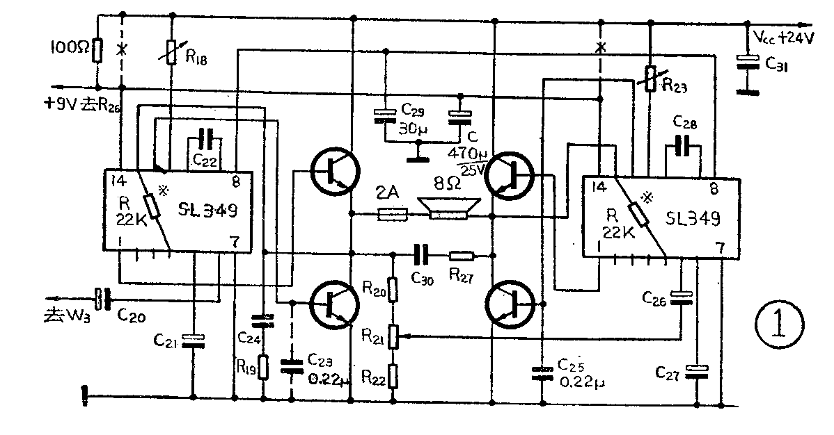
河北省张家口市第16中学周成山谈到:81年11期介绍的20W BTL放大器,具有功率贮备大,音质好的优点,是现行放大器中较好的一种。但装置中也容易出现一些问题。最大问题是集成电路SL349易损。追其原因大致有两个:一是自激振荡;二是电路过载。自激故障除了各人安装工艺因素外,集成块内电路结构欠佳也是一个重要原因。SL349内的前级放大部分与主放大器共用一个电源,与LA41××系列及SF404相比就显不足,后者前级放大部分供电电路都没有电子滤波器,因而工作较为稳定。SL349线路增益很高,电源内阻稍大就易自激,如不及时切断电源,SL349会很快烧毁。此时用万用表直流电压档测1或12脚,必有一脚为零(正常时1脚为12V,12脚为0.5V)。针对上述情况,可采用以下措施解决:①降低电路增益,方法是在13脚和4脚之间并接一个22KΩ的电阻(见图1)。②降低电源内阻,单声道电源变压器容量应大于50VA,双声道应大于100VA次级线径应大于1mm,单声道滤波电容应大于2200μF,双声道应加倍。③将集成块和功放管的供电分开,方法是将印制板上两集成块14脚通向电源正极的铜箔刻断(参考原文第4页图13),用一根导线将两个14脚连接起来,然后在14脚与地之间并上一只25V470μF的电解电容,最后在铜皮刻断的地方跨接一只100Ω电阻(见图1)。

由于过载引起集成电路损坏,大部分原因是调试中不慎人为造成的。例如喇叭短路,输出端碰地,输入信号太强等等都能损坏集成块。故障大多表现为无声,集成块13脚电压接近电源电压,大功率管发烫。这种情况多数两个集成块同时烧毁。此类问题只要注意调整方法就可解决。按下列顺序调试较为保险:①通电前应断开喇叭,将100mA电流表串在电源与电路板V\(_{CC}\)之间,通电后电流在15~60mA范围均属正常。若大于60mA应迅速切断电源,查出原因。正常情况下,调整R18、R\(_{23}\)电流应能变化。一般静态电流调到20mA为宜。调好后可接入喇叭。②由于印制板的输出端与电源和地均很近,使用22线插座时,千万不可带电插拔印制板!以防短路。③用录音机耳机插孔作信号源时,一定要在放大器输入端接入衰减器(图2),否则极易过载而损坏集成电路。④本放大器负载(即喇叭)不得小于8Ω,当音箱中接有高音头时,高音头必须经分频器接入放大器输出端,切不可将高音头与低音扬声器直接并联后接放大器输出端,否则集成电路和高音头均极易烧坏。

已经损坏的集成块不要随意扔掉。有些情况可以修复。如1脚电压为零其余各脚电压正常的情况,判断是T\(_{1}\)0的b、e结烧断,只要在1、2、10脚并接上一个3DG型三极管即可修复。
杨明生(江苏)、张志强(山西)等人的经验是:电路发生自激时表现为静态电流过大(大于60mA),数值忽大忽小不稳定,而且调整R\(_{18}\)、R23时静态电流不跟着变化。遇到这种情况应立即断电,首先检查C\(_{22}\)、C28、C\(_{24}\)、C30是否有虚焊、漏电、失效。福建战士丛战平的经验是:将电路板上的C\(_{24}\)和R19的位置对调。及C\(_{3}\)0和R27位置对调可以消除自激。辽宁营口县的陈平认为:分别在两只SL349第6脚对地之间加一个100pF的电容有助于消除自激。邢建榕(上海)的经验是加大C\(_{22}\)、C28的容量可以消除自激,但容量不可过大,以不超过300pF为宜,不然影响高端频响。武汉的欧阳紫峰认为,供电电路如果采用一般桥式整流π型滤波,可将8脚对地电容加大到200μF,这样工作较为稳定。沈国华、田同森(上海)的经验是:使用稳压电源供电是消除自激振荡的有效方法,图3是一种简易稳压电源电路,供大家参考。

于左(安徽)的经验是:将R\(_{6}\)减小至1.5KΩ,并在其上并联一只560pF电容;在SL30的1、5脚之间加100pF电容有助于消除提升高音时发出的噪声。黑龙江的孟庚认为,静态调试时应将C20负极接地,这样SL349不受外来信号干扰,保证SL349不至出现强信号过载。新疆的张肖东认为:P、Q两点电位不相等,可用如下方法使之相等:哪一只SL349的13脚对地电压偏低,就在哪一只的8—14脚之间加100K微调电阻。如哪一只SL349的13脚电位偏高,就在哪只的8—7脚之间加100KΩ微调电阻,调整这两个电阻阻值,可改变中点电压。
邓新民(上海)的经验是SL349早期产品一致性差,调整R\(_{18}\)、R23时阻值不一定相等,只要末级静态电流相等就可以了。冯栋(天津)认为,静态调试时V\(_{CC}\)不可上来就给足+24V,否则电路一旦自激,SL349极易损坏。调试时先用9V或12V调试,确认电路无自激了,再将VCC升到+24V。河北的葛全顺认为整机各部件在机壳内的布局应有讲究。特别防止电源变压器等的电磁场感应到放大器中来。一种方法是采用屏蔽,二是远离。放大板与面板应近些,电位器引线尽量短而且应使用屏蔽线,金属外皮应在印制板上输入级附近一端接地。

除上面几位读者介绍了自己的经验外,还有浙江宁波的汪亚明、黑龙江的邵清山、上海的余忠兴、卓麟、北京的马强、杨村的姜鲍放和上海的梁建伟等同志也应征写来了文章。这些同志有的装置一台,一年多来电路工作正常。有的为朋友们装置多台,均收到满意效果。所有来稿同志一致认为:初学者最应引起注意的是焊接技术。装一架机器,成败的关键在于安装前务必仔细检查元器件好坏,保证元器件质量(例如数值对不对,耐压对不对,电解电容有无漏电等等)。焊接前所有焊接部位必须事先上锡。方法是将元器件引线用小刀刮净,蘸上松香酒精溶液,用烙铁烫上一层锡,印制板的焊点处也应事前上锡。集成电路焊前也应烫锡,然后按图4将引线脚弯成直角。再把印制板上焊集成电路的各接点也烫上锡。这样把集成电路各脚对准走线之后,只要用烙铁轻轻一烫,即可焊牢。焊接电解电容前务必查对,极性不可接反。由于电解电容极性接反而造成SL349损坏的事例不少,应引起足够重视。解放军战士陈耀富认为,Q点对地加阻容移相网络也有助于消除自激,电阻和电容的数值与R\(_{19}\)(10Ω)、C24(0.1μ)相同。温宏毅(上海)、王国强(无锡)的经验是R\(_{18}\)、R23在电路未给电之前均应放在阻值最大位置,这样保证SL349的安全,同时在测量SL349的各脚电压时,要特别注意不可使邻近两脚短路。