为了提高测向运动水平,交流技术,本文将对参加1982年全国2米波段测向机评比的测向机电路作一综述简介,并提出一些探讨意见,供大家参考。
两米波段测向机综述
2米波段测向机实质上为一具有方向性天线的高灵敏度接收机,其接收频率在144~146MHz余频段,可分简易式和超外差式两大类。基本电路形式见图1和图2。


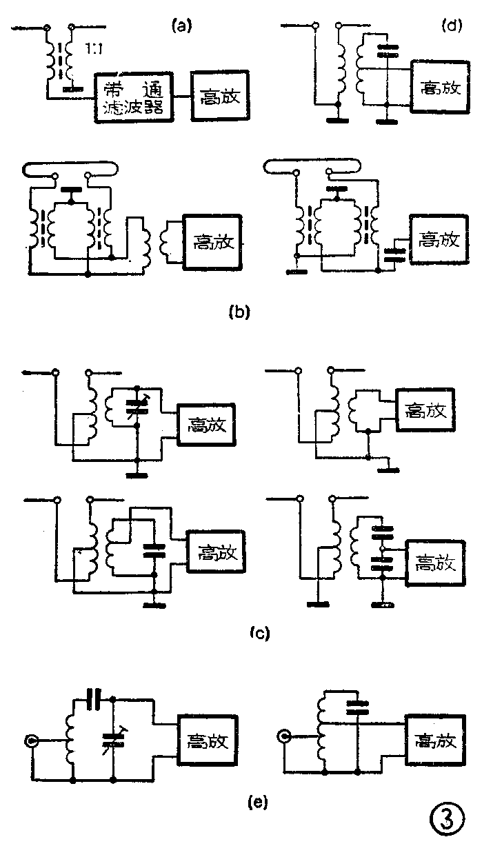
天线及其输入回路 2米测向机的天线多用二单元和三单元振子天线(关于天线以后另有文章介绍)。输入回路大致归纳为图3所示的五种形式。
其中图3(a)为加平衡变换及带通滤波的;图3(b)为采用300Ω/75Ω阻抗变换器的;图3(c)是平衡电感耦合方式的;图3(d)为不平衡电感耦合式;图3(e)为直接电感抽头的。

从电路和评比的测试结果看,有平衡变换的、输入阻抗匹配的测向机,其方向性较为明显,图3中的a、b两种输入电路能提供的整机方向性就比d图的要好。
高放级电路 为了减小噪声,高放电路大部分采用了低噪声管,连接成共发射极电路,有的测向机还使用了场效应管,以提高输入阻抗。但由于各机的高放电路选取的工作电流不同,所以尽管电路差不多,噪声大小也还是不同的。通常这级工作电流选在1~2毫安为佳。
本振电路 参加评比的测向机有的采用一次变频,它们的本振电路有3种形式,见图4所示。4(a)为改进的电容三点式振荡器;4(b)为射极输出的电容三点式振荡器;4(c)为电感三点式振荡器。这几种振荡器中,通过调可变电容或调变容管的偏置来完成频率的微调,但使用变容二极管作频率微调的电路如不采取补偿措施,频率漂移较大。

有些测向机采用二次变频,在第二级本地振荡器中采用基频晶振电路。
混频级 大部分为基极注入式的典型电路。
中放级 有的采用共发射极的调谐中放级,有的采用直流级连的晶体管对的调谐放大器,还有使用集成块的中放级及利用10.7MHz陶瓷滤波器来集中选频的阻容放大器。
检波电路 一般都与收音机的二极管检波电路相同,还有少数测向机采用了三极管检波以改善增益,但调节欠妥,有些不稳定。
增益控制电路 综合看来,主要有图5所示的5种形式。(a)只改变一中放的偏置。(b)改变高放级的偏置,图中给了三种改变方式。(c)改变一中放偏置,再从它的发射极取出控制电压去延迟控制高放级。(d)同时短接一、二、三中放级输入线路或同时控制三级中放的偏置。(e)高、中放级的延迟分段控制。

低放电路 有采用两级甲类放大的,有采用乙类推挽放大的,也有采用音响电路中的低放集成块的,如采用集成电路4101、4102、5G31C、SL34等。
一些探讨意见
1.由于隐蔽台的发信方式是采用时分制的,若今后采用频分制即在144~146MHz范围内,以五个不同频率同时发信,那么频率间隔为500KHz。若以目前调频广播接收机对选择性的要求为±200KHz、不小于16dB作参考的话,那么500KHz的频道间隔对测向机的选择性的要求不是苛刻的,就可以采用上面介绍的一次变频式电路。用改进了的电容三点式振荡电路作为本振级,其频率稳定度一般可达10\(^{-4}\)数量级,因此在2米波段,其频率变化的绝对量在±16KHz左右,加上调制信号所占有的频带,整机的中频通带不能窄于±20KHz,否则在接收信号时会产生时有时无的不稳定现象。
这次参加评比的有采用二次变频电路的,第一本振采用了电容三点式振荡电路,一中放的频率为10.7MHz,而二中放采用了收音机的465KHz频率及中频变压器,虽然使用了以10.235MHz的晶体振荡器,但由于中频通带窄,对测向机的影响就很大。而一次变频电路却由于采用了10.7MHz作一中频,中频变压器就利用市售10.7MHz中频变压器,无特殊元件,电路简单,利于推广。
2.以改变高频头的方式来实现2米和80米波段测向机共用,想法虽好,但仍然会遇到上面二次变频电路带来的弊病,而且由于第一中频频率选得过低,当调谐频率范围较宽时,本振辐射频率容易落入竞赛频率范围内,所以一机两用目前还有局限性。
3.有些测向机在使用集成电路时,没有注意阻抗匹配问题,因此,有的输出功率小、音量动态范围变化小,尤其是在近距离测向时,影响了整机测向性能的发挥。当然也不是输出功率越大越好。我们认为,整机输出功率调整后至少应在60~100mW范围。
4.关于增益控制范围从目前评比的电路看,采用一次变频的电路,总的增益为120~130dB比较合适。具体分配到各级是:高放级为10~18dB;混频级为10~18dB;中放级为60~80dB;检波级为-20dB;低放为35~40dB。
增益控制、远近程增益控制对测向机是必需的。不然,近距离时,由于信号过强,会发生阻塞,影响近距离寻找隐蔽台。由于阻塞主要是发生在高放级和中放级,所以增益控制就应设在这些级。这样既然前面有了增益控制,后面的音量控制就不必再调了,简化了运动员的操作手续。当然这里应当注意的是,以远、近程控制高放级时,将使高放级的输入阻抗与天线回路失配,从而对整机的方向性有影响。
5.输入回路与天线的匹配是决定方向性的重要一环。为了减少整机的噪声及运动员听觉的疲劳,在输入回路中使用了通带滤波器,以限制带外噪声,提高信噪比。由于2米波段测向的信号源的调幅度为100%的调幅脉冲,信噪比在6dB时已能分辨出信号,一般达到20dB就可以了。
为了便于考核测试整机与天线的性能,希望天线与输入回路的连接最好采用同轴插头。
6.从整体设计上看,为了减轻运动员的负重,电源电压建议在6~9伏,屏蔽外壳可用合金铝材料。
7.有的测向机还装上了近距离指示,想法是好的。但由于各隐蔽台发射功率不同,使用时很难保证指示器在什么距离上开始指示,为了简化电路也可不用。(全国2米波段测向机评委会 供稿)