本文介绍一种固体功能模块式石英晶体数字钟(以下简称数字钟)。整机电路由CMOS-LED光电组合器件构成,采用32768赫晶体振荡作为频标信号。功耗低、亮度高、装置简便、走时精确,可以作为时间显示及电子设备中控制装置用。图1所示为其逻辑框图,由三个基本部分组成:(1)石英晶体振荡器,产生一个作为时间标准的电信号;(2)计时显示电路,将时间标准信号的频率进行变换,并驱动LED(发光二极管)数码管显示出相应的数字;(3)校时控制电路,校对时间用。

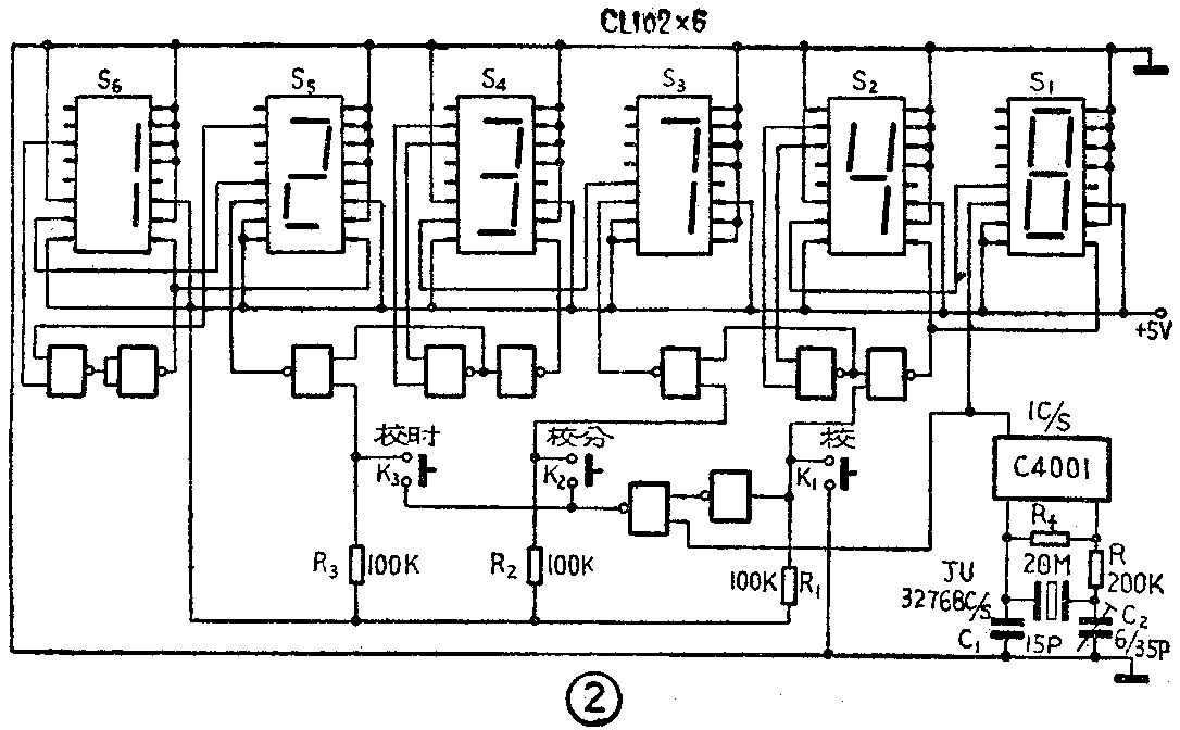
图2所示为数字钟实际电路,六块CMOS-LED光电组合件CL102十进计数显示器用作面板上的时、分、秒时间显示,三块CMOS2输入端四与非门电路C036组成信号控制电路,由一块C4001时标信号电路和一块晶体产生1秒时标信号。通过校时按钮K\(_{1}\)~K3的控制作用可对数字钟进行时间校准。可以看到,由于用了CL102电路,整个数字钟的电路结构变得很简单。

电路分析
(1)1秒时标信号电路。
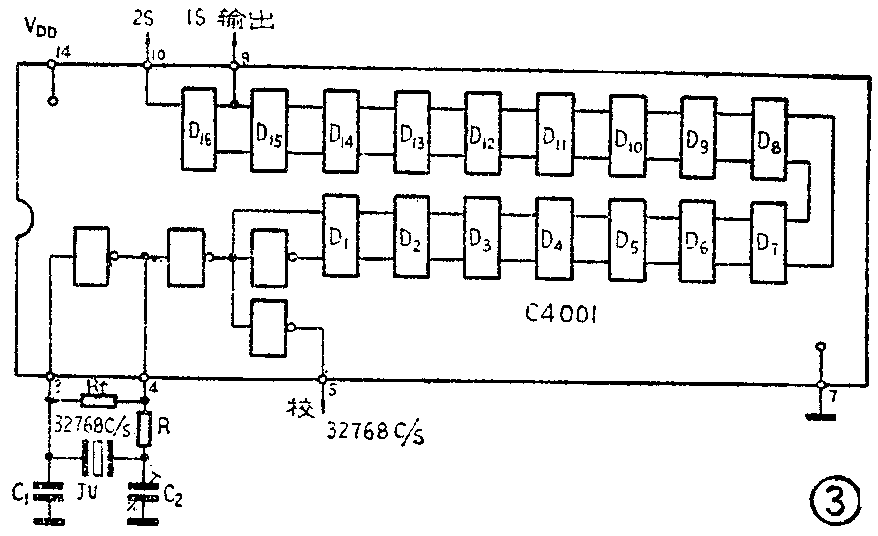
数字钟的计时精度主要取决于时间标准的电信号频率精度及稳定度,因此,本数字钟电路采用石英晶体振荡器产生时标信号。由石英晶体振荡器、整形电路及分频电路构成的1秒时标信号电路,见图3所示。全部功能由单片CMOS集成电路C4001和外接石英晶体、电阻、电容等完成。图3中JU即为外接石英晶体,它在电路中相当于一个电感,晶振频率为32768赫。C\(_{1}\)容量一般取10~20pF。电容C2采用6~35pF微调电容器,可以对振荡器的振荡频率进行微调。

R\(_{f}\)为振荡器偏置电阻,它的作用是使振荡倒相器工作在高增益区,但又不能使谐振回路引入明显的损耗,通常Rf取10~50MΩ。电路中R是考虑到使石英晶体不超功耗使用和提高频率稳定度而设的,其数值通常是通过实验来确定,当振荡器工作电压为5V时,R值取200KΩ左右。
图3中,由石英晶体振荡器产生的32768赫频标信号,经过整形后送入D\(_{1}\)进行二分频,得到16384赫的时钟信号。D1输出的16384赫时钟信号再送入D\(_{2}\)进行二分频,得到8192赫的时钟信号。逐级依此类推,经过15级二分频后,从D15(C4001的第9脚)输出一个稳定的1秒时间标准的电信号作为数字钟的时标信号。
(2)时、分、秒显示电路。
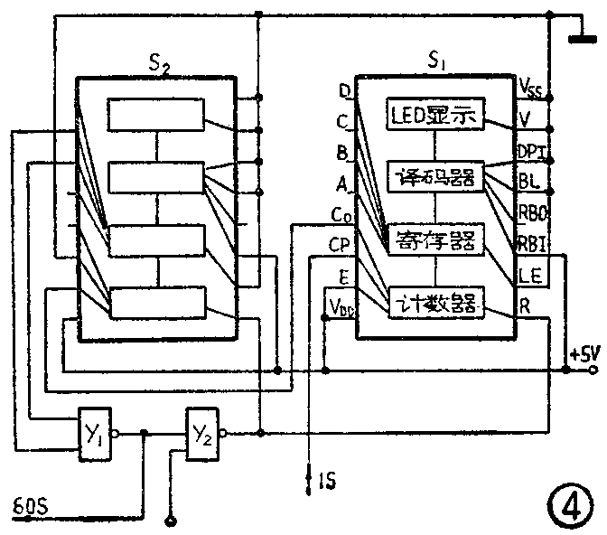
秒、分、小时显示电路是数字钟的核心部分。图2所示电路中,六块CL102十进计数显示器S\(_{1}\)、S2、S\(_{3}\)、S4、S\(_{5}\)、S6分别完成秒个位、十位,分个位、十位以及小时个位、十位的计时显示功能。图4示出了由S\(_{1}\)和S2组成的六十进秒计时显示单元电路。S\(_{1}\)担任秒个位计数显示,它的管脚引线连接方式,使它能进行十进计数(即逢十进一)。S2担任秒十位计数显示,它和外接的与非门Y\(_{1}\)、Y2一起,连成六进计数方式(即逢六进一)。其工作过程简述如下:

来自时标信号电路的1秒时标信号,从前沿计数输入端CP送入S\(_{1}\),进行秒个位的十进计时,计时信号经过寄存器输入七段笔划译码器进行笔划译码,驱动LED实现秒个位的数码显示。S1的A、B、C、D为秒个位信号输出端,它输出一组与显示数码相对应的BCD(二——十进制)码。S\(_{1}\)的V、DPI、BL、LE、E以及RBI等引出端(其功能在元器件选用节中讲述)的输入电位,是为保证计数显示器正常工作而设置,如改变这种设置状态,将会改变其功能状态。S1的C\(_{0}\)为10秒进位信号输出端,它发出一个后沿脉冲信号,因此必须与S2的后沿计数输入端E相匹配进行秒十位的六进计时。同样,S\(_{2}\)计数器的秒十位计时信号也经过寄存器输入七段笔划译码器,并驱动LED而实现秒十位的数码显示。反馈控制门Y1及Y\(_{2}\)是为实现秒十位的六进计时显示而设置,并由此输出分(60秒)进位信号。S2的A、B、C、D端同样也输出一组秒十位数的BCD码信号。
分六十进计时显示电路及小时二十四进计时显示电路的工作原理与秒计时显示电路相似。同样,由S\(_{3}\)~S6的A、B、C、D端输出一组实时控制信号(BCD码原码)。
(3)校时控制。
当开始使用数字钟时,如果数字钟的显示与实际时间不相符,必须予以校准。校时信号控制电路分别由三组CMOS与非门电路完成。
校准时,将按钮开关K\(_{1}\)、K3同时按下就可校准“小时”显示状态;将K\(_{1}\)、K2同时按下以校准“分”显示状态;最后,再单独按下K\(_{1}\)进行“秒”显示的零位校准,以保证数字钟与标准时间同步。秒显示置零按钮K1的另一作用则是作为K\(_{2}\)和K3的保护键,以免使用数字钟时由于无意的动作,触动K\(_{2}\)或K3而引起数字钟的失误。因此,只有当同时按下K\(_{1}\)、K2或K\(_{1}\)、K3时,才能变动分和小时的显示状态,这样就大大减少了数字钟失误的机率。
元器件选用
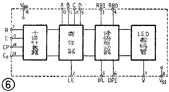
本数字钟采用的CL102十进计数显示器是一种新颖的CMOS-LED光电组合器件,它能完成计数—寄存—译码驱动—LED数码显示等多种功能,对输入的时钟脉冲信号进行相应的数码显示,并具有闩锁、消隐以及BCD码信息输出等多种功能。显示字形尺寸为7.6×12.6(mm),外形尺寸为15×22×11.6(mm)。组合件采用双列直插式塑料封装,外引线数为16。CL102的管脚排列、外形尺寸及功能表见图5。图6所示为CL102十进计数显示器的逻辑结构框图。图中:R—计数显示器置零端;E—计数显示器脉冲信号输入端(后沿作用);CP—计数显示器脉冲信号输入端(前沿作用);C\(_{0}\)—计数器十进位输出端(后沿);LE—寄存器闩锁控制端;DPI—小数点消隐控制端;RBI—多位数字中无效零值消隐控制端;RBO—无效零值消隐控制信号输出端,用于控制下位数字的无效零值消隐;VDD—电源正极(+5V);V\(_{SS}\)—电源负极;V—LED数码管公共负极,用于调整数码管工作电流及显示亮度;A、B、C、D—BCD码信息输出端,用于数据记录及处理。


安装调试
图7所示为数字钟双面印刷电路板的正、反两面,装置时只需将各元器件按址焊接在电路板上对应的位置,将CL102插入插座中。安装完毕就可通电调试,电源电压+5V。

通电后,数字钟就能进行正常校对、走时,并可观察到亮度适中的显示数码跳变。此时测量全机工作电流应为150~200mA。
如果发现数码管显示太亮(全机工作电流太大),可在电源中串接一小电阻,或者适当调节数字钟实际工作电压,使全机工作电流及显示亮度调整至适当值。
数字钟频标信号的调整,可采用标准频率计测量C4001校测点(第5脚)的频率,同时微调C\(_{2}\)容量使校测点频率读数为32768赫。
几点说明
1.由于本数字钟采用CMOS电路,耗电不多,对电源质量需求不高,可以用一般整流电源供电,亦可用四节干电池或电子设备中引出的电源供电。
2.数字钟时、分、秒之间的标点显示,可用时、分个位的小数点显示表示,也可采用半导体发光二极管BT204作为光点显示,如图8所示。串联电阻R为BT204的限流电阻,当电源电压为+5V时,R阻值取150Ω左右。(苏州半导体总厂 陶增华)
