本刊1982年第9期及第11期,曾较细致地分析了扩音机由于接线不合理带来的交流声及外磁场干扰引起的交流声,本文继续讲一讲整流电路引起的交流声。
我们知道,一般晶体管高传真扩音机都采用交流整流电源供电。交流市电电压经过变压器变压及整流、滤波以后,输出直流电压中还会多少残留一些交流纹波电压,在给扩音机供电时,这些纹波电压也会如图1所示通过各偏置电路加到晶体管基极,如果经过多级放大,交流声就会很严重。

在晶体管电视机中,一般都采用晶体管稳压电源供电,输出直流电压中交流纹波电压很小,仅有2~5毫伏左右,影响不大。但在扩音机中,特别是业余自制晶体管高传真扩音机时,往往不采用稳压电源供电,而是仅采用大电容滤波措施,这种电路结构简单,价钱也较便宜,但纹波电压值比采用稳压电源时大许多。例如,滤波电容选用2000微法时,在静态下的纹波电压可达40毫伏左右。在动态情况下,如果输出功率为10瓦,纹波电压竟能达420毫伏!这么大的数值,在业余制作扩音机时就不能不考虑其影响了。
抑制纹波电压的几点办法
1.在有条件的情况下,可采用稳压电源给扩音机供电,对于抑制电源纹波电压会非常有效。
2.扩音机的前置级电源均加上RC退耦滤波网络,对于抑制纹波电压引起的交流声非常有效。我们知道,扩音机的前置级工作电流较小,在电源回路中即使串入几千欧阻值的滤波电阻,在电阻上的压降也不会太大。但应注意,在工作电流较大的功率放大级中,不能采用RC滤波形式,否则滤波电阻上压降太大,会使输出功率降低。
3.电源滤波大电解电容器的容量取大一些,滤除交流纹波电压的效果较好。一般可选取1000~2000微法。容量太大时体积太大,也不经济,所以应两者兼顾。实际上,滤波电容器容量可根据扩音机的输出功率大小选取。扩音机输出功率大时,滤波电容选大些;输出功率小时,电容值可选小些。根据实际经验,滤波电容可按每100毫安选100微法的比例来选定。如已知扩音机输出功率为7瓦,平均消耗电流为450毫安,则滤波大电容容量可选500微法。
4.按上述原则选择滤波电容,优点是较经济,满足了电路的一般要求。缺点是纹波电压滤除不干净,还是偏大。实际使用时,可在电路上采取如下一些措施,以进一步减少纹波电压干扰:
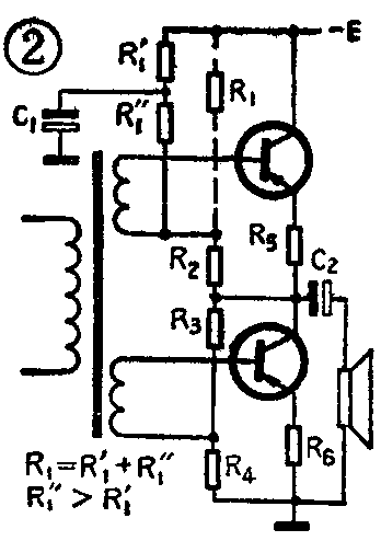
①对于用变压器倒相的OTL电路,可如图2所示将功放级的上偏置电阻R\(_{1}\)分成两个电阻R'1、R″\(_{1}\),在这两个电阻的中间一点对地加一个电容器C1,构成RC退耦滤波器。这样做对输出功率影响不大,但可抑制6分贝的交流哼声。


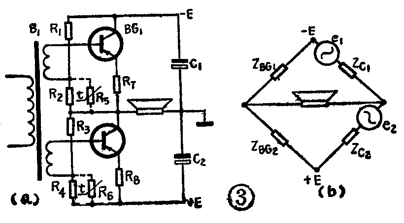
②对于如图3所示的变压器倒相的OCL电路,由于R\(_{2}\)、R4阻值很小,所以无法采用图2所示的办法,但这种电路在静态时可等效成如图3(b)所示的一个桥路。图中Z\(_{BG1}\)、ZBG2分别为晶体管BG\(_{1}\)、BG2c、e结间的阻抗(R\(_{7}\)、R8阻值较小,在分析时忽略其影响),Z\(_{C1}\)、ZC2分别为电容C\(_{1}\)、C2的漏阻。电源的纹波交流电压是通过Z\(_{C1}\)、ZC2传给桥路的。设Z\(_{C1}\)带来的纹波电压为e1,Z\(_{C2}\)带来的纹波电压为e2,它们在某瞬时的电压极性如图3(b)所示,并设e\(_{1}\)与e2的幅值相等,则在电桥平衡时,即Z\(_{BG1}\)+ZC1=Z\(_{BG2}\)+ZC2时,喇叭两端的纹波电压值为零,这时喇叭中没有交流声。
在实际情况下,Z\(_{BG1}\)+ZC1常常不等于Z\(_{BG2}\)+ZC2,这时怎么办呢?根据图3(a)电路可看出,Z\(_{BG2}\)、ZBG2的大小是受各自的偏置电路控制的。所以只要我们适当改变偏置电阻的数值,总能使电桥达到平衡,从而消除纹波电压对功放级的影响。
具体调试方法是:因为改变R\(_{1}\)、R3的阻值时对末级静态电流的控制过于敏感,不好控制,所以可在R\(_{2}\)、R4两端如图3(a)虚线所示分别各并联上一个热敏电阻。调试时可用电烙铁分别靠近R\(_{5}\)、R6,同时细心听喇叭中交流声的变化情况。若烙铁靠近R\(_{5}\)时交流声变小,说明原R2取值偏大,这时可在R\(_{2}\)两端再并联上一个电阻试试,直到交流声最小,试听满意为止;同样,如果用通电后的电烙铁靠近R6,交流声变小,则应适当减小R\(_{4}\)阻值。由于热敏电阻R5、R\(_{6}\)阻值离散性较大,所以R2、R\(_{4}\)应取值小一点,并令R2=R\(_{4}\)《R5=R\(_{6}\)。这样,当逐步减小其阻值时,工作点也不会明显变化。应注意的是,在焊接热敏电阻周围元件以后,应冷却一会,待热敏电阻恢复正常值后再试验。
三种交流声的区别方法
我们曾经分别讲到了接线不合理、外部电磁场干扰及电源滤波不良引起的三种形式的交流声,在检修时,如果能尽快地区别开三种交流声,将会少走许多弯路。下面就讲几种方法:
三种形式的交流哼声不仅有共同点,即听起来都是一种低频啸叫声,而且也有区别处。比如,当我们用示波器去观察并测试交流声的频率时,会发现交流声的频率是不一样的。一般说来,凡是频率不是50赫的低频交流声,都是由于滤波电解电容失效或有关接地线不合理而引起的;凡是频率为50赫的交流声,一般是因电源部分的整流管有一只失效或者是外部电磁场干扰引起的。
如果没有示波器等仪器,在业余条件下,可先拿一只容量为数十微法的电解电容器,从扩音机功率放大级、前置级、音调控制级及输入级几个部分的输入端依次对地交流短路,则可以较快地缩小检查范围。例如,用数十微法的电解电容接在功率放大级的输入端与地之间,将交流信号对地短路,如果交流哼声消失,则说明原交流声来源于功率放大级前面的几级,功放级没有问题;如果仍然有交流声,则是功放级有问题,设法消除即可。
第二步是拿一只数百微法的电容与滤波电容相并联,若交流声减小,则是原滤波电解电容质量不好所致;若交流哼声增大,则是由于电路接地点不合理所引起。这是由于并联上一个电解电容后,滤波电容总容量增加,电源输出电压会提高,整机消耗电流会增加,信号电流在地线电阻上的压降也增加,如果线路接地不合理,就会造成一些不需要的正反馈,使交流声增大;如果并联上数百微法的电解电容后对原交流声影响不大,则原交流声是由于外磁场干扰引起的,应检查电路的有关屏蔽措施是否良好。(韩任之)