装修电视机时,往往需要测试一下视放、行输出级管子的BV\(_{ceo}\)、BVCBO等反向击穿电压,以便决定这些管子能否用于反向电压较高的场合。为了业余测试方便,我们用发光二极管作显示,制作了晶体管耐压测试器。该测试器用四节二号电池供电,测试电压范围为0~600伏,根据需要还可以把测试电压提高到600伏以上。用它可以判断管子穿透电流是否太大,或管子本身已被击穿;测试一般整流二极管、稳压二极管的反向击穿电压和稳定电压。
电路介绍
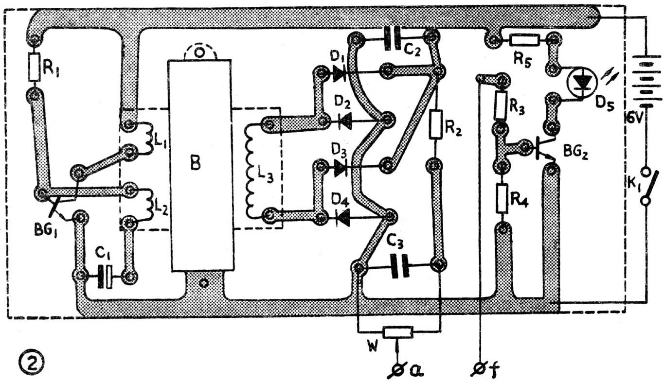
测试器电路见图1。晶体管BG\(_{1}\)、脉冲变压器B、电容C1、电阻R\(_{1}\)等组成直流变换器,将6伏直流电变换为高频高压的交流电流,经D1~D\(_{4}\)桥式整流及滤波后取得600伏左右的直流电压,供测试用。

将待测硅管的集电极接于图1中的a点,发射极接于f点。由于被测管的集电极、发射极串接在R\(_{3}\)、R4、W组成的电路中,所以电阻R\(_{4}\)上的压降UR4=U\(_{BE2}\)=IC测·R\(_{4}\)。当调W,使a点电压从0伏开始逐渐增高。一般来说。当硅管的外加反向电压在BVceo以内时,I\(_{c}\)很小,R4上的压降很小,当小于0.6伏左右时,BG\(_{2}\)不导通,发光二极管不亮;当继续调整W时,a点电位升高,当Ua逐渐接近B\(_{Vceo}\)时,待测管的集电极电流Ic增加,R\(_{4}\)上压降增加,当Ic增加到0.1mA时,U\(_{BE2}\)=IC测·R\(_{4}\)=0.1×6.2=0.62伏,这时BG2开始导通,发光二极管开始发光。如果在电位器度盘上事先就刻上了电压值,则在发光二极管刚开始发光时所指示的电压即为被测管的BV\(_{ceo}\)。如果待测管的穿透电流太大,如大于0.1mA时(或管子本身已击穿),则当电位器旋动时,阻值从最小值开始上升,R4上的电流就会大于0.1mA,而使BG\(_{2}\)导通,发光二极管就会发光,说明被测管已不能用了。
如还要准确一点,可用万用表直流电压档“+”接a点,“-”接f点,一面调整电位器W,一面观察发光二极管,当D\(_{5}\)刚发光时电表所指示的电压即为BVceo。这时还可以慢慢升高电压,如W变化很小,发光二极管一下子就达到最亮,说明击穿曲线很陡;若测试中,发光二极管随着W有了很大变化才从初亮到最亮,说明所测管的击穿曲线较平坦。
由于电压升高被测管击穿后,I\(_{c}\)很快增大,当增大到1mA以上时,G点电压下降,变压器B的次级负载加重,BG1便很快会停振。所以在整个测试过程中不用担心由于电压的升高使被测管损坏。
安装与调试
晶体管BG\(_{1}\)可以用3DG12中功率硅管,只要β大于30、Iceo较小即可。变压器B用MXO-2000、E12型磁心,若用一般截面积为1.5×2.0cm\(^{2}\)的硅钢片作铁心,增大C\(_{1}\)的容量也可以。L1用φ0.51mm高强度漆包线绕40圈;L\(_{2}\)用φ0.21mm的漆包线绕20圈;L3用φ0.21mm的漆包线绕720圈。可先绕L\(_{1}\),再绕L2、L\(_{3}\)。L1与L\(_{2}\)绕制时应注意同名端的连接,如图1所示,否则电路不起振。L1与L\(_{2}\)之间用两层聚酯薄膜绝缘,L2与L\(_{3}\)之间用三层聚酯薄膜绝缘,L1、L\(_{2}\)、L3每组每层之间用一层聚酯薄膜绝缘。绕L\(_{3}\)时,边沿应留出5mm的地方不绕线,并注意L3引出线的位置,不要离L\(_{1}\)、L2太近,以免跳火。
二极管D\(_{1}\)~D4用反压大于700伏的二极管。C\(_{1}\)的漏电要小,C2的耐压应大于750伏,C\(_{3}\)耐压应大于600伏,电位器用线绕的。
印刷电路板见图2。

电路装配完后,检查无误,将万用表置于直流500mA档,串接到电源的正端,测电路总电流应小于100mA,调电阻R\(_{1}\),使总电流为60~80mA。如不起振,可将L2的两引出头交换一下即可。起振后,从变压器处能听到有轻微的高频叫声,测试G点电压约为600伏。若电压偏低,可适当地减小R\(_{1}\),或者调整G1的容值;若G点电压高于600伏,没什么关系。然后调整W,使a点的电压应在0~600伏之间线性变化而无跳跃、间断现象,否则W有毛病。然后将W旋到最小,用万用表500伏直流电压档测试a点电压约为0伏。接上被测管,并注意极性将集电极接a点,发射极接f点,逐渐增大电位器,观察发光二极管,当它刚发光时,测得的电压就是BV\(_{ceo}\)。可以多找几只BVceo不同的管子,将所得的BV\(_{ceo}\)值刻在电位器W的刻度盘上,在以后的测试中,就可以根据电位器的指针位置直接读出BVceo了。
如果测管子的BV\(_{CBO}\),可将a点接集电极,f点接基极;若测稳压管或二极管,a点接管子的负极,f点接管子的正极。
若测的是锗管的BV\(_{ceo}\)、BVCBO,则f点接集电极,a点接发射极。
如被测管的I\(_{ceo}\)太大,或者管子本身已被击穿,W稍旋转一点,发光二极管就发光,证明被测管已坏。(唐宗理)