(一)天线符号:天线的符号如图1a所示,并用字母TX表示。常用的天线有室外的倒L形天线,如图1b所示;还有装在收音机上的拉杆天线,如图1c;以及室内拖线,如图1d所示。哪种收音机需要用什么天线这从电路符号上是看不出来的,要根据收音机的具体情况来定。比如无电源的二级管收音机或只有一只三极管的收音机,一般都要用室外的倒L型天线;电子管收音机一般都采用拖尾天线,带短波的收音机一般用拉杆天线比较合适。

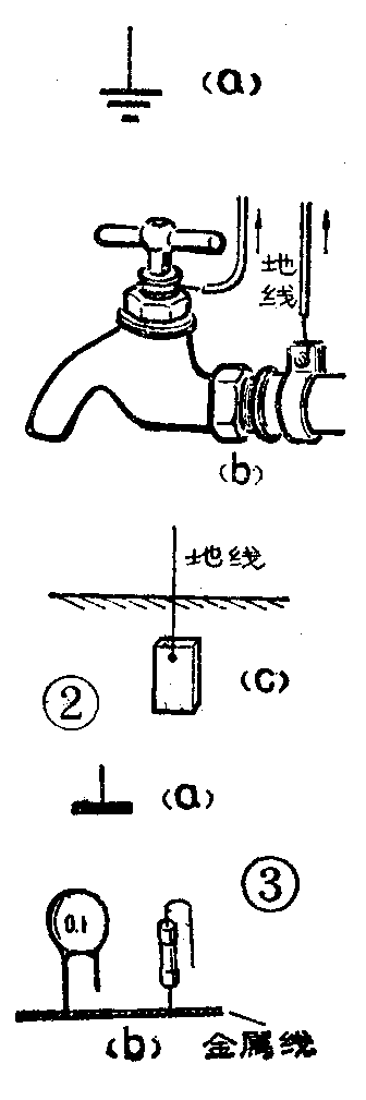
(二)地线和接机壳符号:地线是和大地接触良好的一条引线,它的代表符号见图2a。地线可利用水管、暖气管等引出一条线代替,如图2b所示。地线还可以用金属块(或金属条)埋在潮湿的泥土中,然后用一条电线引出即可,如图2c所示。

一般电子管或晶体管收音机都用不着接地线,只有无电源收音机才需要接地线。另外一些民用电器为了使用安全也要接地线。
图3a为接机壳的符号,也叫接地符号。电路图中凡是画接机壳符号的元器件的引线,都要用一条导线把它们连起来。也可焊在一条公用的金属丝或金属外壳上。例如,在电路图中,一个电阻和一个电容的一端分别画有接机壳的符号,那就要把这两个元件的接机壳一端焊在一起,如图3(b)所示。接机壳还表示各点电压的参考点(基准点)。如某个放大电路中在一个三极管的基极旁标上1.2伏,集电极旁标上8伏,发射极旁标上0.6伏,这些电压数值都是对接机壳而言的电压数,也就是这些点与机壳之间的电压值。

(三)电池符号:电池用图4a符号表示,并用字母E表示。电池符号中,短而粗的线表示电池的负极,稍长、细的一段线表示电池的正极。两节或三节电池串联使用时,可用两个或三个电池符号串在一起的电池组符号来表示。图4b为四节电池串联使用的电池组符号。如果有更多电池串联使用,可用图4c符号表示。

(四)熔断器(俗称保险丝)符号:图5a是熔断器的符号,图5b是熔断器的外形。熔断器的作用是防止收音机或电视机等用电器因短路故障而烧坏机器。当机器负荷超过额定数值时,电流大到一定数值,熔断器即烧断,这样就切断了机器的电源。在熔断器符号旁边往往注明多少安培的字样,这就是熔断器的规格。实际使用时,不能随便使用安培数大的保险丝。否则起不到保险作用。

(五)指示灯符号:指示灯的符号如图6a所示,并用字母ZD表示。指示灯的外形如图6b所示。指示灯装在机器里可以告诉我们机器是否在工作。选用指示灯时,要选工作电压数值比电路中实际电压数略高些,这样指示灯就可以长期使用而不损坏。

(六)继电器和讯响器(蜂鸣器)符号:图7a为继电器的符号,图7b为继电器的实物。继电器的工作原理是当线圈中通过规定的电流时,继电器的接点动作,即吸合或释放,利用接点可以接通某个电路,或切断某个电路。图8a为讯响器的符号,图8b所示实物为讯响器中的一种。讯响器的工作原理是当有电流通过线圈时,它就发出响声。



(七)表头符号:图9a为表头的符号,图9b为表头的实物。表头符号中在圆圈内写了一个A字就表示是安培表,如把A换成V就表示电压表。(沈征)